• 首页

  • 方案库

  • 工业品库

  • 招标项目库

  • 专家库

  • 人才库

会员中心
搜索
登录
注册
  • 方案名称

解决方案

数字化转型通用方案行业方案安全方案大数据人工智能物联网行业展望自动控制其他

产品|技术

白皮书产品介绍技术介绍技术创新模型算法

政策|规范

政策规范行动计划

电子书

电子书课件

报告|论文

报告模板论文
  • 全部
  • 人气排行
  • 下载排行
  • 页数排行
  • 最新排行

医学人工智能联盟

医学人工智能联盟负责项目初筛;医促会组建专项基金委员会负责受理项目申请、进行项目管理、组织评审。医学人工智能专项奖,对基金资助培育的优秀成果进行评审和进一步的扶持鼓励。

  • 2021-04-30
  • 阅读229
  • 下载0
  • 18页
  • pdf

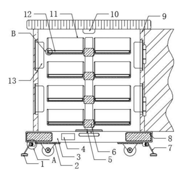
一种软件技术开发用具有除湿功能的档案柜

本实用新型公开了一种软件技术开发用具有除湿功能的档案柜,包括底板,所述底板底端四角处均固定设置有万向轮,所述底板顶端固定设置有放置柜,所述放置柜内部底端中部固定设置有固定杆,所述固定杆外部固定设置有若干安装套,所述安装套两侧均固定设置有放置框,所述放置柜内部顶端中部固定设置有湿度传感器。本实用新型在放置柜内部顶端安装有湿度传感器,且放置柜内部两侧上端、下端均固定安装有加热器,且档案在放置的过程中当放置柜内部的湿度达到湿度传感器的预定数值时,则就会通过控制开关启动加热器,并通过加热器对放置柜内部进行加热,当放置柜内部的湿度降低到相对数值时就会通过湿度传感器触发控制开关把加热器关闭即可。

  • 2021-05-07
  • 阅读182
  • 下载0
  • 7页
  • pdf

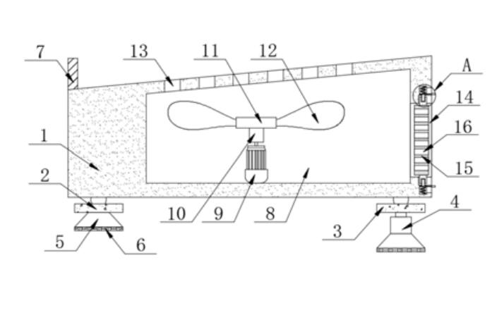
一种软件技术开发用笔记本支撑底座

本实用新型公开了一种软件技术开发用笔记本支撑底座,包括底座主体,所述底座主体的下表面设置有支撑机构,所述底座主体的中部开设有散热腔,所述散热腔的内部设置有散热机构,所述底座主体上表面的中部贯穿设有散热孔,所述底座主体的右侧面贯穿设有安装孔。本实用新型通过设置伺服电机、转动杆、转动块、扇叶和散热孔,使得伺服电机通过转动杆带动转动块转动,从而带动扇叶通过散热孔对底座主体上表面的笔记本底部进行散热,有效的防止了笔记本因温度过高造成损坏,还通过设置安装孔、活动板和通风孔,使得活动板可以通过通风孔进行散热的同时对灰尘进行阻隔,防止灰尘进入散热腔内部,从而使得扇叶的散热效果更好。

  • 2021-05-07
  • 阅读165
  • 下载0
  • 7页
  • pdf

一种基于插件技术的航天测发控软件平台

一.种基于插件技术的航天测发控软件平台,包括平台内核、配置管理模块、插件管理模块、插件库。平台内核定义软件的集成方式、通讯接口以及软件主窗体与弹出窗体的布局风格,用于控制配置管理模块和插件管理模块工作;配置管理模块提供统--配置管理接口,在平台内核的控制下实现所有功能插件的参数装订;插件管理模块在平台内核的控制下实现插件的加载、注册、初始化以及卸载;插件库包括实现测发控各种业务逻辑功能的插件。本发明实现了软件功能的插件式开发与维护,解决了测发控类软件功能重叠带来重复工作、需求变更致使软件大幅修改等问题。

  • 2021-05-07
  • 阅读177
  • 下载0
  • 10页
  • pdf

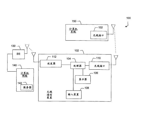
用于向计算机系统提供软件补丁的技术

用于向相关的计算机系统提供软件补丁的技术,包括在无线通信装置端接收通信。然后在无线通信装置端确定该通信是否与可用于相关的计算机系统的软件补丁相关联。当通信 与软件补丁相关联时,从无线通信装置向软件补丁可用的相关联的计算机系统发送通知。

  • 2021-05-07
  • 阅读165
  • 下载0
  • 13页
  • pdf

XSS猎人的捕猎日记

前端:一个xss如何玩出花来,能出一系列20个教程的技术还能有哪些实战场景,一个前端大师如何优雅的狩猎。

  • 2021-05-07
  • 阅读192
  • 下载0
  • 53页
  • pdf

至简 Service Mesh 的实践及落地风险控制

? 将服务发现、服务路由等能力下沉至mesh,对RPC框架做瘦身 ? 借mesh化的机会去除通过Groovy脚本定制路由的能力 ? 构建云原生的mesh运维与管控体系,实现mesh的升级与运维对业务无感

  • 2021-05-06
  • 阅读164
  • 下载0
  • 13页
  • pdf

基于混合布谷鸟算法的不确定手术调度模型求解_杨枫

针对应急救援情境下手术调度中存在不确定性因素导致无法获得精确的手术时间和结束期的问题,设计了一种灰色调度模型和求解该问题的混合灰色布谷鸟算法。首先引入三参数和四参数区间灰数来描述不确定手术时间和不确定结束期,并定义了可能性测度和必然性测度,提出了拖期可信度指标用于度量手术发生拖期的概率;然后建立了以最小化手术平均拖期可信度为目标的灰色混合整数规划模型,提出了一种混合灰色布谷鸟算法的求解方法,并以规模为6(3)×3的经典算例为例进行仿真测试。实验表明该算法能很好地解决问题,比基本布谷鸟求解算法有更好的性能

  • 2021-05-06
  • 阅读378
  • 下载0
  • 6页
  • pdf
上一页 1 …… 209210211212213214215216217218219 …… 2878 下一页 共 23017 条


立即登录

没有账户,需要注册

登录用户可享受以下权益
  • 免费下载方案
  • 服币提现
  • 发布方案得服币
  • 交易分成

精品推荐

竞争对手分析

母公司公司的总目标是什么?母公司要求该业务单位做什么?将业务单位的定位是什么(基础业务还是边缘业务)

  • 阅读134
  • 下载0

2025知识图谱与大模型融合实践案例集

随着人工智能的迅猛发展,知识图谱与大模型作为两大核心研究领域,各自彰显出独特的技术优势。知识图谱以结构化方式精准刻画实体关联,为知识表示与推理提供了可解释的框架;大模型则凭借海量数据训练展现出卓越的自然语言理解与生成能力,具备强大的泛化学习性能。

  • 阅读141
  • 下载4

国内重点工业物联网平台四类厂商分类及选型指南

国内重点工业物联网平台四类厂商分类及选型指南

  • 阅读296
  • 下载6

工业物联网平台的典型应用场景深度分析

工业物联网平台发展重点: 一是行业深耕化,从通用型平台向“一米宽、百米深”的行业垂直平台转型,聚焦能源、交通、化工等领域的特定需求,沉淀场景化解决方案与行业Know-how,而非追求“大而全”的覆盖能力。 二是智能融合化,工业大模型与平台深度结合,实现工业知识的智能化重构、应用开发的低代码化升级,以及生产运营的自感知、自决策、自优化闭环管控,AI成为提质增效的核心变量。 三是生态协同化,平台不再是单一技术载体,而是串联产业链上下游的协同中枢,通过跨系统数据融合、产学研用金深度合作,形成“数据-算力-应用”的生态闭环,赋能供应链协同与产业集群升级。 四是部署灵活化,采用“平台化产品+私有化部署”结合的模式,兼顾中小企业轻量化需求与大型集团定制化诉求,支持公有云、私有云、边缘端的混合部署,平衡成本与安全性。

  • 阅读319
  • 下载9

最新上线

全球绿色航运发展报告(2024-2025)

2024年至2025年上半年,国际海事组织批准了MARPOL公约附则VI关于“IM0净零框架”的修正案草案、通过了《2024年船用燃料全生命周期温室气体强度导则》(2024LCA导则)(MEPC.391(81))、批准增设了排放控制区域(ECA)及特别敏感海域(PSSAs)。

  • 阅读4
  • 下载0

全球数字治理蓝皮书(2025年)

当前,国际局势变乱交织,大国竞争愈演愈烈,全球南方加快崛起,新兴技术复杂影响更加突出,全球治理体系面临深刻调整。习近平主席在“上海合作组织+”会议提出“全球治理倡议”,相关概念文件指出,要优先考虑在人工智能、网络空间、外空等治理紧迫性突出、治理赤字较大的领域,以及支持联合国落实《未来契约》等方面加大沟通合作,积极凝聚共识、锁定成果,争取早期收获。

  • 阅读4
  • 下载0

新型电力系统背景下的电力开关技术与装备

研究背景:快速真空开关是发电机断路器、限流器、直流断路器中的核心设备,毫秒级响应要求机 械力在±100kN间大幅快速变化,加速度高达1000g,操动过程涉及电路-磁场-机械-温度等复杂过程!

  • 阅读4
  • 下载0

智能机器人城市空间场景应用指南2026版

为总结与推广“十四五”期间智能机器人在环境清洁、安防巡检、物流配送、康养陪护等领域取得的成效,贯彻实施《“机器人+”应用行动实施方案》,响应《关于深化智慧城市发展、推进城市全域数字化转型的指导意见》《城市数字公共基础设施标准体系》《国务院办公厅关于加快场景培育和开放推动新场景大规模应用的实施意见》,推动将智能机器人系统纳入智慧城市发展框架,明确城市场景对机器人规模化、商业化应用的关键牵引作用,本指南系统梳理了智能机器人在城市空间应用的核心场景、技术要求和实施路径,以期为企业研发、产品选型、系统集成、运营管理及相关标准研制提供参考。

  • 阅读4
  • 下载0
  • 关于我们

    电话:029-8838-6725

  • 新闻资讯

    企业简介 新闻动态 品牌实力 代理合作 诚聘英才 联系我们

  • 中服云

  • 工业互联网风向标

  • 在线咨询

西安/北京/南京/重庆/合肥/厦门/甘肃 地址:陕西省西安市雁塔区鱼跃工业园慧康生物科技产业园7楼 电话: 029-8838-6725

版权所有 @ 中服云 陕ICP备11002812号
  • 扫码咨询

    或

    点击立即咨询
  • 客服咨询

  • 用手机扫二维码

    或

    复制当前地址

  • 问题反馈 中服大讲堂 客服电话

方案库赚钱指南