• 首页

  • 方案库

  • 工业品库

  • 招标项目库

  • 专家库

  • 人才库

会员中心
搜索
登录
注册
  • 方案名称

解决方案

数字化转型通用方案行业方案安全方案大数据人工智能物联网行业展望自动控制其他

产品|技术

白皮书产品介绍技术介绍技术创新模型算法

政策|规范

政策规范行动计划

电子书

电子书课件

报告|论文

报告模板论文
  • 全部
  • 人气排行
  • 下载排行
  • 页数排行
  • 最新排行

《2020网络安全人才发展白皮书》

随着更多院校开设网络安全相关专业,且办学模式不断成熟,在校生的数量和质量均有提升,而各类网络安全法律法规的出台,以及新基建驱动的数字化业务所伴生的网络安全需求,必将促进网络安全人才供给侧结构性改革,推动网络安全人才培养良性发展。

  • 2021-05-07
  • 阅读307
  • 下载0
  • 41页
  • pdf

网约车准入AI产品安全实践

活体安全探索与设计:生物类活体;非生物类活体; 链路安全探索与设计:更细粒度的控制与验证;多维度侦测与打击;

  • 2021-05-06
  • 阅读154
  • 下载0
  • 12页
  • pdf

百度智能云服务型机器人介绍

数据显示,目前,世界上至少有48个国家在发展机器人,其中25个国家已涉足服务型机器人开发。在日本、北美和欧洲,迄今已有7种类型计40余款服务型机器人进入实验和半商业化应用。 近年来,全球服务机器人市场保持较快的增长速度,根据国际机器人联盟的数据,2010年全球专业领域服务机器人销量达13741台,同比增长4%,销售额为320亿美元,同比增长15%;个人/家庭服务机器人销量为220万台,同比增长35%,销售额为5.38亿美元,同比增长39%。 另外一个方面,全球人口的老龄化带来大量的问题,例如对于老龄人的看护,以及医疗的问题,这些问题的解决带来大量的财政负担。由于服务机器人所具有的特点使之能够显著的降低财政负担。因而服务机器人能够被大量的应用。 我国在服务机器人领域的研发与日本、美国等国家相比起步较晚。在国家863计划的支持下,我国在服务机器人研究和产品研发方面已开展了大量工作,并取得了一定的成绩,如哈尔滨工业大学研制的导游机器人、迎宾机 器人、清扫机器人等;华南理工大学研制的机器人护理床;中国科学院自动化研究所研制的智能轮椅等。

  • 2021-05-07
  • 阅读832
  • 下载0
  • 18页
  • pptx

工业大数据:下一个提升制造业生产力的技术前沿

德国“工业4.0”强调通过信息网络与物理生产系统的融合,即建设信息物理融合系统(Cyber-PhysicalSystem,CPS)来改变当前的工业生产与服务模式。美国GE公司倡导的“工业互联网”,则强调通过智能机器间的连接并最终将人机连接,结合软件和大数据分析,来重构全球工业。

  • 2021-05-06
  • 阅读172
  • 下载0
  • 7页
  • docx

基于改进果蝇算法优化的GRNN航空发动机排气温度预测模型_皮骏

利用广义回归神经网络(GRNN)良好的非线性映射能力,对航空发动机排气温度(EGT)进行预测。由于GRNN的预测性能受宽度系数的影响,因此采用改进的果蝇算法优化广义回归神经网络(IFOAGRNN),并用优化后的GRNN对航空发动机的EGT进行预测。以某发动机为案例,选取相关参数作为预测模型的输入变量,EGT作为预测模型的输出变量。在相同的样本分配下,将FOA-GRNN(fruit fly optimization algorithm to optimize GRNN)、GRNN、自回归预测模型和优化的支持向量回归机作为对比算法。分析结果表明:IFOA-GRNN的收敛精度高于FOA-GRNN;IFOA-GRNN对EGT预测的平均相对误差为2.47%、拟合优度为0.850 6,其预测效果均优于其他对比算法;同时,IFOA-GRNN对噪声的敏感性也低于其他对比算法。

  • 2021-05-07
  • 阅读696
  • 下载0
  • 10页
  • pdf

锂离子电池模型参数和荷电状态联合估算算法_刘秭杉

针对电动汽车锂离子电池状态估算问题,提出了一种复合的电池荷电状态(state of charge,SOC)估算算法。在固定参数卡尔曼滤波算法的基础上,引入基于遗忘因子的递推最小二乘法(forgotten factor recursive least square,FFRLS)进行电池模型参数在线辨识;基于在线模型参数,利用无迹卡尔曼滤波算法(unscented Kalman filter,UKF)估算电池SOC,实现电池模型参数和SOC的实时联合估算。采集电池充放电实验数据进行离线仿真,结果表明该算法能较好地跟踪电池工作状态,SOC估算误差基本稳定在3%以内。

  • 2021-05-06
  • 阅读492
  • 下载0
  • 7页
  • pdf

一种软件技术开发用教学吊顶幕

本实用新型公开了一种软件技术开发用教学吊顶幕,包括固定框,所述固定框内部活动设置有转动辊,所述转动辊外部活动缠绕有幕布,所述固定框底端两侧均固定设置有安装块,所述安装块底端均活动设置有导向杆,所述幕布底端穿过固定框固定设置有操作杆。本实用新型在幕布使用的过程中需要进行调节和收集时,通过遥控开关启动伺服电机带动转杆转动,并带动转动辊转动则就会对幕布进行收集并还可以对幕布使用时的面积的进行调节,且安装在固定框底端两侧的导向杆相对一侧均开设有导槽,且安装在幕布底端的操作杆两侧均安装有导块且导块均与导槽滑动连接,这样在幕布使用的过程中可以通过导槽和导块增加幕布进行移动时的稳固性和灵活性。

  • 2021-05-07
  • 阅读184
  • 下载0
  • 7页
  • pdf

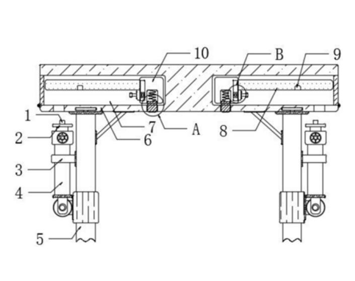
一种软件技术开发用调节工作台

本实用新型公开了一种软件技术开发用调节工作台,包括工作台,所述工作台底端四角处均固定设置有底架,所述工作台外部两侧均开设有放置槽,所述放置槽内部一侧均滑动安装有活动块,两侧所述活动块相反一侧均固定设置有调节台,所述调节台底端左侧前端、后端均开设有卡槽。本实用新型当需要进行调节时依次通过活动块把调节台从放置槽内部拉出去,当拉到相对位置时依次通过滑槽和滑块往上推动调节台并使调节台顶端与工作台顶面对齐,再依次拉动调节伸缩支杆并对调节伸缩支杆进行拉伸并均使安装在活动板顶端的卡块与开设在调节台底端一侧前端、后端的卡槽嵌合对接进行固定支撑,这样的结构既便于进行快速的调节且固定起来更加的便捷。

  • 2021-05-07
  • 阅读227
  • 下载0
  • 7页
  • pdf
上一页 1 …… 212213214215216217218219220221222 …… 2878 下一页 共 23017 条


立即登录

没有账户,需要注册

登录用户可享受以下权益
  • 免费下载方案
  • 服币提现
  • 发布方案得服币
  • 交易分成

精品推荐

竞争对手分析

母公司公司的总目标是什么?母公司要求该业务单位做什么?将业务单位的定位是什么(基础业务还是边缘业务)

  • 阅读134
  • 下载0

2025知识图谱与大模型融合实践案例集

随着人工智能的迅猛发展,知识图谱与大模型作为两大核心研究领域,各自彰显出独特的技术优势。知识图谱以结构化方式精准刻画实体关联,为知识表示与推理提供了可解释的框架;大模型则凭借海量数据训练展现出卓越的自然语言理解与生成能力,具备强大的泛化学习性能。

  • 阅读141
  • 下载4

国内重点工业物联网平台四类厂商分类及选型指南

国内重点工业物联网平台四类厂商分类及选型指南

  • 阅读296
  • 下载6

工业物联网平台的典型应用场景深度分析

工业物联网平台发展重点: 一是行业深耕化,从通用型平台向“一米宽、百米深”的行业垂直平台转型,聚焦能源、交通、化工等领域的特定需求,沉淀场景化解决方案与行业Know-how,而非追求“大而全”的覆盖能力。 二是智能融合化,工业大模型与平台深度结合,实现工业知识的智能化重构、应用开发的低代码化升级,以及生产运营的自感知、自决策、自优化闭环管控,AI成为提质增效的核心变量。 三是生态协同化,平台不再是单一技术载体,而是串联产业链上下游的协同中枢,通过跨系统数据融合、产学研用金深度合作,形成“数据-算力-应用”的生态闭环,赋能供应链协同与产业集群升级。 四是部署灵活化,采用“平台化产品+私有化部署”结合的模式,兼顾中小企业轻量化需求与大型集团定制化诉求,支持公有云、私有云、边缘端的混合部署,平衡成本与安全性。

  • 阅读319
  • 下载9

最新上线

全球绿色航运发展报告(2024-2025)

2024年至2025年上半年,国际海事组织批准了MARPOL公约附则VI关于“IM0净零框架”的修正案草案、通过了《2024年船用燃料全生命周期温室气体强度导则》(2024LCA导则)(MEPC.391(81))、批准增设了排放控制区域(ECA)及特别敏感海域(PSSAs)。

  • 阅读4
  • 下载0

全球数字治理蓝皮书(2025年)

当前,国际局势变乱交织,大国竞争愈演愈烈,全球南方加快崛起,新兴技术复杂影响更加突出,全球治理体系面临深刻调整。习近平主席在“上海合作组织+”会议提出“全球治理倡议”,相关概念文件指出,要优先考虑在人工智能、网络空间、外空等治理紧迫性突出、治理赤字较大的领域,以及支持联合国落实《未来契约》等方面加大沟通合作,积极凝聚共识、锁定成果,争取早期收获。

  • 阅读4
  • 下载0

新型电力系统背景下的电力开关技术与装备

研究背景:快速真空开关是发电机断路器、限流器、直流断路器中的核心设备,毫秒级响应要求机 械力在±100kN间大幅快速变化,加速度高达1000g,操动过程涉及电路-磁场-机械-温度等复杂过程!

  • 阅读4
  • 下载0

智能机器人城市空间场景应用指南2026版

为总结与推广“十四五”期间智能机器人在环境清洁、安防巡检、物流配送、康养陪护等领域取得的成效,贯彻实施《“机器人+”应用行动实施方案》,响应《关于深化智慧城市发展、推进城市全域数字化转型的指导意见》《城市数字公共基础设施标准体系》《国务院办公厅关于加快场景培育和开放推动新场景大规模应用的实施意见》,推动将智能机器人系统纳入智慧城市发展框架,明确城市场景对机器人规模化、商业化应用的关键牵引作用,本指南系统梳理了智能机器人在城市空间应用的核心场景、技术要求和实施路径,以期为企业研发、产品选型、系统集成、运营管理及相关标准研制提供参考。

  • 阅读4
  • 下载0
  • 关于我们

    电话:029-8838-6725

  • 新闻资讯

    企业简介 新闻动态 品牌实力 代理合作 诚聘英才 联系我们

  • 中服云

  • 工业互联网风向标

  • 在线咨询

西安/北京/南京/重庆/合肥/厦门/甘肃 地址:陕西省西安市雁塔区鱼跃工业园慧康生物科技产业园7楼 电话: 029-8838-6725

版权所有 @ 中服云 陕ICP备11002812号
  • 扫码咨询

    或

    点击立即咨询
  • 客服咨询

  • 用手机扫二维码

    或

    复制当前地址

  • 问题反馈 中服大讲堂 客服电话

方案库赚钱指南