• 首页

  • 方案库

  • 工业品库

  • 招标项目库

  • 专家库

  • 人才库

会员中心
搜索
登录
注册
  • 方案名称

解决方案

数字化转型通用方案行业方案安全方案大数据人工智能物联网行业展望自动控制其他

产品|技术

白皮书产品介绍技术介绍技术创新模型算法

政策|规范

政策规范行动计划

电子书

电子书课件

报告|论文

报告模板论文
  • 全部
  • 人气排行
  • 下载排行
  • 页数排行
  • 最新排行

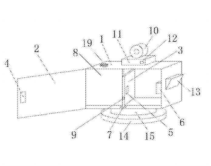
一种软件技术开发用展示幕

本实用新型公开了一种软件技术开发用展示幕,包括固定底板,所述固定底板顶端中部开设有转槽,所述转槽内部活动设置有转盘,所述转盘顶端固定设置有固定杆,所述固定杆外部右侧开设有安装槽,所述安装槽内部固定设置有蓄电池。本实用新型固定底板顶端通过转槽和转块安装有固定杆,且固定杆通过铰链安装有安装杆,且安装在安装杆左侧中部的安装块底端与开设在固定杆左侧上端的凹口之间安装有电动伸缩杆,当根据使用时的角度进行调节时先通过转盘和转槽带动固定杆、安装杆和展示幕板进行水平上角度上的调节,当调节完成后再通过开关启动电动伸缩杆带动安装杆进行纵向角度上的调节,这样综合的使用便于对展示幕板各个角度进行调节且更加便捷。

  • 2021-05-07
  • 阅读165
  • 下载0
  • 8页
  • pdf

零信任—大数据时代的网络安全新架构

零信任安全的优势: ? 这种以数据为中心的安全模型,消除了受信任或不受信任的网络、设备、角色或进程的概念,并转变为基于多属性的信任级别,使身份验证和授权策略在最小特权访问概念下得以实现。 ? 实现零信任,需要重新思考我们如何利用现有的基础设施,以更简单、更高效的方式设计安全性,同时实现不受阻碍的操作。 ? 除了总体上保护架构的优势外,还有其他跨功能的好处

  • 2021-05-07
  • 阅读165
  • 下载0
  • 37页
  • pdf

软件技术资料的文件保险柜

本发明公开了一种软件技术资料的文件保险柜,柜体的前端设置为敞口,柜门的一边铰接于柜体位于敞口--侧的边缘;柜体上位于容纳腔内设置有隔板,隔板与柜体的内顶部之间形成有间隙,隔板的底部活动且能够锁定地设置于柜体的底面上;柜体的一个侧面固接有隐私板,隐私板的一个边紧靠隔板;柜体的外顶面上自,上而下顺次设置有摄像头和存储设备,摄像头电连接于存储设备;存储设备上固接有用于控制摄像头和存储设备启停的声控开关,柜体的外侧面上设置有透明的标签盒;柜体的外底部固接有活动盘;柜体的外表面安装有断电报警器。该文件保险柜能够加强文件的保密性,便于活动取文件,还可以防盗报警

  • 2021-05-07
  • 阅读185
  • 下载0
  • 10页
  • pdf

基于多线程技术实现软件智能化自动升级的系统及方法

本发明提供了一种基于多线程技术实现软件智能化自动升级的系统及方法,通过主线程监听系统端口;通过连接处理线程从主线程轮循接收来自服务中心的通信连接,处理数据并将作业对象写入内部队列结构;通过任务工作线程处理内部队列结构中的作业对象,进行作业类型分离后,分派给线程池内的工作线程处理;通过版本升级线程定期访问服务中心,在通过服务中心的审核后下载升级文件并进行自动升级操作;通过线程池增加或停用工作线程,执行任务工作线程分派的作业。本发明通过多线程技术采用远程过程调用进行数据传送方式极大提高了软件的整体运行效率,在客户机-服务器模式下实现了智能化自动升级,同时有效提高了升级工作的灵活性、简易性。

  • 2021-05-07
  • 阅读183
  • 下载0
  • 12页
  • pdf

PCB制造业的智慧转型

智能制造是一种面向自动化、高集成化、高标准化的制造模式,是自动化发展的必然方向。站在一个全新的历史起点上,PCB产业提出了“智慧工厂”的新概念和新标杆。通过实现高度的自动化和信息化。PCB企业能够营造一个智慧的工厂,智慧制造的应用将大幅降低劳动成本、提升制造效率、节省资源损耗并将推进PCB制造业向高端转型。

  • 2021-04-30
  • 阅读237
  • 下载0
  • 5页
  • pdf

人工智能简介及对保险业的影响

人工智能,AI ( Artificial Intelligence)。是指用计算机模拟或实现的智能。其研究的主要目标是使机器能够胜任一些通常需要人类智能才能完成的复杂工作。不同的时代、不同的人对这种“复杂工作”的理解是不同的。例如繁重的科学和工程计算本来是要人脑来承担的,现在计算机不但能完成这种计算,而且能够比人脑做得更快、更准确,因之当代人已不再把这种计算看作是人工智能。人工智能这门科学的具体目标也自然随着时代的变化而发展。

  • 2021-04-30
  • 阅读236
  • 下载0
  • 41页
  • pdf

基于小波变换的三维网格模型盲水印算法_杨明鹏

由于无法预知产品在线评论的文本内容是否对浏览者有用,大量的无用评论增加了潜在消费者的信息搜索成本,甚至降低了潜在消费者购买产品的可能性。为提高电子商务平台的有用在线评论率,为撰写评论者提供测试功能,建立在线评论有用程度预测模型。根据在线评论的文本特征,所提模型选择在线评论的词语数量、词语的有用值、产品特征数量等3个特征,构建一个预测在线评论有用程度的模型,其中词语的有用值是词语区分在线评论有用程度的信息增益量,然后根据大量在线评论数据利用梯度下降算法解出模型参数。实验结果显示,随着词语数量、词语有用值、产品特征数量的增长,评论有用程度不断提高。实验中把在线评论分为一般、有用、非常有用3个程度,对于一般的在线评论,预测精确率为92.96%;对于"有用"在线评论,预测精确率为94.83%;对于"非常有用"在线评论,预测精确率为67.63%。实验对模型性能进行测试,得到平均精确率为85.05%,召回率为82.81%,F1值为83.72%,该结果验证了所提模型预测在线评论有用程度的可行性。

  • 2021-05-03
  • 阅读345
  • 下载0
  • 6页
  • pdf

人工智能技术在电子商务中的应用

人工智能技术和电子商务的飞速发展推动了全球科技经济领域的进步,基于人工智能技术的电子商务更趋向完美和成熟。随着电子商务的不断发展和人工智能技术的不断完善,两者在各个领域、各个层次的相互融合将更加密切。作为各自的成功因素,电子商务和人工智能技术的融合必将成为- -种关键技术。

  • 2021-05-03
  • 阅读253
  • 下载0
  • 17页
  • pdf
上一页 1 …… 207208209210211212213214215216217 …… 2878 下一页 共 23017 条


立即登录

没有账户,需要注册

登录用户可享受以下权益
  • 免费下载方案
  • 服币提现
  • 发布方案得服币
  • 交易分成

精品推荐

竞争对手分析

母公司公司的总目标是什么?母公司要求该业务单位做什么?将业务单位的定位是什么(基础业务还是边缘业务)

  • 阅读134
  • 下载0

2025知识图谱与大模型融合实践案例集

随着人工智能的迅猛发展,知识图谱与大模型作为两大核心研究领域,各自彰显出独特的技术优势。知识图谱以结构化方式精准刻画实体关联,为知识表示与推理提供了可解释的框架;大模型则凭借海量数据训练展现出卓越的自然语言理解与生成能力,具备强大的泛化学习性能。

  • 阅读141
  • 下载4

国内重点工业物联网平台四类厂商分类及选型指南

国内重点工业物联网平台四类厂商分类及选型指南

  • 阅读296
  • 下载6

工业物联网平台的典型应用场景深度分析

工业物联网平台发展重点: 一是行业深耕化,从通用型平台向“一米宽、百米深”的行业垂直平台转型,聚焦能源、交通、化工等领域的特定需求,沉淀场景化解决方案与行业Know-how,而非追求“大而全”的覆盖能力。 二是智能融合化,工业大模型与平台深度结合,实现工业知识的智能化重构、应用开发的低代码化升级,以及生产运营的自感知、自决策、自优化闭环管控,AI成为提质增效的核心变量。 三是生态协同化,平台不再是单一技术载体,而是串联产业链上下游的协同中枢,通过跨系统数据融合、产学研用金深度合作,形成“数据-算力-应用”的生态闭环,赋能供应链协同与产业集群升级。 四是部署灵活化,采用“平台化产品+私有化部署”结合的模式,兼顾中小企业轻量化需求与大型集团定制化诉求,支持公有云、私有云、边缘端的混合部署,平衡成本与安全性。

  • 阅读319
  • 下载9

最新上线

全球绿色航运发展报告(2024-2025)

2024年至2025年上半年,国际海事组织批准了MARPOL公约附则VI关于“IM0净零框架”的修正案草案、通过了《2024年船用燃料全生命周期温室气体强度导则》(2024LCA导则)(MEPC.391(81))、批准增设了排放控制区域(ECA)及特别敏感海域(PSSAs)。

  • 阅读2
  • 下载0

全球数字治理蓝皮书(2025年)

当前,国际局势变乱交织,大国竞争愈演愈烈,全球南方加快崛起,新兴技术复杂影响更加突出,全球治理体系面临深刻调整。习近平主席在“上海合作组织+”会议提出“全球治理倡议”,相关概念文件指出,要优先考虑在人工智能、网络空间、外空等治理紧迫性突出、治理赤字较大的领域,以及支持联合国落实《未来契约》等方面加大沟通合作,积极凝聚共识、锁定成果,争取早期收获。

  • 阅读2
  • 下载0

新型电力系统背景下的电力开关技术与装备

研究背景:快速真空开关是发电机断路器、限流器、直流断路器中的核心设备,毫秒级响应要求机 械力在±100kN间大幅快速变化,加速度高达1000g,操动过程涉及电路-磁场-机械-温度等复杂过程!

  • 阅读2
  • 下载0

智能机器人城市空间场景应用指南2026版

为总结与推广“十四五”期间智能机器人在环境清洁、安防巡检、物流配送、康养陪护等领域取得的成效,贯彻实施《“机器人+”应用行动实施方案》,响应《关于深化智慧城市发展、推进城市全域数字化转型的指导意见》《城市数字公共基础设施标准体系》《国务院办公厅关于加快场景培育和开放推动新场景大规模应用的实施意见》,推动将智能机器人系统纳入智慧城市发展框架,明确城市场景对机器人规模化、商业化应用的关键牵引作用,本指南系统梳理了智能机器人在城市空间应用的核心场景、技术要求和实施路径,以期为企业研发、产品选型、系统集成、运营管理及相关标准研制提供参考。

  • 阅读2
  • 下载0
  • 关于我们

    电话:029-8838-6725

  • 新闻资讯

    企业简介 新闻动态 品牌实力 代理合作 诚聘英才 联系我们

  • 中服云

  • 工业互联网风向标

  • 在线咨询

西安/北京/南京/重庆/合肥/厦门/甘肃 地址:陕西省西安市雁塔区鱼跃工业园慧康生物科技产业园7楼 电话: 029-8838-6725

版权所有 @ 中服云 陕ICP备11002812号
  • 扫码咨询

    或

    点击立即咨询
  • 客服咨询

  • 用手机扫二维码

    或

    复制当前地址

  • 问题反馈 中服大讲堂 客服电话

方案库赚钱指南