• 首页

  • 方案库

  • 工业品库

  • 招标项目库

  • 专家库

  • 人才库

会员中心
搜索
登录
注册
  • 方案名称

解决方案

数字化转型通用方案行业方案安全方案大数据人工智能物联网行业展望自动控制其他

产品|技术

白皮书产品介绍技术介绍技术创新模型算法

政策|规范

政策规范行动计划

电子书

电子书课件

报告|论文

报告模板论文
  • 全部
  • 人气排行
  • 下载排行
  • 页数排行
  • 最新排行

大数据行业项目投资市场分析及发展预测

在大数据时代,许多学科表面上研究的方向大不相同,但从数据的视角看,其实是相通的。例如自然语言处理和生物大分子模型中都用到隐式马氏过程和动态规划方法。其最根本原因是它们处理的都是-维的随机信号。再如用于图像处理的算法和用于压缩感知的算法也有着许多共同之处。

  • 2021-04-27
  • 阅读1309
  • 下载0
  • 293页
  • pdf

大数据技术47

随着社会的数字化程度逐步加深,越来越来多的学科在数据层面趋于一致。可以采用相似的思想来进行的统一的研究。而这恰恰是数学家的特长。因此数据科学在数学和实际应用之间建立起了一个直接的桥梁。而这些实际应用正是来自于像信息服务等现代产业中最为活跃的一部分。对数学来说,这是一个千载难逄的机会。

  • 2021-04-27
  • 阅读271
  • 下载0
  • 48页
  • pdf

大数据解决方案在保险行业应用实践

大数据不仅仅只关系到IT行业。众多行业龙头公司,都已经意识到了大数据新思维的巨大冲击。给企业家们带来冲击的并不是大数据本身,而是一些新兴公司不可思议的跨界能力。行业之间的界限变得越来越模糊,这些新兴公司所采用新的技术、新的模式,大规模采集数据,迅速形成预判,并迅速扩张到相关企业行业。

  • 2021-04-27
  • 阅读228
  • 下载0
  • 12页
  • pdf

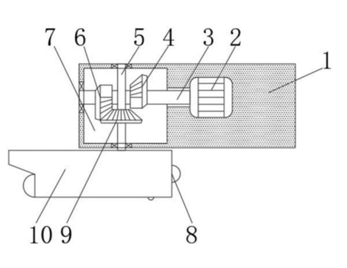
一种智能化楼宇机房监管装置

本实用新型公开了一种智能化楼宇机房监管装置,涉及监管装置技术领域,包括底座,所述底座的内部一端开设有内腔,所述底座的内部另一端设有第一电机,所述第一电机的一端固定连接有输出轴,所述输出轴的外壁固定连接有第一半伞齿轮,所述第一半伞齿轮的一侧设有第二半伞齿轮,所述第一半伞齿轮和第二半伞齿轮的底端中部啮合连接有全伞齿轮。该智能化楼宇机房监管装置,通过底座、第一电机、输出轴、第一半伞齿轮、转轴、第二半伞齿轮、监控装置、顶板、固定轴、第二电机、固定滑块、螺纹套筒和螺纹杆之间的配合设置,实现了多方位监控的目的,在装卸过程中,方便使用,简单快捷,能够有效的解决监控装置的位置高度,降低维修难度。

  • 2021-05-07
  • 阅读184
  • 下载0
  • 7页
  • pdf

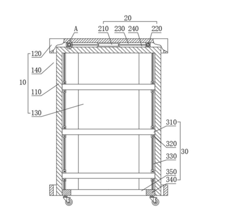
安全性高可防鼠害的智能楼宇控制柜

本发明公开了一种安全性高可防鼠害的智能楼宇控制柜,包括柜体、安装单元、除鼠单元、柜门和底板;柜体:前侧面的右端铰接有柜门,所述柜体内部的底侧设有底板,所述柜体的左侧面设有防尘单元,所述柜体内部的顶端设有防火单元,所述柜门前侧面的底端设有收纳单元,所述柜体左侧面的顶端设有减压单元,柜门前侧面的中部设有除湿单元;安装单元:包含滑槽、直线电机、支撑座、滑块和安装架,直线电机有四个且两两对应分别设在柜体内部的左右两侧,每组直线电机动子座的内侧面分别与支撑座的外侧面连接,支撑座的内侧面设有滑槽,该安全性高可防鼠害的智能楼宇控制柜,使用方便,安全性高,便于收纳,防鼠效果好。

  • 2021-05-07
  • 阅读190
  • 下载0
  • 13页
  • pdf

一种智能化建筑楼宇及其消防电力机电的安装方法

本申请涉及一种智能化建筑楼宇及其消防电力机电的安装方法,其包括在安装消防电力机电的同时实时采集施工现场的信息并传输至监控后台内;根据工程的施工规范要求和各工序施工的关键,监控后台接收传回的施工现场信息并进行自动识别;当施工现场信息不满足工程的施工规范要求或工序施工的关键时,监控后台发出警报声。本申请具有及时发现消防电力机电的安装问题,保证施工进度和质量的效果。

  • 2021-05-07
  • 阅读180
  • 下载0
  • 10页
  • pdf

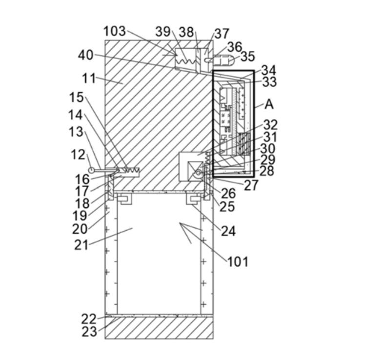
一种智能楼宇可视化访客对讲终端

本发明公开了一种智能楼宇可视化访客对讲终端,包括对讲终端器、报警器和包裹箱,所述对讲终端器固定安装在墙体的右侧面上,所述墙体内开设有左右贯通的通腔,所述包裹箱固设在所述通腔的内壁间,所述包裹箱内开设有包裹腔,所述包裹箱和所述墙体之间设有能通过所述对讲终端器控制来进行包裹存装和获取的自控柜机构,本发明在提供正常的智能可视化对讲控制楼宇大门开闭的功能下,还能通过自控柜机构来进行快递或外卖包裹的装载输送,有效提高住户在收取陌生人送给包裹的安全性,并能在对讲终端器内电源电量不足时,通过电源调节机构来控制装换紧急电源。

  • 2021-05-07
  • 阅读207
  • 下载0
  • 10页
  • pdf

一种智能楼宇用控制柜

本实用新型提供了一种智能楼宇用控制柜,属于控制柜技术领域。该智能楼宇用控制柜包括箱体存储部分和转动支撑组件。所述箱体存储部分包括内箱体和外箱体,所述内箱体正面和背面均开设有第一门口,所述外箱体底部开设有开口,且所述外箱体套设于所述内箱体外部,所述外箱体两侧均开设有第二门口,所述转动支撑组件包括转轴和滚珠,所述转轴底端转动连接于所述内箱体顶部中间,所述滚珠设置有若干组。本实用新型手部轻轻转动外箱体,在转轴和滚珠在配合下,实现外箱体在内箱体外部转动,当外箱体两侧的第二门口与内箱体正面以及背面的第一门口重合时,便于从正面和背面的第一门口检修或者更换内箱体内部的电气组件。

  • 2021-05-07
  • 阅读192
  • 下载0
  • 10页
  • pdf
上一页 1 …… 202203204205206207208209210211212 …… 2878 下一页 共 23017 条


立即登录

没有账户,需要注册

登录用户可享受以下权益
  • 免费下载方案
  • 服币提现
  • 发布方案得服币
  • 交易分成

精品推荐

国内重点工业物联网平台四类厂商分类及选型指南

国内重点工业物联网平台四类厂商分类及选型指南

  • 阅读73
  • 下载4

工业物联网平台的典型应用场景深度分析

工业物联网平台发展重点: 一是行业深耕化,从通用型平台向“一米宽、百米深”的行业垂直平台转型,聚焦能源、交通、化工等领域的特定需求,沉淀场景化解决方案与行业Know-how,而非追求“大而全”的覆盖能力。 二是智能融合化,工业大模型与平台深度结合,实现工业知识的智能化重构、应用开发的低代码化升级,以及生产运营的自感知、自决策、自优化闭环管控,AI成为提质增效的核心变量。 三是生态协同化,平台不再是单一技术载体,而是串联产业链上下游的协同中枢,通过跨系统数据融合、产学研用金深度合作,形成“数据-算力-应用”的生态闭环,赋能供应链协同与产业集群升级。 四是部署灵活化,采用“平台化产品+私有化部署”结合的模式,兼顾中小企业轻量化需求与大型集团定制化诉求,支持公有云、私有云、边缘端的混合部署,平衡成本与安全性。

  • 阅读147
  • 下载7

低空基础设施发展研究报告(2025)

当前,世界百年变局加速演进,新一轮科技革命和产业变革?深入发展,低空经济作为新质生产力的重要组成部分,正以前瞻?性、引领性姿态加速崛起,成为推动经济结构优化升级、塑造高?质量发展新动能的关键领域。

  • 阅读311
  • 下载1

华为数字化转型之道

首先从华为的视角总结了企业对于数字化转型的应有的共识,以及从战略角度阐述了华为为何推行数字化转型,然后给出了华为数字化转型的整体框架(方法论),以及企业数字化转型成熟度评估的方法,帮助读者在厘清华为开展数字化转型工作的整体脉络的同时,能快速对自身的数字化水平进行自检,

  • 阅读389
  • 下载4

最新上线

算力互联网体系架构研究报告

算力互联网的发展和演进是一个持续不断的过程,编制组将密切关注国内外算力互联网的发展动态,积极听取产业界的意见与建议,不断完善和优化算力互联网体系架构的研究内容,适时修订并发布报告的新版本,以更好地推动算力互联网发展。

  • 阅读21
  • 下载0

数据智能服务产业发展研究报告

为更好地推动数据智能服务产业发展,本报告从数据智能服务产业定义、要素、载体、产业链、创新模式等方面开展研究工作。第一部分数据智能服务产业概念界定、内涵特征以及全球趋势;第二部分分析数据智能服务产业的核心关键要素;第三部分阐述数据智能服务产业链结构以及产业生态图谱;第四部分阐述数据智能服务的产业载体,第五部分总结了数据智能服务产业的创新模式,最后根据上述研究,从技术、应用、产业、安全等四个方面分析趋势,为我国数据智能服务产业发展提供参考。

  • 阅读22
  • 下载0

人工智能算法与应用场景介绍

通过深度学习嵌入算法可以对离散序列数据一自然语言文本进行计算分析。 主要应用方向是文本信息抽取,包括文本分类、关键实体识别、实体之间关系识别以及事件识别。

  • 阅读21
  • 下载0

医共体信息化整体解决方案

利用人与大数据技术,结合专业的中医疾病、证候/治则知识库、疾病知识图谱等,研发了医用智能处方椎荐系统。它能够无缝植入到医院现有的HIS和医生工作中,不改变医生工作流程,输入患者信息、证候、主诉等信息智能推荐方剂和备用饮片药,医生进行加减化裁即可成方,节省医生诊疗时间,提高工作效率。

  • 阅读21
  • 下载0
  • 关于我们

    电话:029-8838-6725

  • 新闻资讯

    企业简介 新闻动态 品牌实力 代理合作 诚聘英才 联系我们

  • 中服云

  • 工业互联网风向标

  • 在线咨询

西安/北京/南京/重庆/合肥/厦门/甘肃 地址:陕西省西安市雁塔区鱼跃工业园慧康生物科技产业园7楼 电话: 029-8838-6725

版权所有 @ 中服云 陕ICP备11002812号
  • 扫码咨询

    或

    点击立即咨询
  • 客服咨询

  • 用手机扫二维码

    或

    复制当前地址

  • 问题反馈 中服大讲堂 客服电话

方案库赚钱指南