• 首页

  • 方案库

  • 工业品库

  • 招标项目库

  • 专家库

  • 人才库

会员中心
搜索
登录
注册
  • 方案名称

解决方案

数字化转型通用方案行业方案安全方案大数据人工智能物联网行业展望自动控制其他

产品|技术

白皮书产品介绍技术介绍技术创新模型算法

政策|规范

政策规范行动计划

电子书

电子书课件

报告|论文

报告模板论文
  • 全部
  • 人气排行
  • 下载排行
  • 页数排行
  • 最新排行

互联网金融门户

互联网金融门户(ITFIN) 是指利用互联网进行金融产品的销售以及为金融产品销售提供第三方服务的平台。它的核心就是“搜索+比价”的模式,采用金融产品垂直比价的方式,将各家金融机构的产品放在平台上,用户通过对比挑选适合自己的金融产品。

  • 2021-04-25
  • 阅读294
  • 下载0
  • 23页
  • pdf

5G网络对光纤布线要求的影响

5G网络有望通过智能网络和应用连接人与物,所有这些都会产生大量数据。其寻求提供所有性能因素中的最佳性能,同时连接更多设备。这些网络的进步将推动并激发新一轮的计算和技术创新浪潮,这些浪潮将改变我们的生活和工作方式。但是在5G成为现实之前,必须建立网络基础设施来支持数十亿个设备和数以万亿计的兆位数据,这些数据将淹没网络。

  • 2021-04-25
  • 阅读184
  • 下载0
  • 6页
  • docx

一种楼宇自动清扫机器人

本发明公开了一种楼宇自动清扫机器人,包括主箱体,主箱体前部加装有前置壳体,前置壳体上安装有多个距离感应器,下部开设有两个相同规格的清扫口;主箱体上加装有顶盖,顶盖上设有柱形的喷雾盒,喷雾盒上部一圈等距设有多个气缸一。本发明与现有技术相比的优点在于:整体结构简单实用,集成了自动拖扫一体、自主乘坐电梯、尘袋自动收集、布自动清洁、远程操控与故障报警、缺电自动回充、自动避障、清扫范围规划和自动语音播报功能,大大降低了人力投入,提高了清扫的智能化和自动化程度,使用和后期维护便捷,极大提升了清扫效率和质量,便于推广。

  • 2021-05-07
  • 阅读215
  • 下载0
  • 12页
  • pdf

智能楼宇车库管理辅助组件

本发明公开了智能楼宇车库管理辅助组件,包括底座、传送组件和转向组件;底座:表面一侧设有车库,车库上设有防盗组件;传送组件:包括传送槽、丝杆、传送座、导槽、导板、固定板和第一电机,传送槽设于底座的表面,且传送槽与车库对应,丝杆转动连接在传送槽的中部,传送座通过中部的螺纹孔螺纹连接在丝杆上,导槽对称设有两个,且两个导槽分别设于传送槽的两个相对侧面,导板滑动连接在导槽内,且传送座的两侧分别与两侧的导板固定连接,固定板固定连接在底座的侧面,本智能楼宇车库管理辅助组件可实现汽车的自动停车入库,避免了与其他车辆的刮碰,有效节省了停车所需的时间,实用性较强。

  • 2021-05-07
  • 阅读180
  • 下载0
  • 11页
  • pdf

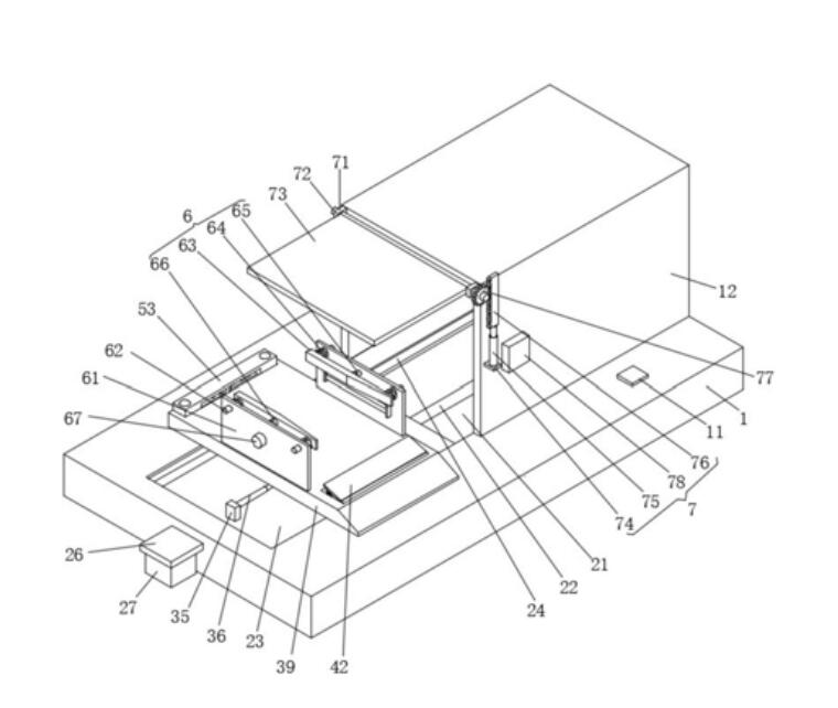
一种集成式智能楼宇的安防检测用设备

本实用新型涉及一种集成式智能楼宇的安防检测用设备,包括折叠主体和固位机构,固位机构设置于折叠主体的侧部,折叠主体包括多个折叠架、连接梁和脚踏板,折叠架与折叠架之间为铰接连接,折叠架的侧部均开有滑槽,脚踏板可转动设置于连接梁上,固位机构包括固位板和固位手轮,固位板内侧侧部设置有滑块,滑块设置于折叠架的滑槽内部,固位手轮贯穿并螺纹连接固位板,本实用新型的集成式智能楼宇的安防检测用设备,使用折叠主体的固位机构等结构,可在存放或移动本登高设备时将其进行折叠,折叠后在进行移动时不易误碰到人或物体,使用时将其展开即可,本实用新型便于携带,占用空间小,便于存放和移动。

  • 2021-05-07
  • 阅读184
  • 下载0
  • 12页
  • pdf

一种智能楼宇排水系统

本实用新型公开了一种智能楼宇排水系统,涉及排水系统技术领域,该智能楼宇排水系统,包括楼顶基体以及排水管道,所述楼顶基体内嵌入顶部与楼顶基体地平面平齐的箱式外壳,所述箱式外壳的顶部设置有过滤器,所述过滤器的排水口贯穿箱式外壳并延伸至箱式外壳内,且过滤器的排水口通过法兰结构与电动三通阀的进水端固定连接,所述电动三通阀两个出水端均通过法兰结构分别与排水管道的一端和连接管的一端固定连接,所述连接管的另一端与泵体的进水口相连通,所述排水管道通过支管与泵体的出水口相连通。本实用新型通过设置箱式外壳、过滤器、电动三通阀和泵体,解决了楼宇排水系统需要保证楼顶排水管道排水通畅,避免楼顶积水的问题。

  • 2021-05-07
  • 阅读188
  • 下载0
  • 14页
  • pdf

外围边界建模方法、智能监控方法及装置

本发明涉及一种外围边界建模方法、智能监控方法及装置。本发明的技术方案是:该建模方法:对图像做边缘检测,得到二值化的边缘检测结果;对边缘检测结果的二值化图像进行膨胀操作;遍历经膨胀的二值化图像中的点,以P(x,y)表示图像中的点(x,y)的像素值,若在同一x下满足以下条件 P(x,y)=255则记录当前坐标(x,y),作为边界点,结束当前循环,同时继续判断下一个点x+1对应的y值是否符合上述条件;若相邻x位置存在边界点,而当前x位置不存在边界点,则当前x位置获取前一位置得到的边缘信息;将记录的的数据(x,y)对应写入map映射表中,其中x为key值,y为对应的value值,完成对外围边界建模。本发明适用于楼宇智能监控领域。

  • 2021-05-07
  • 阅读202
  • 下载0
  • 9页
  • pdf

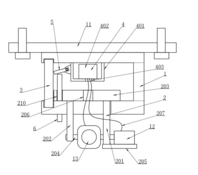
智能楼宇监控装置

本实用新型属于监控设备技术领域,尤其涉及一种智能楼宇监控装置。本实用新型通过在安装顶板上设置旋转电机、摄像头主体、框架单元、连接架单元、阻挡板、电源单元、旋转板单元以及螺纹柱的方式,达到监控装置高效使用的效果。本实用新型具有监控装置独立供电结构简单有效,安装结构强度大,拆装维修难度低,拆装步骤少,结构稳定性高,结构紧凑智能,以及监控装置在楼宇之间整体使用效果好的优点。

  • 2021-05-07
  • 阅读156
  • 下载0
  • 10页
  • pdf
上一页 1 …… 200201202203204205206207208209210 …… 2878 下一页 共 23017 条


立即登录

没有账户,需要注册

登录用户可享受以下权益
  • 免费下载方案
  • 服币提现
  • 发布方案得服币
  • 交易分成

精品推荐

国内重点工业物联网平台四类厂商分类及选型指南

国内重点工业物联网平台四类厂商分类及选型指南

  • 阅读73
  • 下载4

工业物联网平台的典型应用场景深度分析

工业物联网平台发展重点: 一是行业深耕化,从通用型平台向“一米宽、百米深”的行业垂直平台转型,聚焦能源、交通、化工等领域的特定需求,沉淀场景化解决方案与行业Know-how,而非追求“大而全”的覆盖能力。 二是智能融合化,工业大模型与平台深度结合,实现工业知识的智能化重构、应用开发的低代码化升级,以及生产运营的自感知、自决策、自优化闭环管控,AI成为提质增效的核心变量。 三是生态协同化,平台不再是单一技术载体,而是串联产业链上下游的协同中枢,通过跨系统数据融合、产学研用金深度合作,形成“数据-算力-应用”的生态闭环,赋能供应链协同与产业集群升级。 四是部署灵活化,采用“平台化产品+私有化部署”结合的模式,兼顾中小企业轻量化需求与大型集团定制化诉求,支持公有云、私有云、边缘端的混合部署,平衡成本与安全性。

  • 阅读148
  • 下载7

低空基础设施发展研究报告(2025)

当前,世界百年变局加速演进,新一轮科技革命和产业变革?深入发展,低空经济作为新质生产力的重要组成部分,正以前瞻?性、引领性姿态加速崛起,成为推动经济结构优化升级、塑造高?质量发展新动能的关键领域。

  • 阅读311
  • 下载1

华为数字化转型之道

首先从华为的视角总结了企业对于数字化转型的应有的共识,以及从战略角度阐述了华为为何推行数字化转型,然后给出了华为数字化转型的整体框架(方法论),以及企业数字化转型成熟度评估的方法,帮助读者在厘清华为开展数字化转型工作的整体脉络的同时,能快速对自身的数字化水平进行自检,

  • 阅读389
  • 下载4

最新上线

算力互联网体系架构研究报告

算力互联网的发展和演进是一个持续不断的过程,编制组将密切关注国内外算力互联网的发展动态,积极听取产业界的意见与建议,不断完善和优化算力互联网体系架构的研究内容,适时修订并发布报告的新版本,以更好地推动算力互联网发展。

  • 阅读21
  • 下载0

数据智能服务产业发展研究报告

为更好地推动数据智能服务产业发展,本报告从数据智能服务产业定义、要素、载体、产业链、创新模式等方面开展研究工作。第一部分数据智能服务产业概念界定、内涵特征以及全球趋势;第二部分分析数据智能服务产业的核心关键要素;第三部分阐述数据智能服务产业链结构以及产业生态图谱;第四部分阐述数据智能服务的产业载体,第五部分总结了数据智能服务产业的创新模式,最后根据上述研究,从技术、应用、产业、安全等四个方面分析趋势,为我国数据智能服务产业发展提供参考。

  • 阅读22
  • 下载0

人工智能算法与应用场景介绍

通过深度学习嵌入算法可以对离散序列数据一自然语言文本进行计算分析。 主要应用方向是文本信息抽取,包括文本分类、关键实体识别、实体之间关系识别以及事件识别。

  • 阅读21
  • 下载0

医共体信息化整体解决方案

利用人与大数据技术,结合专业的中医疾病、证候/治则知识库、疾病知识图谱等,研发了医用智能处方椎荐系统。它能够无缝植入到医院现有的HIS和医生工作中,不改变医生工作流程,输入患者信息、证候、主诉等信息智能推荐方剂和备用饮片药,医生进行加减化裁即可成方,节省医生诊疗时间,提高工作效率。

  • 阅读21
  • 下载0
  • 关于我们

    电话:029-8838-6725

  • 新闻资讯

    企业简介 新闻动态 品牌实力 代理合作 诚聘英才 联系我们

  • 中服云

  • 工业互联网风向标

  • 在线咨询

西安/北京/南京/重庆/合肥/厦门/甘肃 地址:陕西省西安市雁塔区鱼跃工业园慧康生物科技产业园7楼 电话: 029-8838-6725

版权所有 @ 中服云 陕ICP备11002812号
  • 扫码咨询

    或

    点击立即咨询
  • 客服咨询

  • 用手机扫二维码

    或

    复制当前地址

  • 问题反馈 中服大讲堂 客服电话

方案库赚钱指南