• 首页

  • 方案库

  • 工业品库

  • 招标项目库

  • 专家库

  • 人才库

会员中心
搜索
登录
注册
  • 方案名称

解决方案

数字化转型通用方案行业方案安全方案大数据人工智能物联网行业展望自动控制其他

产品|技术

白皮书产品介绍技术介绍技术创新模型算法

政策|规范

政策规范行动计划

电子书

电子书课件

报告|论文

报告模板论文
  • 全部
  • 人气排行
  • 下载排行
  • 页数排行
  • 最新排行

一种楼宇安全智能化联动系统

本发明公开了一种楼宇安全智能化联动系统,包括安全智能化联动系统,所述安全智能化联动系统包括安全防护系统、通信系统和设备监控系统,所述安全防护系统包括报警系统、温度检测系统、烟雾检测系统、红外探测系统、喷淋系统和灯光控制系统,所述通信系统包括远程通信系统、互联网控制系统、电话语音通信系统和局域网控制系统。本发明所述的一种楼宇安全智能化联动系统,属于楼宇智能化系统领域,通过控制安全防护系统、通信系统和设备监控系统,让它们控制下的各个子系统之间实现联动操作,并在楼宇出现人员和设备安全隐患时,可以使人员迅速收到警示,并以此来保障人员的生命安全,让安全隐患降到最低。

  • 2021-04-28
  • 阅读293
  • 下载0
  • 7页
  • pdf

一种楼宇小区智能监控摄像头

本实用新型涉及监控摄像头,具体涉及一种楼宇小区智能监控摄像头,包括安装座、安装板和摄像头本体,安装板上固定有底座,底座与第一连接座固定,第一连接座与第二连接座铰接,第二连接座固定于摄像头本体底部,安装板上开设有与安装座配合的安装槽,安装座与安装板之间设有可拆卸固定机构,可拆卸固定机构包括固定于安装座上的安装块,与安装块铰接的连杆,以及与连杆固定的插板,安装板上开设有与插板配合的插槽,安装板上固定有安装架,安装架上滑动连接有伸入安装板内部的限位杆;本实用新型提供的技术方案能够有效克服现有技术所存在的安装拆卸较为麻烦、前端镜头上容易积聚较多浮尘的缺陷。

  • 2021-04-28
  • 阅读250
  • 下载0
  • 7页
  • pdf

一种楼宇智能显控终端用固定支架

本实用新型公开了一种楼宇智能显控终端用固定支架,一种楼宇智能显控终端用固定支架,包括底座,底座的上侧壁面固定连接有调节结构,调节结构包括主杆,主杆的内侧壁面滑动连接有副杆,主杆的外侧壁面螺接有套筒,副杆的上侧壁面固定连接有弹簧圈,副杆远离底座一端转动连接有显示结构,显示结构包括主框架、连轴和副框架,副框架转动连接于主框架的内侧壁面,连轴转动连接于副杆的内侧壁面,可使用调节结构对显示结构进行高度的调整,得以达到更好的使用高度,同时还可以通过显示结构对观测的角度进行调整,调整后的高度以及角度均可进行固定,得以提高工作效率。

  • 2021-04-28
  • 阅读220
  • 下载0
  • 7页
  • pdf

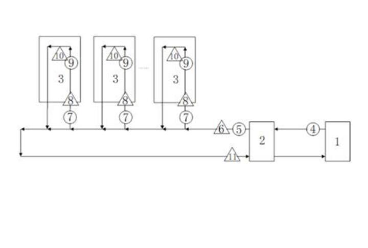
一种楼宇设施智能联动系统

本实用新型提供了一种楼宇设施智能联动系统,涉及电器自动化领域,包括:计算机设备,连接中心网关;中心网关,提供网络接口以供楼宇中的电气设备进行组网;门禁装置,连接至中心网关;电梯控制装置,接入中心网关,根据电梯控制信号控制电梯系统中电梯的运行;安防摄像头,连接至中心网关将视频信息发送至计算机设备;照明装置,连接至中心网关,接收计算机设备的照明控制信号以控制照明开关;空调装置,连接至中心网关,接收计算机设备的空调控制信号以控制空调的运行状态;温度传感器,光敏传感器和红外传感器接入中心网关向计算机设备提供传感信号。本实用新型提供的楼宇设施智能联动系统能够提升用户体验,优化设备运行与管理。

  • 2021-04-28
  • 阅读255
  • 下载0
  • 6页
  • pdf

一种智慧楼宇管理系统

本实用新型公开了一种智慧楼宇管理系统,包括便携控制操作箱和楼宇智能控制系统电路板,所述便携控制操作箱内部一侧壁上通过螺栓固定有所述楼宇智能控制系统电路板,所述楼宇智能控制系统电路板一侧在所述便携控制操作箱内通过卡槽固定有触控屏,所述触控屏正下方在所述便携控制操作箱上内嵌有操作键,所述便携控制操作箱顶部焊接有把手,所述便携控制操作箱两侧壁上通过卡压的方式高度有背带。有益效果在于:本实用新型通过设置楼宇系统接线集成板、外接插线以及便携控制操作箱,可将机房内控制楼宇设备的终端集成在一个可以的设备箱内,便于维修工单人的逐栋楼的检测,提高了检测维护的效率。

  • 2021-04-28
  • 阅读242
  • 下载0
  • 7页
  • pdf

一种智能高校楼宇消防安全及应急系统

一种智能高校楼宇消防安全及应急系统,属于高校消防技术领域,包括中央处理器、信号收发器、探头、电源模块、灭火模块、排烟模块、警铃模块,其特征在于:所述信号收发器输入信号端连接有探头,所述信号收发器输出信号端连接有中央处理器,所述中央处理器一号输出信号端连接有电源模块,所述中央处理器二号输出信号端连接有灭火模块,所述中央处理器三号输出信号端连接有排烟模块,所述中央处理器四号输出信号端连接有警铃模块,工作人员可以将探头放置在教室不同高的的墙体上,并且在火灾发生时可以在第一时间将电源进行断电。

  • 2021-04-28
  • 阅读231
  • 下载0
  • 5页
  • pdf

一种楼宇智能化设备的控制柜

本实用新型公开了一种楼宇智能化设备的控制柜,其特征主要在于:主体包括楼宇设备控制柜本体、控制柜保护罩壳、控制柜接线架、控制柜手动操作面板、控制柜主动降温装置,楼宇设备控制柜本体外侧设置有控制柜保护罩壳,控制柜保护罩壳内侧设置有控制柜接线架,控制柜保护罩壳顶端设置有控制柜主动降温装置,控制柜保护罩壳外侧面设置有控制柜手动操作面板,本装置结构简单、性能安全可靠、安装使用便捷、具备主动风冷降温,且能够极大地避免漏电的情况发生。

  • 2021-04-28
  • 阅读204
  • 下载0
  • 8页
  • pdf

一种智能型热网调节系统

本实用新型公开的一种智能型热网调节系统,属于供热自动化技术领域。换热站前调节阀设在热源站与换热站之间的供水管路上,换热站前变频泵和换热站前压力测点设在换热站与楼宇之间的供水管路上,回水管温度测点设在换热站与楼宇之间的回水管路上;楼宇前变频泵和楼宇前压力测点设在每个楼宇的入口管路处;流量平衡阀设在楼宇内每个热用户的进户管路入口处,热用户温度测点设在每个热用户的户内。本系统能够根据热网内热用户的实际需求对温度进行实时调节,实现按需舒适用热,提高用户的舒适度的同时,实现供热系统能效最大化,节约了能源。

  • 2021-04-28
  • 阅读271
  • 下载0
  • 6页
  • pdf
上一页 1 …… 90919293949596979899100 …… 2193 下一页 共 17542 条


立即登录

没有账户,需要注册

登录用户可享受以下权益
  • 免费下载方案
  • 服币提现
  • 发布方案得服币
  • 交易分成

精品推荐

国内重点工业物联网平台四类厂商分类及选型指南

国内重点工业物联网平台四类厂商分类及选型指南

  • 阅读184
  • 下载6

工业物联网平台的典型应用场景深度分析

工业物联网平台发展重点: 一是行业深耕化,从通用型平台向“一米宽、百米深”的行业垂直平台转型,聚焦能源、交通、化工等领域的特定需求,沉淀场景化解决方案与行业Know-how,而非追求“大而全”的覆盖能力。 二是智能融合化,工业大模型与平台深度结合,实现工业知识的智能化重构、应用开发的低代码化升级,以及生产运营的自感知、自决策、自优化闭环管控,AI成为提质增效的核心变量。 三是生态协同化,平台不再是单一技术载体,而是串联产业链上下游的协同中枢,通过跨系统数据融合、产学研用金深度合作,形成“数据-算力-应用”的生态闭环,赋能供应链协同与产业集群升级。 四是部署灵活化,采用“平台化产品+私有化部署”结合的模式,兼顾中小企业轻量化需求与大型集团定制化诉求,支持公有云、私有云、边缘端的混合部署,平衡成本与安全性。

  • 阅读236
  • 下载8

低空基础设施发展研究报告(2025)

当前,世界百年变局加速演进,新一轮科技革命和产业变革?深入发展,低空经济作为新质生产力的重要组成部分,正以前瞻?性、引领性姿态加速崛起,成为推动经济结构优化升级、塑造高?质量发展新动能的关键领域。

  • 阅读395
  • 下载1

华为数字化转型之道

首先从华为的视角总结了企业对于数字化转型的应有的共识,以及从战略角度阐述了华为为何推行数字化转型,然后给出了华为数字化转型的整体框架(方法论),以及企业数字化转型成熟度评估的方法,帮助读者在厘清华为开展数字化转型工作的整体脉络的同时,能快速对自身的数字化水平进行自检,

  • 阅读468
  • 下载4

最新上线

全球数字治理蓝皮书(2025)

全球数字治理蓝皮书(2025)全球数字治理蓝皮书(2025)全球数字治理蓝皮书(2025)全球数字治理蓝皮书(2025)全球数字治理蓝皮书(2025)全球数字治理蓝皮书(2025)

  • 阅读39
  • 下载0

人工智能赋能应用实践指南

当前,人类正处在新一轮科技革命和产业变革的历史关口,人工智能正以前所未有的速度重塑世界,为千行万业注入新动能。从工业制造的智能产线到农业生产的精准种植,从金融服务的智能风控到医疗健康的远程诊断,人工智能推动着生产效率的跃升与产业形态的迭代。正如《指南》所展望的那样,未来,随着网络通信、前沿算法、存储算力等多元技术的深度融合,以及海量数据与前沿知识的双重加持,人工智能将彻底突破单一技术工具的局限,蜕变为贯穿千行万业生产链条的关键枢纽,融入千家万户的日常起居,成为人类社会高效运转不可或缺的底层支撑。

  • 阅读39
  • 下载0

新能源场站无人值班建设方案

新能源场站无人值班建设方案新能源场站无人值班建设方案新能源场站无人值班建设方案新能源场站无人值班建设方案新能源场站无人值班建设方案新能源场站无人值班建设方案

  • 阅读45
  • 下载1

零碳工厂建设与热能高效利用一事一议破局“零碳”技术路线

零碳工厂建设与热能高效利用一事一议破局“零碳”技术路线零碳工厂建设与热能高效利用一事一议破局“零碳”技术路线零碳工厂建设与热能高效利用一事一议破局“零碳”技术路线零碳工厂建设与热能高效利用一事一议破局“零碳”技术路线

  • 阅读45
  • 下载0
  • 关于我们

    电话:029-8838-6725

  • 新闻资讯

    企业简介 新闻动态 品牌实力 代理合作 诚聘英才 联系我们

  • 中服云

  • 工业互联网风向标

  • 在线咨询

西安/北京/南京/重庆/合肥/厦门/甘肃 地址:陕西省西安市雁塔区鱼跃工业园慧康生物科技产业园7楼 电话: 029-8838-6725

版权所有 @ 中服云 陕ICP备11002812号
  • 扫码咨询

    或

    点击立即咨询
  • 客服咨询

  • 用手机扫二维码

    或

    复制当前地址

  • 问题反馈 中服大讲堂 客服电话

方案库赚钱指南