• 首页

  • 方案库

  • 工业品库

  • 招标项目库

  • 专家库

  • 人才库

会员中心
搜索
登录
注册
  • 方案名称

解决方案

数字化转型通用方案行业方案安全方案大数据人工智能物联网行业展望自动控制其他

产品|技术

白皮书产品介绍技术介绍技术创新模型算法

政策|规范

政策规范行动计划

电子书

电子书课件

报告|论文

报告模板论文
  • 全部
  • 人气排行
  • 下载排行
  • 页数排行
  • 最新排行

网络攻防靶场的技术经验分享

什么是实网攻防演习:实网攻防演习 是有组织、有目的通过对实际环境 开 展网络攻击 ,以达到 通过实战 分析目标安全风险,检验目标综合防御能力的目的。 什么是实网攻防演习:明确目标系统,不限制攻击路径,以提 权 控制业务 获取数据为最终目的。

  • 2021-04-27
  • 阅读192
  • 下载0
  • 27页
  • pdf

小米AIOT安全思考与实践

隐私合规核查:APP权限过度申请是威胁用户隐私的一个重要问题。系统支持对APP申请的权限进行审查,包括地理位置、存储读取、传感器、摄像头、录音、短信等敏感权限。系统会根据APP类型打上标签,判断是否过度申请权限,只有通过 审查的APP才允许上架; 保障跨境隐私合规:近期海外安全隐私相关事件频发,国内多款APP被一些国家下架,造成了很大的影响。我们针对 海外APP跨境网络传输进行重点审核,保障APP的跨境传输隐私合规。

  • 2021-04-27
  • 阅读193
  • 下载0
  • 34页
  • pdf

PEM质子交换膜电解水制氢技术分析

质子交换膜电解水制氢技术分析在2019年政府工作报告中,国家将推进加氢站建设写进政府工作任务中,意在推动氢能基础设施建设,同时,对氢燃料电池汽车及加氢站的发展制定了具体目标,即到 2020 年实现5000辆级规模在特定地区公共服务用车领域的示范应用,建成100座加氢站;2025年实现5万辆规模的应用,建成300 座加氢站;2030年实现100万辆燃料电池汽车的商业化应用,建成 1000座加氢站。

  • 2021-04-28
  • 阅读159
  • 下载0
  • 3页
  • docx

大庆油田企业转型发展分析

大庆油田有限责任公司作为资源采掘型企业,资源走向枯竭是必然要面对的问题,转型升级是保持其高质量可持续发展的必然路径。分析国际石油公司转型方向和路径,结合公司现状、环境分析,明确企业转型方向:一是页岩油支撑稳产、开发技术闯市场、培育新能源业务;二是延伸产业链、增加附加值、发展新业态。提出多元化和产业链延伸两条转型路径,讨论大庆油田公司转型升级发展战略规划路线,为中国能源公司转型升级发展提供借鉴。

  • 2021-04-28
  • 阅读156
  • 下载0
  • 11页
  • docx

一种智能消防门禁系统

本实用新型提供一种智能消防门禁系统,用于在楼宇内充电电车的消防检测,包括有门禁主板、后台门禁管理系统、手机终端APP、自动重合闸、电车充电模块、感应装置、感应报警装置和供电模块,后台门禁管理系统的一端与手机终端APP电性连接,另一端与门禁主板电性连接,自动重合闸的一端与电车充电模块电性连接,另一端与门禁主板通过数据传输装置连接,感应装置的一端与门禁主板电性连接,另一端与感应报警装置电性连接,供电模块分别与门禁主板、感应装置、感应报警装置和自动重合闸电性连接,该智能消防门禁系统,便于在发生火灾时,能够及时的发送报警信息到外界,方便人员的及时疏散逃离和救援,大幅降低人员伤亡。

  • 2021-05-03
  • 阅读208
  • 下载0
  • 7页
  • pdf

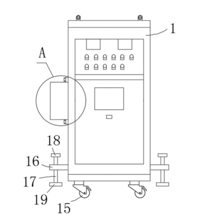
一种楼宇消防设备用智能消防柜

本实用新型提供了一种楼宇消防设备用智能消防柜,包括智能消防柜本体,所述智能消防柜本体的一侧设置有散热箱,所述散热箱的外侧焊接有固定块,所述固定块上螺纹连接有紧固螺栓,所述固定块通过紧固螺栓与智能消防柜本体固定连接,所述散热箱的内部固定设置有支架,所述支架上安装有通风扇,所述智能消防柜本体的侧壁上开设有通孔,所述通风扇设置在通孔的外侧,所述散热箱的左侧开设有进风口,所述进风口上固定设置有防尘网,所述散热箱的左侧壁内部开设有滑槽。本实用新型通过设置散热箱,在夏季智能消防柜本体内部温度较高时,通过打开通风扇,对智能消防柜本体内部进行通风散热,从而方便降低智能消防柜本体内部的温度。

  • 2021-05-07
  • 阅读214
  • 下载0
  • 8页
  • pdf

智能楼宇可视化对讲终端装置

本实用新型涉及可视化对讲终端领域,尤其为智能楼宇可视化对讲终端装置,包括机体,所述机体的后端内侧顶端固定连接有理线盒,所述理线盒的右侧设有横杆,所述横杆贯穿理线盒,且横杆与理线盒滑动连接,所述横杆的前端固定连接有挡板,所述挡板贯穿理线盒,且挡板与理线盒滑动连接,本实用新型中,通过设置的理线盒,这种设置配合理线盒与横杆和挡板的滑动连接、第一弹簧与卡块和理线盒的固定连接和限位柱与理线盒的滑动连接,拉动横杆,使横杆上的限位槽移动到限位柱处,限位柱经第二弹簧卡住横杆,把线路依次放入理线盒上的限位槽中,拉出限位柱,经第一弹簧形变弹动横杆复位,挡板把电线定位在理线盒中,防止电线短路。

  • 2021-05-07
  • 阅读186
  • 下载0
  • 7页
  • pdf

一种楼宇之间垂直高空智能数控坐标检测装置

本实用新型公开了一种楼宇之间垂直高空智能数控坐标检测装置,包括安装板,所述安装板的一端设置有检测箱,所述检测箱的底部设置有坐标检测探头,所述安装板的两侧均开设有定位槽,所述检测箱两侧与两个定位槽之间均滑动连接有L形滑板,所述检测箱顶部固定连接有第一螺纹块,所述安装板底部开设有与第一螺纹块相匹配的第一滑槽,所述第一滑槽内部设置有第一丝杆,所述第一丝杆一端连接有驱动电机。本实用新型通过设有检测箱在安装板表面移动,使检测箱带动坐标检测探头移动至最合理的检测位置,然后经过坐标检测探头对楼宇的处置高空坐标进行检测,从而有效的根据楼宇的倾斜范围对高空坐标进行准确检测定位。

  • 2021-05-07
  • 阅读207
  • 下载0
  • 8页
  • pdf
上一页 1 …… 8586878889909192939495 …… 2193 下一页 共 17542 条


立即登录

没有账户,需要注册

登录用户可享受以下权益
  • 免费下载方案
  • 服币提现
  • 发布方案得服币
  • 交易分成

精品推荐

国内重点工业物联网平台四类厂商分类及选型指南

国内重点工业物联网平台四类厂商分类及选型指南

  • 阅读183
  • 下载6

工业物联网平台的典型应用场景深度分析

工业物联网平台发展重点: 一是行业深耕化,从通用型平台向“一米宽、百米深”的行业垂直平台转型,聚焦能源、交通、化工等领域的特定需求,沉淀场景化解决方案与行业Know-how,而非追求“大而全”的覆盖能力。 二是智能融合化,工业大模型与平台深度结合,实现工业知识的智能化重构、应用开发的低代码化升级,以及生产运营的自感知、自决策、自优化闭环管控,AI成为提质增效的核心变量。 三是生态协同化,平台不再是单一技术载体,而是串联产业链上下游的协同中枢,通过跨系统数据融合、产学研用金深度合作,形成“数据-算力-应用”的生态闭环,赋能供应链协同与产业集群升级。 四是部署灵活化,采用“平台化产品+私有化部署”结合的模式,兼顾中小企业轻量化需求与大型集团定制化诉求,支持公有云、私有云、边缘端的混合部署,平衡成本与安全性。

  • 阅读235
  • 下载8

低空基础设施发展研究报告(2025)

当前,世界百年变局加速演进,新一轮科技革命和产业变革?深入发展,低空经济作为新质生产力的重要组成部分,正以前瞻?性、引领性姿态加速崛起,成为推动经济结构优化升级、塑造高?质量发展新动能的关键领域。

  • 阅读394
  • 下载1

华为数字化转型之道

首先从华为的视角总结了企业对于数字化转型的应有的共识,以及从战略角度阐述了华为为何推行数字化转型,然后给出了华为数字化转型的整体框架(方法论),以及企业数字化转型成熟度评估的方法,帮助读者在厘清华为开展数字化转型工作的整体脉络的同时,能快速对自身的数字化水平进行自检,

  • 阅读467
  • 下载4

最新上线

全球数字治理蓝皮书(2025)

全球数字治理蓝皮书(2025)全球数字治理蓝皮书(2025)全球数字治理蓝皮书(2025)全球数字治理蓝皮书(2025)全球数字治理蓝皮书(2025)全球数字治理蓝皮书(2025)

  • 阅读38
  • 下载0

人工智能赋能应用实践指南

当前,人类正处在新一轮科技革命和产业变革的历史关口,人工智能正以前所未有的速度重塑世界,为千行万业注入新动能。从工业制造的智能产线到农业生产的精准种植,从金融服务的智能风控到医疗健康的远程诊断,人工智能推动着生产效率的跃升与产业形态的迭代。正如《指南》所展望的那样,未来,随着网络通信、前沿算法、存储算力等多元技术的深度融合,以及海量数据与前沿知识的双重加持,人工智能将彻底突破单一技术工具的局限,蜕变为贯穿千行万业生产链条的关键枢纽,融入千家万户的日常起居,成为人类社会高效运转不可或缺的底层支撑。

  • 阅读38
  • 下载0

新能源场站无人值班建设方案

新能源场站无人值班建设方案新能源场站无人值班建设方案新能源场站无人值班建设方案新能源场站无人值班建设方案新能源场站无人值班建设方案新能源场站无人值班建设方案

  • 阅读44
  • 下载1

零碳工厂建设与热能高效利用一事一议破局“零碳”技术路线

零碳工厂建设与热能高效利用一事一议破局“零碳”技术路线零碳工厂建设与热能高效利用一事一议破局“零碳”技术路线零碳工厂建设与热能高效利用一事一议破局“零碳”技术路线零碳工厂建设与热能高效利用一事一议破局“零碳”技术路线

  • 阅读44
  • 下载0
  • 关于我们

    电话:029-8838-6725

  • 新闻资讯

    企业简介 新闻动态 品牌实力 代理合作 诚聘英才 联系我们

  • 中服云

  • 工业互联网风向标

  • 在线咨询

西安/北京/南京/重庆/合肥/厦门/甘肃 地址:陕西省西安市雁塔区鱼跃工业园慧康生物科技产业园7楼 电话: 029-8838-6725

版权所有 @ 中服云 陕ICP备11002812号
  • 扫码咨询

    或

    点击立即咨询
  • 客服咨询

  • 用手机扫二维码

    或

    复制当前地址

  • 问题反馈 中服大讲堂 客服电话

方案库赚钱指南