• 首页

  • 方案库

  • 工业品库

  • 招标项目库

  • 专家库

  • 人才库

会员中心
搜索
登录
注册
  • 方案名称

解决方案

数字化转型通用方案行业方案安全方案大数据人工智能物联网行业展望自动控制其他

产品|技术

白皮书产品介绍技术介绍技术创新模型算法

政策|规范

政策规范行动计划

电子书

电子书课件

报告|论文

报告模板论文
  • 全部
  • 人气排行
  • 下载排行
  • 页数排行
  • 最新排行

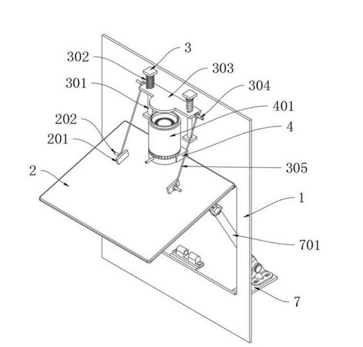
一种雨天可自动控制关闭的智能窗户

本发明提供一种雨天可自动控制关闭的智能窗户,涉及家居门窗技术领域,以解决现有的办公楼宇中的窗户多为下翻上开的方式,而在下雨时,如没有风将难以淋进雨水,可不必关窗户,而常规的雨量感应器只要感应到雨水就需要关窗户,此外,在雨天关闭窗户后,雨量传感器裸露在外,实际仍然一直处于触发状态,损耗寿命和电能的问题,包括窗架体;所述窗架体的中部上端棱边处通过铰轴转动安装有外开的玻璃窗主体;所述玻璃窗主体上方的窗架体外壁上竖向固定安装有复位机构;所述复位机构下方的窗架体前端侧壁上垂直固定安装有接雨托体。本发明中由于窗架体背部平面的中部上端固定安装有控制盒,达到自动雨天自动关窗的目的,而挡块可避免窗户关闭过头。

  • 2021-04-30
  • 阅读235
  • 下载0
  • 12页
  • pdf

一种楼宇统一管控系统及方法

本发明公开了一种楼宇统一管控系统,包括:设备智能管控模块、紧急事件处理模块、后勤事件处理模块、楼宇施工处理模块、日常巡检处理模块、视频监控模块分别与主服务器及主控显示屏连接;所述视频监控模块,用于识别进入楼宇的人员身份,与存储的楼宇人员的注册数据表进行比对,对于不属于本楼宇注册的人员,进行全楼宇无缝跟踪并向楼宇安保部门发送警告。本发明围绕楼宇能耗、设备、人员管控系统设计与实现,建立统一管控平台,提出了一种楼宇统一管控方法,实现楼宇的智能化管控。

  • 2021-04-30
  • 阅读191
  • 下载0
  • 12页
  • pdf

钢铁冶金节能典型方法技术介绍

高炉炉顶煤气余压回收发电技术是利用高炉炉顶煤气中的余压能及热能经透平膨胀做功来驱动发电机发电的一项技术。所用的透平装置TRT(Blast Furnace Top-pressure RecoveryTurbine Unit国际上简称为T R T)是利用炉顶煤气压力回收炼铁生产过程中的二次能源,是不消耗燃料,无污染的经济的发电设备。现代高炉炉顶压力达0.15到0.25兆帕,炉顶煤气中存在大量势能。TRT就是利用炉顶煤气剩余压力使气体在透平内膨胀做功,推动透平转动,带动发电机发电。这种发电方式既不消耗任何燃料,也不产生环境污染,发电成本又低是高炉冶炼工序的重大节能项目,经济效益十分显著。此技术在国外非常普及,国内正在逐步推广。TRT发电不消耗任何燃料就回收大量电力,根据炉顶压力不同每吨铁可发电20-40Kwh,如果高炉煤气采用干法除尘发电量可增加30%左右。一般炉子越大,炉顶压力越高,投资回收期越短。

  • 2021-04-28
  • 阅读321
  • 下载0
  • 8页
  • docx

一种安装有逃生滑道的智能楼宇

本发明公开了一种安装有逃生滑道的智能楼宇,包括楼宇主体,所述楼宇主体中设有大楼以及设于所述大楼底部的底座,所述大楼中设有滑道机构,所述底座中设有缓冲机构,所述滑道机构包括设于所述大楼前端的逃生滑道,本发明在大楼的每一层均设有安全逃生门并且连接在发生火灾时能够快速逃生的通道,避免电梯停止运作以及不安全的问题,以及高层楼道堵塞、逃离速度慢等问题,人们能够通过该通道实现快速向底层滑行,底层设有弹性缓冲垫,防止逃生人员受伤,同时在打开安全逃生门的同时触发气囊报警旗,用来提示人们发生火灾的具体楼层,给予救防人员具体灾害位置,加快救援时间,减少财务以及人员的损伤。

  • 2021-04-30
  • 阅读240
  • 下载0
  • 9页
  • pdf

一种基于物联网和大数据的建筑楼宇结构智能化监测系统及方法

本发明公开了一种基于物联网和大数据的建筑楼宇结构智能化监测系统,包括中央控制器(1)、大数据存储中心(2)、输出端(3)、若干监控传感单元(3)、移动查询和显示端(5)、中继通信单元(6)、报警单元(7);所述物联网通信链路优化单元,通过计算得出,为了读取相应的模块的数据,设置最佳通信链路,并在当前数据链路不同或最佳通信链路不通时,选择次优通信链路,以保证所述监控传感单元都能实时和中央控制器连接,实现监控和数据传输;实现更加精准的建筑楼宇结构智能化监测,这将对建筑楼结构的监控带来极大的方便和快捷。

  • 2021-04-30
  • 阅读239
  • 下载0
  • 13页
  • pdf

一种应用于楼宇智能化领域的温控智能启停空调

本实用新型涉及楼宇智能化技术领域,且公开了一种应用于楼宇智能化领域的温控智能启停空调,包括空调,所述空调的正面活动连接有控制板。该应用于楼宇智能化领域的温控智能启停空调,当电磁装置通电时,电磁装置会吸引电磁铁使得横杆左侧向下运动,从而使得金属块连接到触点一,从而使得触点一和触点二导通,从而达到了启动空调的目的,当电磁装置不通电时,触点一和触点二分离,从而达到了停止空调的目的,空调的启停无需人力控制,从而达到了节约人力的效果。当温度传感器温度过高或者过低时,会给电磁装置一个电信号,使得电磁装置启动空调,温度正常后,电信号消失,从而停止空调,因此无需长时间开启空调,达到了节省电力,节约资源的效果。

  • 2021-04-30
  • 阅读240
  • 下载0
  • 8页
  • pdf

炼铁物料理化和冶金性能检测方法汇总及分析

钢铁生产所需的原料和燃料的成份、冶金性能、物理性能检测是生产指标监控、提升和完善的关键,为稳定生产的稳定、经济技术指标的提高、各项技术攻关提供详细、准确、及时的数据。炼铁物料包括哪些?物料检测的内容有哪些?物料检测的作用是什么?如何检测物料的冶金性能?煤粉的粒度如何检测?

  • 2021-04-28
  • 阅读202
  • 下载0
  • 22页
  • docx

一种智能楼宇管理系统

本发明公开了一种智能楼宇管理系统,配置有快递存取区,快递存取区内配置有中心服务器和快递存放柜,快递存取区内设有颜色参考表和生物颜料区,颜色参考表反映不同颜色对应的幢数和楼层。为快递人员设定专用的快递员通道,快递人员无需进入小区即实现快递的存放。通过对存放前图像信息和存放后图像进行颜色识别,确保快递人员在离开前已使用生物颜料区的生物颜料对快递进行标记并且标记。住户可根据标识在快递上的两种生物颜料颜色快速减少需要具体查询的快递数量。第二IC卡绑定对应住户的信息,通过计算取用前重量值与取用后重量值的差值确定用户有无取用快递,同时对快递上的二维码进行识别确定被取用的快递信息,方便后期追溯。

  • 2021-04-29
  • 阅读238
  • 下载0
  • 10页
  • pdf
上一页 1 …… 8384858687888990919293 …… 2193 下一页 共 17542 条


立即登录

没有账户,需要注册

登录用户可享受以下权益
  • 免费下载方案
  • 服币提现
  • 发布方案得服币
  • 交易分成

精品推荐

国内重点工业物联网平台四类厂商分类及选型指南

国内重点工业物联网平台四类厂商分类及选型指南

  • 阅读185
  • 下载6

工业物联网平台的典型应用场景深度分析

工业物联网平台发展重点: 一是行业深耕化,从通用型平台向“一米宽、百米深”的行业垂直平台转型,聚焦能源、交通、化工等领域的特定需求,沉淀场景化解决方案与行业Know-how,而非追求“大而全”的覆盖能力。 二是智能融合化,工业大模型与平台深度结合,实现工业知识的智能化重构、应用开发的低代码化升级,以及生产运营的自感知、自决策、自优化闭环管控,AI成为提质增效的核心变量。 三是生态协同化,平台不再是单一技术载体,而是串联产业链上下游的协同中枢,通过跨系统数据融合、产学研用金深度合作,形成“数据-算力-应用”的生态闭环,赋能供应链协同与产业集群升级。 四是部署灵活化,采用“平台化产品+私有化部署”结合的模式,兼顾中小企业轻量化需求与大型集团定制化诉求,支持公有云、私有云、边缘端的混合部署,平衡成本与安全性。

  • 阅读236
  • 下载8

低空基础设施发展研究报告(2025)

当前,世界百年变局加速演进,新一轮科技革命和产业变革?深入发展,低空经济作为新质生产力的重要组成部分,正以前瞻?性、引领性姿态加速崛起,成为推动经济结构优化升级、塑造高?质量发展新动能的关键领域。

  • 阅读395
  • 下载1

华为数字化转型之道

首先从华为的视角总结了企业对于数字化转型的应有的共识,以及从战略角度阐述了华为为何推行数字化转型,然后给出了华为数字化转型的整体框架(方法论),以及企业数字化转型成熟度评估的方法,帮助读者在厘清华为开展数字化转型工作的整体脉络的同时,能快速对自身的数字化水平进行自检,

  • 阅读468
  • 下载4

最新上线

全球数字治理蓝皮书(2025)

全球数字治理蓝皮书(2025)全球数字治理蓝皮书(2025)全球数字治理蓝皮书(2025)全球数字治理蓝皮书(2025)全球数字治理蓝皮书(2025)全球数字治理蓝皮书(2025)

  • 阅读39
  • 下载0

人工智能赋能应用实践指南

当前,人类正处在新一轮科技革命和产业变革的历史关口,人工智能正以前所未有的速度重塑世界,为千行万业注入新动能。从工业制造的智能产线到农业生产的精准种植,从金融服务的智能风控到医疗健康的远程诊断,人工智能推动着生产效率的跃升与产业形态的迭代。正如《指南》所展望的那样,未来,随着网络通信、前沿算法、存储算力等多元技术的深度融合,以及海量数据与前沿知识的双重加持,人工智能将彻底突破单一技术工具的局限,蜕变为贯穿千行万业生产链条的关键枢纽,融入千家万户的日常起居,成为人类社会高效运转不可或缺的底层支撑。

  • 阅读39
  • 下载0

新能源场站无人值班建设方案

新能源场站无人值班建设方案新能源场站无人值班建设方案新能源场站无人值班建设方案新能源场站无人值班建设方案新能源场站无人值班建设方案新能源场站无人值班建设方案

  • 阅读45
  • 下载1

零碳工厂建设与热能高效利用一事一议破局“零碳”技术路线

零碳工厂建设与热能高效利用一事一议破局“零碳”技术路线零碳工厂建设与热能高效利用一事一议破局“零碳”技术路线零碳工厂建设与热能高效利用一事一议破局“零碳”技术路线零碳工厂建设与热能高效利用一事一议破局“零碳”技术路线

  • 阅读45
  • 下载0
  • 关于我们

    电话:029-8838-6725

  • 新闻资讯

    企业简介 新闻动态 品牌实力 代理合作 诚聘英才 联系我们

  • 中服云

  • 工业互联网风向标

  • 在线咨询

西安/北京/南京/重庆/合肥/厦门/甘肃 地址:陕西省西安市雁塔区鱼跃工业园慧康生物科技产业园7楼 电话: 029-8838-6725

版权所有 @ 中服云 陕ICP备11002812号
  • 扫码咨询

    或

    点击立即咨询
  • 客服咨询

  • 用手机扫二维码

    或

    复制当前地址

  • 问题反馈 中服大讲堂 客服电话

方案库赚钱指南