• 首页

  • 方案库

  • 工业品库

  • 招标项目库

  • 专家库

  • 人才库

会员中心
搜索
登录
注册
  • 方案名称

解决方案

数字化转型通用方案行业方案安全方案大数据人工智能物联网行业展望自动控制其他

产品|技术

白皮书产品介绍技术介绍技术创新模型算法

政策|规范

政策规范行动计划

电子书

电子书课件

报告|论文

报告模板论文
  • 全部
  • 人气排行
  • 下载排行
  • 页数排行
  • 最新排行

大数据时代及数据挖掘的应用最终版

马云对未来的预测,是建立在对用户行为分析的基础上。通常而言,买家在采购商品前,会比较多家供应商的产品。这些,反应到阿里巴巴网站的统计数据中,就是一查 询点击的数量和购买点击的数量会保持-一个相对的数值,综合各个维度的数据可建立用户行为模型。因为数据样本巨大,所以保证了用户行为模型的准确性。

  • 2021-04-27
  • 阅读172
  • 下载0
  • 56页
  • pdf

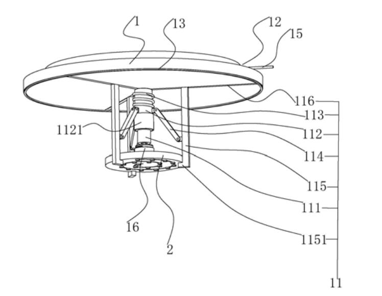
一种智能楼宇用SPI控制吊灯

本实用新型涉及一种智能楼宇用SPI控制吊灯,包括定位座、LED灯带和透光罩,所述定位座固定连接在天花板下方,所述定位座下方固定连接有一吊杆组件,所述吊杆组件与所述LED灯带可拆卸连接,所述透光罩设置在定位座下方且将吊杆组件和LED灯带笼罩其中,所述透光罩与定位座之间连接有卡扣组件,所述卡扣组件可拆卸连接于透光罩。本实用新型具有在连接零部件损坏时,透光罩等主体部件不损坏的情况下,对主体部件多次使用的优点。

  • 2021-05-03
  • 阅读197
  • 下载0
  • 11页
  • pdf

一种智能楼宇空调通风系统

本实用新型提供了一种智能楼宇空调通风系统,属于空气净化领域。该智能楼宇空调通风系统,包括壳体、过滤组件和清扫组件。所述过滤网板固定在所述壳体内,所述壳体侧壁连通有排渣管,所述负压风扇固定在所述排渣管端口处。所述螺杆与所述刷板螺纹连接;空气进入风管后通过壳体中的过滤网板,实现对空气中的杂质颗粒进行过滤,控制电机正反转带动螺杆旋转,使得螺杆推动刷板在过滤网板表面进行清扫,通过增大的排渣管与负压电机配合在排渣管端口形成负压,可将清扫后的杂质颗粒进行抽取排出壳体内,实现对杂质颗粒的清理,降低空调系统过滤负担,使得空调系统通风效果良好,减少维护成本。

  • 2021-05-03
  • 阅读198
  • 下载0
  • 8页
  • pdf

用于智能楼宇监控的安装座

本实用新型属于监控装置技术领域,尤其涉及一种用于智能楼宇监控的安装座。本实用新型通过在螺接板上设置U型板、固定板单元以及限位柱单元的方式,达到摄像头主体、电池、驱动电机以及连接导线稳定安装使用的效果。本实用新型具有监控设备安装结构稳定性高,不易掉落,安装结构拆装维修难度低,拆装步骤少,连接导线固定效果好、不易垂落,以及安装座整体结构配合紧凑、智能的优点。

  • 2021-05-07
  • 阅读219
  • 下载0
  • 9页
  • pdf

一种智能楼宇用信号线埋设管

本实用新型公开了一种智能楼宇用信号线埋设管,涉及电路安装领域,为解决现有技术中的现有的信号线埋设管在出现渗透时,无法及时发现进行处理的问题。所述第一埋设管体的下方设置有弯管,所述第一埋设管体的一侧安装有连接管,所述连接管的一侧安装有定位管,所述定位管的一侧安装有折管,所述折管的一侧安装有第二埋设管体,所述第一埋设管体的两端的外表面均设置有外螺纹,所述连接管的内部安装有密封圈,所述连接管的内部下端安装有限位块,所述折管的外表面设置有LED信号灯,所述折管的内表面安装有温湿度传感器,所述第一埋设管体的内表面设置有保温层,所述保温层的内部设置有信号线。

  • 2021-05-03
  • 阅读239
  • 下载0
  • 8页
  • pdf

一种智能数字楼宇可视对讲设备

本实用新型公开了一种智能数字楼宇可视对讲设备,包括铁质底座,其特征在于:所述铁质底座的一侧通过轴承固定安装有转动杆,所述铁质底座的外侧设置有智能可视对讲设备,所述铁质底座的中央开设有通线孔,所述通线孔的一侧套接安装有塑料通线管,所述塑料通线管的另一端固定安装有控制器,所述铁质底座的顶端焊接安装有挡雨板,所述智能可视对讲设备包括固定安装在铁质底座表面的控制面板,所述转动杆的外侧套接安装有凹型箱门,所述凹型箱门远离转动杆的一侧设置有磁条,所述凹型箱门的表面焊接安装有把手,所述控制面板的上方右侧固定安装有灯泡,本实用新型,具有实用性强和对摄像头有保护、安装维修方便的特点。

  • 2021-05-07
  • 阅读188
  • 下载0
  • 7页
  • pdf

一种智能化楼宇监控装置

本发明公开了一种智能化楼宇监控装置,包括监控系统,所述监控系统包括监控中心、环境监控模块、噪声监控模块、车位监控模块、分析模块以及存储模块。本发明通过设置的环境监测模块可以对室内与室外的环境进行检测,并通过分析模块得到室内室外的环境影响系数,环境影响系数代表居住的舒适性,同时分析模块还将室内室外的温度差进行计算,当室内室外的温度差大于设定阈值时,监控中心向业主发送温差预警信号,提醒业主出行时增减衣物或减少出行次数,对业主提供关怀,提高用户体验。通过设置的车位监控模块可以对小区内的公共车位与私有车位进行监控,智能化、人性化的处理小区停车问题。

  • 2021-05-03
  • 阅读200
  • 下载0
  • 11页
  • pdf

基于挑战应答机制的智能楼宇移动设备认证系统、方法

本发明公开了基于挑战应答机制的智能楼宇移动设备认证系统、方法,包括控制中心、中继节点、路由器和移动设备,移动设备用于向路由器发送注册申请、申请命令执行、发起挑战、做出应答、发送和接收生成码。路由器用于选择和设定路由,广播连接设备的生成码、处理网络请求,转发控制请求,定位移动设备。控制中心用于分析控制请求的合理性、判别可疑设备并切断其广播其生成码、分析可能遭受攻击的设备并判断楼宇内关键设备是否被攻击,触发报警装置。本发明通过采用挑战应答方式进行智能楼宇内移动设备的安全防护的技术手段,在充分保证用户隐私的前提下克服现有技术中存在的恶意信息物理融合攻击隐患。

  • 2021-04-30
  • 阅读202
  • 下载0
  • 14页
  • pdf
上一页 1 …… 8182838485868788899091 …… 2193 下一页 共 17542 条


立即登录

没有账户,需要注册

登录用户可享受以下权益
  • 免费下载方案
  • 服币提现
  • 发布方案得服币
  • 交易分成

精品推荐

国内重点工业物联网平台四类厂商分类及选型指南

国内重点工业物联网平台四类厂商分类及选型指南

  • 阅读183
  • 下载6

工业物联网平台的典型应用场景深度分析

工业物联网平台发展重点: 一是行业深耕化,从通用型平台向“一米宽、百米深”的行业垂直平台转型,聚焦能源、交通、化工等领域的特定需求,沉淀场景化解决方案与行业Know-how,而非追求“大而全”的覆盖能力。 二是智能融合化,工业大模型与平台深度结合,实现工业知识的智能化重构、应用开发的低代码化升级,以及生产运营的自感知、自决策、自优化闭环管控,AI成为提质增效的核心变量。 三是生态协同化,平台不再是单一技术载体,而是串联产业链上下游的协同中枢,通过跨系统数据融合、产学研用金深度合作,形成“数据-算力-应用”的生态闭环,赋能供应链协同与产业集群升级。 四是部署灵活化,采用“平台化产品+私有化部署”结合的模式,兼顾中小企业轻量化需求与大型集团定制化诉求,支持公有云、私有云、边缘端的混合部署,平衡成本与安全性。

  • 阅读235
  • 下载8

低空基础设施发展研究报告(2025)

当前,世界百年变局加速演进,新一轮科技革命和产业变革?深入发展,低空经济作为新质生产力的重要组成部分,正以前瞻?性、引领性姿态加速崛起,成为推动经济结构优化升级、塑造高?质量发展新动能的关键领域。

  • 阅读394
  • 下载1

华为数字化转型之道

首先从华为的视角总结了企业对于数字化转型的应有的共识,以及从战略角度阐述了华为为何推行数字化转型,然后给出了华为数字化转型的整体框架(方法论),以及企业数字化转型成熟度评估的方法,帮助读者在厘清华为开展数字化转型工作的整体脉络的同时,能快速对自身的数字化水平进行自检,

  • 阅读467
  • 下载4

最新上线

全球数字治理蓝皮书(2025)

全球数字治理蓝皮书(2025)全球数字治理蓝皮书(2025)全球数字治理蓝皮书(2025)全球数字治理蓝皮书(2025)全球数字治理蓝皮书(2025)全球数字治理蓝皮书(2025)

  • 阅读38
  • 下载0

人工智能赋能应用实践指南

当前,人类正处在新一轮科技革命和产业变革的历史关口,人工智能正以前所未有的速度重塑世界,为千行万业注入新动能。从工业制造的智能产线到农业生产的精准种植,从金融服务的智能风控到医疗健康的远程诊断,人工智能推动着生产效率的跃升与产业形态的迭代。正如《指南》所展望的那样,未来,随着网络通信、前沿算法、存储算力等多元技术的深度融合,以及海量数据与前沿知识的双重加持,人工智能将彻底突破单一技术工具的局限,蜕变为贯穿千行万业生产链条的关键枢纽,融入千家万户的日常起居,成为人类社会高效运转不可或缺的底层支撑。

  • 阅读38
  • 下载0

新能源场站无人值班建设方案

新能源场站无人值班建设方案新能源场站无人值班建设方案新能源场站无人值班建设方案新能源场站无人值班建设方案新能源场站无人值班建设方案新能源场站无人值班建设方案

  • 阅读43
  • 下载1

零碳工厂建设与热能高效利用一事一议破局“零碳”技术路线

零碳工厂建设与热能高效利用一事一议破局“零碳”技术路线零碳工厂建设与热能高效利用一事一议破局“零碳”技术路线零碳工厂建设与热能高效利用一事一议破局“零碳”技术路线零碳工厂建设与热能高效利用一事一议破局“零碳”技术路线

  • 阅读44
  • 下载0
  • 关于我们

    电话:029-8838-6725

  • 新闻资讯

    企业简介 新闻动态 品牌实力 代理合作 诚聘英才 联系我们

  • 中服云

  • 工业互联网风向标

  • 在线咨询

西安/北京/南京/重庆/合肥/厦门/甘肃 地址:陕西省西安市雁塔区鱼跃工业园慧康生物科技产业园7楼 电话: 029-8838-6725

版权所有 @ 中服云 陕ICP备11002812号
  • 扫码咨询

    或

    点击立即咨询
  • 客服咨询

  • 用手机扫二维码

    或

    复制当前地址

  • 问题反馈 中服大讲堂 客服电话

方案库赚钱指南