• 首页

  • 方案库

  • 工业品库

  • 招标项目库

  • 专家库

  • 人才库

会员中心
搜索
登录
注册
  • 方案名称

解决方案

数字化转型通用方案行业方案安全方案大数据人工智能物联网行业展望自动控制其他

产品|技术

白皮书产品介绍技术介绍技术创新模型算法

政策|规范

政策规范行动计划

电子书

电子书课件

报告|论文

报告模板论文
  • 全部
  • 人气排行
  • 下载排行
  • 页数排行
  • 最新排行

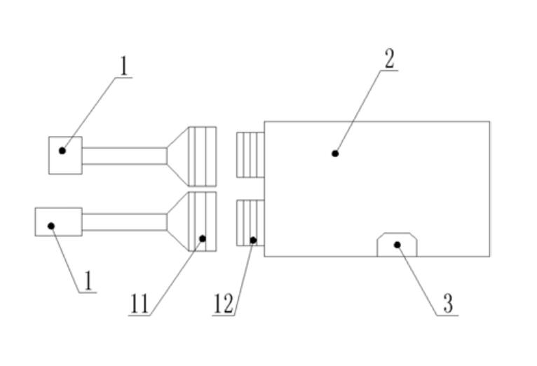
供热单元温度智能平衡装置

本实用新型涉及一种供热单元温度智能平衡装置,属于无线温度监测终端技术领域,包括主板,主板的一侧设有电连接的MicroUSB接口、另一侧设有若干个航空插头,航空插头一端与主板电连接、另一端设有可拆卸连接的探头接口,探头接口的自由端设有可拆卸电连接的温度探头。通过供热单元温度智能平衡装置可直接通过无线方式实现温度采集上报模式或低功耗采集模式,无需有人在现场进行数据的集中收集工作,省时省力,提高了工作效率,采用NB?IoT或者4G方式进行数据上传,传输效果较好,不易受楼宇等建筑物对信号传输的影响,实用性和适应性较好;通过航空插头可轻松实现温度探头的更换与拆卸,操作简单快捷,工作效率较高。

  • 2021-04-29
  • 阅读186
  • 下载0
  • 7页
  • pdf

一种能清理垃圾桶的智能楼宇装置

本发明公开的一种能清理垃圾桶的智能楼宇装置,包括大楼,所述大楼内上侧阵列开设有多层楼层空间,所述大楼最下侧开设有垃圾收集空间,上下两层的所述楼层空间之间设置有排出装置,所述排出装置包括与所述楼层空间右侧固定连接的垃圾桶 ,通过转动转动丝杆转动,从而使得挡块向右移动,从而将墙体通道打开,垃圾从通道中逐层落下,同时通过搅拌块转动,使得垃圾桶中的垃圾不会堵塞在连接桶中,同时通过凸轮转动,从而使得管道左右移动,从而使得垃圾不会在管道内堵塞。

  • 2021-04-29
  • 阅读188
  • 下载0
  • 9页
  • pdf

大数据助力政务服务

NYC311作为全美最大的非紧急311服务,提供180种语言,全天候无间断服务,峰值达到27.5万次/天,改变了纽约市政府提供市民服务的方式。包括以下几方面的内容:总体说明、数据治理体系、数据治理核模块、数据治理场景等。

  • 2021-04-28
  • 阅读201
  • 下载0
  • 33页
  • pdf

软件工程

需求分析是指开发人员要准确理解用户的要求,进行细致的调查分析,将用户非形式的需求陈述转化为完整的需求定义,再由需求定义转换到相应的形式功能规约(需求规格说明)的过程。

  • 2021-04-28
  • 阅读206
  • 下载0
  • 92页
  • pdf

国内外钛、锆、铪冶金新工艺新方法进展

钛、锆、铪同位于元素周期表中第ⅣB族,三者的开采冶炼较难,且工业应用较晚,均属于稀有金属。三者的制备方法都可以分为金属热还原法和熔盐电解法两大类。本文总结了三种金属近年来的制备新工艺,同传统工艺进行了比较,分析了各自的优缺点、应用现状及发展趋势。

  • 2021-04-28
  • 阅读216
  • 下载0
  • 19页
  • docx

冯泉驾培信息化与大数据应用

1986年,国务院改革交通管理体制,将机动车驾驶员考试发证工作移交公安交通管理部门(《国务院关于改革道路交通管理体制的通知》国发[1986] 94号) ,此后,随着机动车保有量的增加,社会对驾驶员的需求逐渐增大,出现了少量的专业驾驶培训机构,但基本上都是公安或交通系统内的相关单位开办的。

  • 2021-04-28
  • 阅读215
  • 下载0
  • 45页
  • pdf

从图像感应展看人工智能带动工业成像新方案

2019年6月12日至14日,由先进传播媒介有限公司主办、日本图像协会协办的日本横滨第34届图像感应展 “Image Sensing Show 2019” (以下简称ISS)在横滨太平洋(Pacifico Yokohama)会展中心D馆展开。今年的ISS根据主题划分为国际机器视觉标准展位、特别展示区、精密工程博览区、系统集成区等区域。ISS汇聚了来自全球各地众多展商的光学设备和机器视觉前沿产品。其中包括工业镜头,工业光源,以及工业视觉系统等产品。

  • 2021-04-28
  • 阅读189
  • 下载0
  • 10页
  • docx

大数据安全专题研究

大数据(big data),也称巨量资料,指的是所涉及的资料量规模巨大到无法透过目前主流软件工具在合理时间内达到撷取、管理、处理、并整理成为帮助企业经营决策更积极目的的资讯。

  • 2021-04-26
  • 阅读189
  • 下载0
  • 39页
  • pdf
上一页 1 …… 7778798081828384858687 …… 2193 下一页 共 17542 条


立即登录

没有账户,需要注册

登录用户可享受以下权益
  • 免费下载方案
  • 服币提现
  • 发布方案得服币
  • 交易分成

精品推荐

国内重点工业物联网平台四类厂商分类及选型指南

国内重点工业物联网平台四类厂商分类及选型指南

  • 阅读183
  • 下载6

工业物联网平台的典型应用场景深度分析

工业物联网平台发展重点: 一是行业深耕化,从通用型平台向“一米宽、百米深”的行业垂直平台转型,聚焦能源、交通、化工等领域的特定需求,沉淀场景化解决方案与行业Know-how,而非追求“大而全”的覆盖能力。 二是智能融合化,工业大模型与平台深度结合,实现工业知识的智能化重构、应用开发的低代码化升级,以及生产运营的自感知、自决策、自优化闭环管控,AI成为提质增效的核心变量。 三是生态协同化,平台不再是单一技术载体,而是串联产业链上下游的协同中枢,通过跨系统数据融合、产学研用金深度合作,形成“数据-算力-应用”的生态闭环,赋能供应链协同与产业集群升级。 四是部署灵活化,采用“平台化产品+私有化部署”结合的模式,兼顾中小企业轻量化需求与大型集团定制化诉求,支持公有云、私有云、边缘端的混合部署,平衡成本与安全性。

  • 阅读235
  • 下载8

低空基础设施发展研究报告(2025)

当前,世界百年变局加速演进,新一轮科技革命和产业变革?深入发展,低空经济作为新质生产力的重要组成部分,正以前瞻?性、引领性姿态加速崛起,成为推动经济结构优化升级、塑造高?质量发展新动能的关键领域。

  • 阅读394
  • 下载1

华为数字化转型之道

首先从华为的视角总结了企业对于数字化转型的应有的共识,以及从战略角度阐述了华为为何推行数字化转型,然后给出了华为数字化转型的整体框架(方法论),以及企业数字化转型成熟度评估的方法,帮助读者在厘清华为开展数字化转型工作的整体脉络的同时,能快速对自身的数字化水平进行自检,

  • 阅读467
  • 下载4

最新上线

全球数字治理蓝皮书(2025)

全球数字治理蓝皮书(2025)全球数字治理蓝皮书(2025)全球数字治理蓝皮书(2025)全球数字治理蓝皮书(2025)全球数字治理蓝皮书(2025)全球数字治理蓝皮书(2025)

  • 阅读38
  • 下载0

人工智能赋能应用实践指南

当前,人类正处在新一轮科技革命和产业变革的历史关口,人工智能正以前所未有的速度重塑世界,为千行万业注入新动能。从工业制造的智能产线到农业生产的精准种植,从金融服务的智能风控到医疗健康的远程诊断,人工智能推动着生产效率的跃升与产业形态的迭代。正如《指南》所展望的那样,未来,随着网络通信、前沿算法、存储算力等多元技术的深度融合,以及海量数据与前沿知识的双重加持,人工智能将彻底突破单一技术工具的局限,蜕变为贯穿千行万业生产链条的关键枢纽,融入千家万户的日常起居,成为人类社会高效运转不可或缺的底层支撑。

  • 阅读38
  • 下载0

新能源场站无人值班建设方案

新能源场站无人值班建设方案新能源场站无人值班建设方案新能源场站无人值班建设方案新能源场站无人值班建设方案新能源场站无人值班建设方案新能源场站无人值班建设方案

  • 阅读42
  • 下载1

零碳工厂建设与热能高效利用一事一议破局“零碳”技术路线

零碳工厂建设与热能高效利用一事一议破局“零碳”技术路线零碳工厂建设与热能高效利用一事一议破局“零碳”技术路线零碳工厂建设与热能高效利用一事一议破局“零碳”技术路线零碳工厂建设与热能高效利用一事一议破局“零碳”技术路线

  • 阅读44
  • 下载0
  • 关于我们

    电话:029-8838-6725

  • 新闻资讯

    企业简介 新闻动态 品牌实力 代理合作 诚聘英才 联系我们

  • 中服云

  • 工业互联网风向标

  • 在线咨询

西安/北京/南京/重庆/合肥/厦门/甘肃 地址:陕西省西安市雁塔区鱼跃工业园慧康生物科技产业园7楼 电话: 029-8838-6725

版权所有 @ 中服云 陕ICP备11002812号
  • 扫码咨询

    或

    点击立即咨询
  • 客服咨询

  • 用手机扫二维码

    或

    复制当前地址

  • 问题反馈 中服大讲堂 客服电话

方案库赚钱指南