• 首页

  • 方案库

  • 工业品库

  • 招标项目库

  • 专家库

  • 人才库

会员中心
搜索
登录
注册
  • 方案名称

解决方案

数字化转型通用方案行业方案安全方案大数据人工智能物联网行业展望自动控制其他

产品|技术

白皮书产品介绍技术介绍技术创新模型算法

政策|规范

政策规范行动计划

电子书

电子书课件

报告|论文

报告模板论文
  • 全部
  • 人气排行
  • 下载排行
  • 页数排行
  • 最新排行

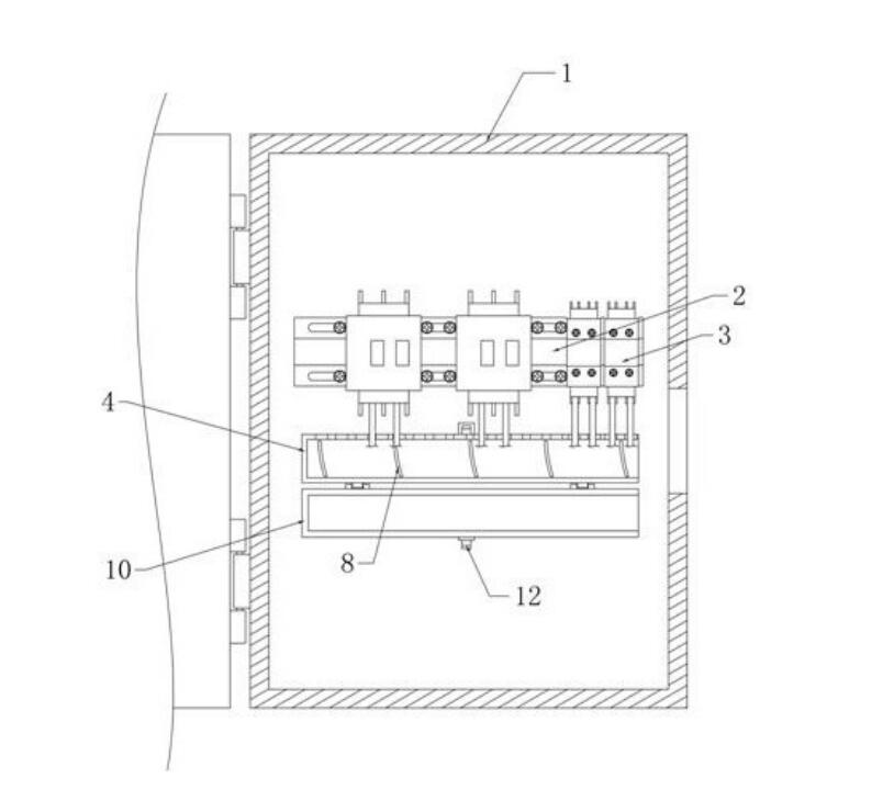
一种排线整齐的智能楼宇控制柜

本发明涉及控制柜技术领域,且公开了一种排线整齐的智能楼宇控制柜,包括控制柜、导轨及配电设备,所述控制柜的下方设有第一集线壳,所述第一集线壳的顶端开有收线槽,所述第一集线壳的背部固定连接有T形连接杆,所述控制柜的内侧壁上与T形连接杆对应的位置固定设有连接板。本发明可对控制柜里的电线进行收纳分类,使柜内排线整齐,便于维修。

  • 2021-04-30
  • 阅读195
  • 下载0
  • 12页
  • pdf

常用的特殊冶金法与炼钢冶炼方法大汇总

一种不需外加热源、主要以液态生铁为原料的炼钢方法。其主要特点是靠转炉内液态生铁的物理热和生铁内各组分,如碳、锰、硅、磷等与送入炉内的氧气进行化学反应所产生的热量作冶炼热源来炼钢。炉料除铁水外,还有造渣料(石灰、石英、萤石等);为了调整温度,还可加入废钢以及少量的冷生铁和矿石等。

  • 2021-04-28
  • 阅读214
  • 下载0
  • 13页
  • docx

一种智能楼宇监控设备

本实用新型公开了一种智能楼宇监控设备,包括安装板,所述安装板的一侧表面均设有固定块,且固定块上安装有固定杆。有益效果:本实用新型通过固定杆和支撑杆,能够有效提高支撑板的稳定性,即使在受到大风天气时,也不易受强风影响而导致监控摄像头的视角发生改变,有利于提高监控设备的稳定性,照明灯在夜晚为行人提供照明的同时,还可以为监控设备提供足够的灯光,使监控设备更加清晰的进行监控,有利于提高监控质量,通过顺时针转动连接块,促使卡块与卡槽紧固卡接,便于对监控摄像头进行安装,当后期需要对监控摄像头进行检修或保养时,直接通过逆时针转动连接块,促使卡块与卡槽分离,便于拆卸监控摄像头进行检修或保养。

  • 2021-04-30
  • 阅读201
  • 下载0
  • 8页
  • pdf

一种智能梯口机

本实用新型提供的一种智能梯口机,包括壳体,壳体前部分别设置有功能组件、按键及门卡识别组件,壳体侧部设置有向外开口的功能槽,功能槽内部设置有补光组件,补光组件包括密封板、承载架及灯光模组,补光组件通过设置于壳体上侧的移动件实现水平移动以暴露灯光模组;功能组件包括人像识别组件、指纹识别组件红外控制组件及光感应组件,功能该组件还包括设置在壳体内部的音频组件以实现楼宇对话功能;本实用新型结构简单,有效减少补光组件因环境因素受损的概率。

  • 2021-04-30
  • 阅读198
  • 下载0
  • 7页
  • pdf

新的冶金长度检测方法及模型改进

在2013年钢铁生产中,90%以上的粗钢经由连铸机生产,连铸工艺过程是将液态钢水进入到连铸机的结晶器,铸坯下行中不断凝固增加固态坯壳厚度,离开铸机后切割前成为完全固态的铸坯。安全高效生产高质量铸坯是液态钢水在连铸机内凝固成型的主要目标,为了这个目标,钢铁生产和科研工作者致力于开发新的方法,其中就包括检测和预报模型系统。准确定义铸坯完全凝固地点(即凝固末端)是一件困难的工作,铸坯“完全凝固”取决于对此特别的认识,对凝固所采用的检测技术和相适应的模型。

  • 2021-04-28
  • 阅读201
  • 下载0
  • 16页
  • docx

一种用于楼宇的智能对讲设备

本实用新型涉及楼宇对讲设备技术领域,具体是一种用于楼宇的智能对讲设备,所述对讲机面板的前表面位于上方位置处设置有摄像头,且对讲机面板的后方设置有防护板,所述对讲机面板的表面位于摄像头的外侧位置处开设有凹槽,所述摄像头的前侧设置有防护壳,所述防护板的上方位于外侧位置处设置有活动挡板。本实用新型设计新颖,防护效果好,如遇雨天,可将活动挡板向下拉,滑杆于滑槽的内部滑动,使得活动挡板逐渐倾斜,移动至对讲机面板的前侧,防止雨水飞溅至对讲机面板的表面,对设备造成损坏,因活动挡板采用透明PP材质,故不会影响设备的正常使用,同时,防护壳可对摄像头进行进一步的防护,且拆装方便。

  • 2021-04-29
  • 阅读204
  • 下载0
  • 8页
  • pdf

智能门通用设计

本发明公开了一种智能门,所述智能门包括:门体;门锁组件,所述门锁组件设于所述门体,所述门锁组件用于控制所述门体的锁定或解锁;门内单元机,所述门内单元机包括显示屏,所述门内单元机适于与外部楼宇门单元机通讯;猫眼组件,所述猫眼组件包括图像采集装置,所述猫眼组件与所述门内单元机通讯。根据本发明实施例的智能门具有外形简洁美观、集成度高和便于节约成本等优点。

  • 2021-04-29
  • 阅读194
  • 下载0
  • 9页
  • pdf

企业局域网组建49336

可行性分析的目标是确定用户的需求。内容包括:现有网络的简单情况和为什么要组建网络;用户需求是否能够便用现有网络技术实现,可能性有多大;组网技术的条件和难点;资金投入能否产生效益;最后得出基否可行。

  • 2021-04-28
  • 阅读221
  • 下载0
  • 44页
  • pdf
上一页 1 …… 7677787980818283848586 …… 2193 下一页 共 17542 条


立即登录

没有账户,需要注册

登录用户可享受以下权益
  • 免费下载方案
  • 服币提现
  • 发布方案得服币
  • 交易分成

精品推荐

国内重点工业物联网平台四类厂商分类及选型指南

国内重点工业物联网平台四类厂商分类及选型指南

  • 阅读183
  • 下载6

工业物联网平台的典型应用场景深度分析

工业物联网平台发展重点: 一是行业深耕化,从通用型平台向“一米宽、百米深”的行业垂直平台转型,聚焦能源、交通、化工等领域的特定需求,沉淀场景化解决方案与行业Know-how,而非追求“大而全”的覆盖能力。 二是智能融合化,工业大模型与平台深度结合,实现工业知识的智能化重构、应用开发的低代码化升级,以及生产运营的自感知、自决策、自优化闭环管控,AI成为提质增效的核心变量。 三是生态协同化,平台不再是单一技术载体,而是串联产业链上下游的协同中枢,通过跨系统数据融合、产学研用金深度合作,形成“数据-算力-应用”的生态闭环,赋能供应链协同与产业集群升级。 四是部署灵活化,采用“平台化产品+私有化部署”结合的模式,兼顾中小企业轻量化需求与大型集团定制化诉求,支持公有云、私有云、边缘端的混合部署,平衡成本与安全性。

  • 阅读235
  • 下载8

低空基础设施发展研究报告(2025)

当前,世界百年变局加速演进,新一轮科技革命和产业变革?深入发展,低空经济作为新质生产力的重要组成部分,正以前瞻?性、引领性姿态加速崛起,成为推动经济结构优化升级、塑造高?质量发展新动能的关键领域。

  • 阅读394
  • 下载1

华为数字化转型之道

首先从华为的视角总结了企业对于数字化转型的应有的共识,以及从战略角度阐述了华为为何推行数字化转型,然后给出了华为数字化转型的整体框架(方法论),以及企业数字化转型成熟度评估的方法,帮助读者在厘清华为开展数字化转型工作的整体脉络的同时,能快速对自身的数字化水平进行自检,

  • 阅读467
  • 下载4

最新上线

全球数字治理蓝皮书(2025)

全球数字治理蓝皮书(2025)全球数字治理蓝皮书(2025)全球数字治理蓝皮书(2025)全球数字治理蓝皮书(2025)全球数字治理蓝皮书(2025)全球数字治理蓝皮书(2025)

  • 阅读38
  • 下载0

人工智能赋能应用实践指南

当前,人类正处在新一轮科技革命和产业变革的历史关口,人工智能正以前所未有的速度重塑世界,为千行万业注入新动能。从工业制造的智能产线到农业生产的精准种植,从金融服务的智能风控到医疗健康的远程诊断,人工智能推动着生产效率的跃升与产业形态的迭代。正如《指南》所展望的那样,未来,随着网络通信、前沿算法、存储算力等多元技术的深度融合,以及海量数据与前沿知识的双重加持,人工智能将彻底突破单一技术工具的局限,蜕变为贯穿千行万业生产链条的关键枢纽,融入千家万户的日常起居,成为人类社会高效运转不可或缺的底层支撑。

  • 阅读38
  • 下载0

新能源场站无人值班建设方案

新能源场站无人值班建设方案新能源场站无人值班建设方案新能源场站无人值班建设方案新能源场站无人值班建设方案新能源场站无人值班建设方案新能源场站无人值班建设方案

  • 阅读42
  • 下载1

零碳工厂建设与热能高效利用一事一议破局“零碳”技术路线

零碳工厂建设与热能高效利用一事一议破局“零碳”技术路线零碳工厂建设与热能高效利用一事一议破局“零碳”技术路线零碳工厂建设与热能高效利用一事一议破局“零碳”技术路线零碳工厂建设与热能高效利用一事一议破局“零碳”技术路线

  • 阅读44
  • 下载0
  • 关于我们

    电话:029-8838-6725

  • 新闻资讯

    企业简介 新闻动态 品牌实力 代理合作 诚聘英才 联系我们

  • 中服云

  • 工业互联网风向标

  • 在线咨询

西安/北京/南京/重庆/合肥/厦门/甘肃 地址:陕西省西安市雁塔区鱼跃工业园慧康生物科技产业园7楼 电话: 029-8838-6725

版权所有 @ 中服云 陕ICP备11002812号
  • 扫码咨询

    或

    点击立即咨询
  • 客服咨询

  • 用手机扫二维码

    或

    复制当前地址

  • 问题反馈 中服大讲堂 客服电话

方案库赚钱指南