• 首页

  • 方案库

  • 工业品库

  • 招标项目库

  • 专家库

  • 人才库

会员中心
搜索
登录
注册
  • 方案名称

解决方案

数字化转型通用方案行业方案安全方案大数据人工智能物联网行业展望自动控制其他

产品|技术

白皮书产品介绍技术介绍技术创新模型算法

政策|规范

政策规范行动计划

电子书

电子书课件

报告|论文

报告模板论文
  • 全部
  • 人气排行
  • 下载排行
  • 页数排行
  • 最新排行

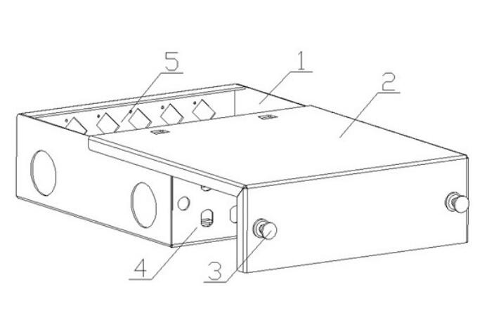
一种用于光缆终端盒中光纤适配器布局的结构

本实用新型涉及一种用于光缆终端盒中光纤适配器布局的结构;其结构是塑料铆钉安装于盒盖,盒盖设于盒体顶部,通过塑料铆钉连接,A安装面、B安装面对称设于盒体两端。特点:1)产品结构新颖,布局合理,灵活多用;2)制造成本和操作难度低,实用性高。

  • 2021-04-28
  • 阅读216
  • 下载0
  • 6页
  • pdf

《硬件详细设计文档》解析之四 归一化审查

归一化工作按照层次分类:器件归一化,电路板归一化,硬件平台归一化,网络结构归一化; 平台归一化是:一套硬件平台,通过不同的硬件模块的组合,承载不同的软件加载,可以支持不同的业务,既可以支持这个业务,也可以支持那个业务。例如我们以前开发的硬件平台,业务类型支持:彩信、彩铃、短信,呼叫中心、统一通信等场景。

  • 2021-04-28
  • 阅读354
  • 下载0
  • 15页
  • docx

《硬件详细设计文档》解析之三 单元详细描述

总体设计阶段,已经写了一些专题分析,例如电源专题、时钟专题,都是套套模板,然后例行公事。所以,这时候很多工程师,都是从总体设计里面摘录一些内容,填上,就完事儿了。把总体设计的一些内容,直接填充到这个章节,就自然形成了各个单元模块的内容。

  • 2021-04-28
  • 阅读189
  • 下载0
  • 7页
  • docx

《硬件详细设计文档》解析之二 单板上电、复位设计

详细说明单元间复位顺序、Watchdog设计、复位单元加载顺序。如果提供局部及全局分级复位请说明其层次关系。需要给出图示和文字解释。给出单板复位、断电重启的流程图。并粗略估计各流程所需的时间。需要结合故障管理方案,考虑在故障情况下的复位重启要求

  • 2021-04-28
  • 阅读192
  • 下载0
  • 8页
  • docx

《硬件详细设计文档》解析之一

近期,我们会展开系列化的讲解,展开一个硬件详细设计波澜壮阔的完成过程,同时让大家也感受到如果细致认真的完成这么一个文档的艰辛的撰写过程

  • 2021-04-28
  • 阅读212
  • 下载0
  • 7页
  • docx

《硬件详细设计文档》解析之五 可靠性指标

可靠性要求分类 定性要求用一种非量化的形式来设计、评价和保证产品的可靠性。 定量要求规定产品的可靠性参数、指标和相应的验证方法。用定量方法进行设计分析,进行可靠性验证,从而保证产品的可靠性。

  • 2021-04-28
  • 阅读178
  • 下载0
  • 25页
  • docx

软件与软件工程

软件是逻辑产品,硬件是物理产品。特点:软件开发更依赖于开发人员的业务素质、智力、人员的组织、合作和管理。软件开发、设计几乎都是从头开始,成本和进度很难估计。软件存在潜伏错误,硬件错误-般能排除。软件开发成功后,只需对原版进行复制。

  • 2021-04-28
  • 阅读206
  • 下载0
  • 82页
  • pdf

海得控制智能工厂相关产品介绍

建立生产过程数据采集和分析系统,能充分采集制造进度、现场操作、质量检验、设备状态等生产现场信息,并与 MES 实现数据集成和分析。 建立车间制造执行系统(MES),实现计划、排产,生产、检验和全过程闭环管理,并与企业资源计划系统( ERP )集成。

  • 2021-04-27
  • 阅读199
  • 下载0
  • 96页
  • pdf
上一页 1 …… 919293949596979899100101 …… 2193 下一页 共 17542 条


立即登录

没有账户,需要注册

登录用户可享受以下权益
  • 免费下载方案
  • 服币提现
  • 发布方案得服币
  • 交易分成

精品推荐

国内重点工业物联网平台四类厂商分类及选型指南

国内重点工业物联网平台四类厂商分类及选型指南

  • 阅读184
  • 下载6

工业物联网平台的典型应用场景深度分析

工业物联网平台发展重点: 一是行业深耕化,从通用型平台向“一米宽、百米深”的行业垂直平台转型,聚焦能源、交通、化工等领域的特定需求,沉淀场景化解决方案与行业Know-how,而非追求“大而全”的覆盖能力。 二是智能融合化,工业大模型与平台深度结合,实现工业知识的智能化重构、应用开发的低代码化升级,以及生产运营的自感知、自决策、自优化闭环管控,AI成为提质增效的核心变量。 三是生态协同化,平台不再是单一技术载体,而是串联产业链上下游的协同中枢,通过跨系统数据融合、产学研用金深度合作,形成“数据-算力-应用”的生态闭环,赋能供应链协同与产业集群升级。 四是部署灵活化,采用“平台化产品+私有化部署”结合的模式,兼顾中小企业轻量化需求与大型集团定制化诉求,支持公有云、私有云、边缘端的混合部署,平衡成本与安全性。

  • 阅读236
  • 下载8

低空基础设施发展研究报告(2025)

当前,世界百年变局加速演进,新一轮科技革命和产业变革?深入发展,低空经济作为新质生产力的重要组成部分,正以前瞻?性、引领性姿态加速崛起,成为推动经济结构优化升级、塑造高?质量发展新动能的关键领域。

  • 阅读395
  • 下载1

华为数字化转型之道

首先从华为的视角总结了企业对于数字化转型的应有的共识,以及从战略角度阐述了华为为何推行数字化转型,然后给出了华为数字化转型的整体框架(方法论),以及企业数字化转型成熟度评估的方法,帮助读者在厘清华为开展数字化转型工作的整体脉络的同时,能快速对自身的数字化水平进行自检,

  • 阅读468
  • 下载4

最新上线

全球数字治理蓝皮书(2025)

全球数字治理蓝皮书(2025)全球数字治理蓝皮书(2025)全球数字治理蓝皮书(2025)全球数字治理蓝皮书(2025)全球数字治理蓝皮书(2025)全球数字治理蓝皮书(2025)

  • 阅读39
  • 下载0

人工智能赋能应用实践指南

当前,人类正处在新一轮科技革命和产业变革的历史关口,人工智能正以前所未有的速度重塑世界,为千行万业注入新动能。从工业制造的智能产线到农业生产的精准种植,从金融服务的智能风控到医疗健康的远程诊断,人工智能推动着生产效率的跃升与产业形态的迭代。正如《指南》所展望的那样,未来,随着网络通信、前沿算法、存储算力等多元技术的深度融合,以及海量数据与前沿知识的双重加持,人工智能将彻底突破单一技术工具的局限,蜕变为贯穿千行万业生产链条的关键枢纽,融入千家万户的日常起居,成为人类社会高效运转不可或缺的底层支撑。

  • 阅读39
  • 下载0

新能源场站无人值班建设方案

新能源场站无人值班建设方案新能源场站无人值班建设方案新能源场站无人值班建设方案新能源场站无人值班建设方案新能源场站无人值班建设方案新能源场站无人值班建设方案

  • 阅读45
  • 下载1

零碳工厂建设与热能高效利用一事一议破局“零碳”技术路线

零碳工厂建设与热能高效利用一事一议破局“零碳”技术路线零碳工厂建设与热能高效利用一事一议破局“零碳”技术路线零碳工厂建设与热能高效利用一事一议破局“零碳”技术路线零碳工厂建设与热能高效利用一事一议破局“零碳”技术路线

  • 阅读45
  • 下载0
  • 关于我们

    电话:029-8838-6725

  • 新闻资讯

    企业简介 新闻动态 品牌实力 代理合作 诚聘英才 联系我们

  • 中服云

  • 工业互联网风向标

  • 在线咨询

西安/北京/南京/重庆/合肥/厦门/甘肃 地址:陕西省西安市雁塔区鱼跃工业园慧康生物科技产业园7楼 电话: 029-8838-6725

版权所有 @ 中服云 陕ICP备11002812号
  • 扫码咨询

    或

    点击立即咨询
  • 客服咨询

  • 用手机扫二维码

    或

    复制当前地址

  • 问题反馈 中服大讲堂 客服电话

方案库赚钱指南