• 首页

  • 方案库

  • 工业品库

  • 招标项目库

  • 专家库

  • 人才库

会员中心
搜索
登录
注册
  • 方案名称

解决方案

数字化转型通用方案行业方案安全方案大数据人工智能物联网行业展望自动控制其他

产品|技术

白皮书产品介绍技术介绍技术创新模型算法

政策|规范

政策规范行动计划

电子书

电子书课件

报告|论文

报告模板论文
  • 全部
  • 人气排行
  • 下载排行
  • 页数排行
  • 最新排行

药物制剂元素杂质控制该如何做

药物制剂组成复杂,在各种生产过程均可能引入元素杂质,这些元素杂质不仅可能影响药效,还是影响药品质量安全的重要因素。根据国际人用药物注册技术协调会议( International Conference of Harmonization,ICH)发布的 Q3D 元素杂质指南,分析元素杂质在药物制剂中的引入途径及限度要求,发现元素杂质在元素周期表中呈较规律分布,而元素杂质存在的形态与其毒性有较大关系,旨在为药品质量监控提供参考。

  • 2021-04-26
  • 阅读156
  • 下载0
  • 15页
  • docx

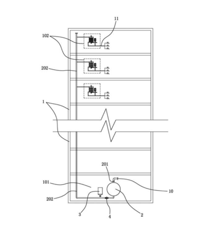
一种智能楼宇——高层楼宇水箱储水问题解决方法

本发明公开了一种智能楼宇,包括楼体,楼体的底层设有供水室,楼体的高层中设有若干个储水室,供水室中设有供水系统,储水室中设有水箱系统,所述供水系统包括稳流罐、稳压罐和水泵,所述稳流罐的顶部设有进水管,稳流罐的底部设有出水管,进水管与市政供水管路连接,出水管与水箱系统连接,出水管上设有一稳压罐,位于稳流罐与稳压罐之间的出水管上设有水泵,所述水箱系统包括一储水箱、一污水箱和一排污阀,所述污水箱内设有一气囊,所述储水箱的底部设有一排污机构。本发明提供了一种智能楼宇,包含了楼宇内的供水系统和水箱系统,能够将高层楼宇中水箱内的储水进行排污处理,保障水质,且在遇火灾时,能够将污水二次利用,节省水资源。

  • 2021-04-27
  • 阅读210
  • 下载0
  • 19页
  • pdf

模型和数据驱动的暖通空调最优设定温度获取方法及设备

本发明涉及一种模型和数据驱动的暖通空调最优设定温度获取方法及设备,包括以下步骤:结合楼宇物理仿真模型和基于ANN的数据驱动,构建楼宇HVAC动态特性模型;以所述楼宇HVAC动态特性模型作为约束,构建考虑能耗和人员舒适度的设定温度优化模型,采用群体智能算法求解获得暖通空调最优设定温度。与现有技术相比,本发明具有准确度高、方便可靠等优点。

  • 2021-04-27
  • 阅读228
  • 下载0
  • 15页
  • pdf

一种楼宇群低压柔性直流配电系统及方法

本发明公开了一种楼宇群低压柔性直流配电系统和方法。该系统包括:分布于楼宇群内的各组件,所述组件包括使用直流电或交流电的用电端;用于提供直流电的直流电供电网络;用于提供交流电的交流电供电网络;连接于楼宇群内的各组件与直流电供电网络、交流电供电网络之间的能量管理系统;所述能量管理系统用于评估各组件的用电情况将适配的直流电或交流电配送至对应的用电端。该方法通过使用上述系统,明确楼宇及楼宇群交流、直流配用电适应性,提出满足楼宇及楼宇群典型场景用能需求的配电系统规划方案,通过用于分析评估各组件的用电情况将适配的直流电或交流电配送至对应的用电端,有效推进了智能电网、泛在电力物联网。

  • 2021-04-27
  • 阅读224
  • 下载0
  • 9页
  • pdf

智能楼宇泛前台服务系统

本发明公开了泛前台服务系统,包括通行记录模块、监控模块、客户关怀日历模块、访客接待提醒模块、客户问候提醒模块;所述通行记录模块用于将通行数据,与前台终端设备实现数据通信,实时展示出通行者的姓名,公司信息;所述监控模块为安装办公楼内的摄像头,用于通过调用摄像头视频流地址,获取摄像头实时捕捉的视频影像,并在前台终端设备播放;所述客户关怀日历模块用于通过调用人员数据库的数据,在日历展现时计算标记出每天的过生日人员,入驻周年企业;该系统以物联网实现楼宇摄像头,楼宇人员管理后台,前台智能设备的互联互通,进而利用视频模式识别技术,面部特征比对技术作为基础功能性支撑,可以在接待和客服方面实现各种功能。

  • 2021-04-27
  • 阅读217
  • 下载0
  • 12页
  • pdf

APP审计之白帽必杀技

移动端APP的渗透在渗透测试这个领域早已是常态,在大部分白帽子的视角下,APP的安全审 计工作,主要还是趋于网络接口层面的 OWASP TOP10。本次议题旨在从白帽子的视角下展开描述当涉及到APP的审计项目时,如何在除了常规web渗 透的其他层面发现安全风险。

  • 2021-04-26
  • 阅读205
  • 下载0
  • 53页
  • pdf

我的一键 getshell 代码开发之路

探讨: 1、怎么样的代码才算一份合格的代码? 2、如何实现自动化渗透? 3、如何避免重复造轮子? 自动化渗透:ARY:自动挖洞思路 -> 执行流,Ary 是一个集成类工具,主要用于调用各种安全工具,从而形成便捷的一键式渗透。PoC收集怎么办?

  • 2021-04-26
  • 阅读172
  • 下载0
  • 39页
  • pdf

智能制造背景下旧园区的仓储物流升级改造

目前传统制造业正处于转型升级的重要时期,但许多企业受旧园区厂房自身结构限制,难以满足对物流仓储日益增长的需求。本文以国内某生产企业旧园区的物流升级改造为案例,针对旧园区在区域布局、作业管理等方面的痛点,对其仓储物流的升级改造方案和要点进行了分析,以期对于类似旧园区厂房改造升级起到一些借鉴作用

  • 2021-04-27
  • 阅读164
  • 下载0
  • 10页
  • docx
上一页 1 …… 6768697071727374757677 …… 2193 下一页 共 17542 条


立即登录

没有账户,需要注册

登录用户可享受以下权益
  • 免费下载方案
  • 服币提现
  • 发布方案得服币
  • 交易分成

精品推荐

国内重点工业物联网平台四类厂商分类及选型指南

国内重点工业物联网平台四类厂商分类及选型指南

  • 阅读183
  • 下载6

工业物联网平台的典型应用场景深度分析

工业物联网平台发展重点: 一是行业深耕化,从通用型平台向“一米宽、百米深”的行业垂直平台转型,聚焦能源、交通、化工等领域的特定需求,沉淀场景化解决方案与行业Know-how,而非追求“大而全”的覆盖能力。 二是智能融合化,工业大模型与平台深度结合,实现工业知识的智能化重构、应用开发的低代码化升级,以及生产运营的自感知、自决策、自优化闭环管控,AI成为提质增效的核心变量。 三是生态协同化,平台不再是单一技术载体,而是串联产业链上下游的协同中枢,通过跨系统数据融合、产学研用金深度合作,形成“数据-算力-应用”的生态闭环,赋能供应链协同与产业集群升级。 四是部署灵活化,采用“平台化产品+私有化部署”结合的模式,兼顾中小企业轻量化需求与大型集团定制化诉求,支持公有云、私有云、边缘端的混合部署,平衡成本与安全性。

  • 阅读235
  • 下载8

低空基础设施发展研究报告(2025)

当前,世界百年变局加速演进,新一轮科技革命和产业变革?深入发展,低空经济作为新质生产力的重要组成部分,正以前瞻?性、引领性姿态加速崛起,成为推动经济结构优化升级、塑造高?质量发展新动能的关键领域。

  • 阅读394
  • 下载1

华为数字化转型之道

首先从华为的视角总结了企业对于数字化转型的应有的共识,以及从战略角度阐述了华为为何推行数字化转型,然后给出了华为数字化转型的整体框架(方法论),以及企业数字化转型成熟度评估的方法,帮助读者在厘清华为开展数字化转型工作的整体脉络的同时,能快速对自身的数字化水平进行自检,

  • 阅读467
  • 下载4

最新上线

全球数字治理蓝皮书(2025)

全球数字治理蓝皮书(2025)全球数字治理蓝皮书(2025)全球数字治理蓝皮书(2025)全球数字治理蓝皮书(2025)全球数字治理蓝皮书(2025)全球数字治理蓝皮书(2025)

  • 阅读37
  • 下载0

人工智能赋能应用实践指南

当前,人类正处在新一轮科技革命和产业变革的历史关口,人工智能正以前所未有的速度重塑世界,为千行万业注入新动能。从工业制造的智能产线到农业生产的精准种植,从金融服务的智能风控到医疗健康的远程诊断,人工智能推动着生产效率的跃升与产业形态的迭代。正如《指南》所展望的那样,未来,随着网络通信、前沿算法、存储算力等多元技术的深度融合,以及海量数据与前沿知识的双重加持,人工智能将彻底突破单一技术工具的局限,蜕变为贯穿千行万业生产链条的关键枢纽,融入千家万户的日常起居,成为人类社会高效运转不可或缺的底层支撑。

  • 阅读36
  • 下载0

新能源场站无人值班建设方案

新能源场站无人值班建设方案新能源场站无人值班建设方案新能源场站无人值班建设方案新能源场站无人值班建设方案新能源场站无人值班建设方案新能源场站无人值班建设方案

  • 阅读42
  • 下载1

零碳工厂建设与热能高效利用一事一议破局“零碳”技术路线

零碳工厂建设与热能高效利用一事一议破局“零碳”技术路线零碳工厂建设与热能高效利用一事一议破局“零碳”技术路线零碳工厂建设与热能高效利用一事一议破局“零碳”技术路线零碳工厂建设与热能高效利用一事一议破局“零碳”技术路线

  • 阅读43
  • 下载0
  • 关于我们

    电话:029-8838-6725

  • 新闻资讯

    企业简介 新闻动态 品牌实力 代理合作 诚聘英才 联系我们

  • 中服云

  • 工业互联网风向标

  • 在线咨询

西安/北京/南京/重庆/合肥/厦门/甘肃 地址:陕西省西安市雁塔区鱼跃工业园慧康生物科技产业园7楼 电话: 029-8838-6725

版权所有 @ 中服云 陕ICP备11002812号
  • 扫码咨询

    或

    点击立即咨询
  • 客服咨询

  • 用手机扫二维码

    或

    复制当前地址

  • 问题反馈 中服大讲堂 客服电话

方案库赚钱指南