• 首页

  • 方案库

  • 工业品库

  • 招标项目库

  • 专家库

  • 人才库

会员中心
搜索
登录
注册
  • 方案名称

解决方案

数字化转型通用方案行业方案安全方案大数据人工智能物联网行业展望自动控制其他

产品|技术

白皮书产品介绍技术介绍技术创新模型算法

政策|规范

政策规范行动计划

电子书

电子书课件

报告|论文

报告模板论文
  • 全部
  • 人气排行
  • 下载排行
  • 页数排行
  • 最新排行

基于工业互联网现场层宽带总线架构的实现系统

本发明涉及一种基于工业互联网现场层宽带总线架构的实现系统,该实现系统基于传统工业控制系统中广泛使用的两线制数据传输网络;引入多载波正交频分复用技术,达到百兆以上高带宽;设计特殊帧结构,结合物理层资源块的静态及动态合理配置,及介质访问控制层数据业务的调度策略设计,实现传输业务与时间片的合理映射;针对工业互联网现场层宽带总线架构需要满足高性能、高可靠、高实时和高安全的要求提供了一种快速同步、实时﹑高速、可靠的实现方案。

  • 2021-06-18
  • 阅读153
  • 下载0
  • 17页
  • pdf

面向工业互联网平台的缓存组件、方法、设备及存储介质

本发明提供一种面向工业互联网平台的缓存组件、方法、设备及存储介质,所述缓存组件用于对所述工业互联网平台产生的标签数据进行内存管理,其中,所述标签数据的数据结构包含一个标签名、一系列时间戳与标签数值构成的有序队列,所述时间戳与标签数值相互对应;所述内存管理包括过期机制、数据持久化、数据清洗、消息推送和数据统计中的任一种或几种功能。本发明利用缓存组件对工业互联网平台产生的标签数据进行内存管理,解决了标签数据落盘后,由于数据量实时增加,导致的系统性能不足问题,并且在数据缓存、快速算法、并行操作方面也进行了相应的改进,所以数据处理速度比传统数据库的数据处理速度要快很多。

  • 2021-06-18
  • 阅读128
  • 下载0
  • 17页
  • pdf

一种基于工业互联网的汽车制造MES数据采集系统

本发明公开了一种基于工业互联网的汽车制造MES数据采集系统,包括数据采集和数据传输,所述数据采集包括传感器数据采集﹑高速采集卡数据采集、PLC到PLC的数据采集、PLC到PC的数据采集、工控机到数据服务器数据采集;所述数据传输被设置为所述数据采集到的数据传输到大数据平台。本发明的一种基于工业互联网的汽车制造MES数据采集系统,规范化采集数据,应用高速数据采集、传感技术、缓存技术,采用分布式采集方式,以微秒级﹑毫秒级的高频次采集技术采集车间现有各个系统数据以及生产设备自身的数据,实现广覆盖和高频率的数据采集;并使用大数据技术,保障系统运行的稳定和效率。

  • 2021-06-18
  • 阅读166
  • 下载0
  • 14页
  • pdf

一种工业互联网容器云平台及其流量接入控制方法

本发明提出了一种工业互联网容器云平台及其流量接入控制方法,所述容器云平台包括:流量接入控制层、网络和工作负载单元和控制节点单元,所述流量接入控制层包括控制服务适配层和流量接入组件,所述控制服务适配层与流量接入组件相连,用以根据接入所述控制服务适配层的流量的差异特征匹配至对应的所述流量接入组件中,所述网络和工作负载单元与流量接入组件相连,用以接收所述流量接入组件信息,通知工作负载处理工作任务,所述控制节点单元与网络和工作负载单元相连,用以部署网络和工作负载。本发明中工业互联网容器云平台可以快速适配各种外部流量的接入,流量接入控制层运行在容器云环境内,提升了网络流量接入的安全性、高性能和高并发。

  • 2021-06-18
  • 阅读131
  • 下载0
  • 11页
  • pdf

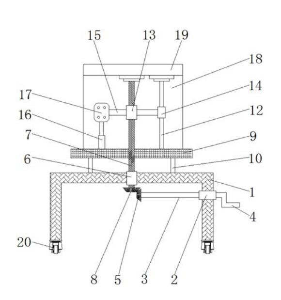
一种基于工业互联网的工业传感信号采集装置

本实用新型公开了的属于工业技术领域,尤其是一种基于工业互联网的工业传感信号采集装置,包括底座,所述底座的内部穿插设置有第一套筒,所述第一套筒的内部螺纹连接有转杆,所述转杆的左端设置有第一锥形齿轮,所述底座的上表面穿插设置有第二套筒,所述第二套筒的内部螺纹连接有螺纹轴,所述螺纹轴的下端设置有第二锥形齿轮,所述螺纹轴的外表面设置有转盘,所述螺纹轴的外表面螺纹连接有螺纹套筒,所述转盘的上表面设置有竖杆,所述竖杆的外表面套设有滑套,所述螺纹套筒的外表面设置有连接杆,所述螺纹套筒的外表面连接有信号采集箱,可以在对信号采集箱升降时还能对信号采集箱的方向进行调节,极大的方便了使用。

  • 2021-06-18
  • 阅读152
  • 下载0
  • 10页
  • pdf

一种工业互联网的5G信号基站安全设备

本实用新型公开了一种工业互联网的5G信号基站安全设备,包括垫板,所述垫板的顶部安装有箱体,所述箱体的前端安装有馈线端口,且箱体的两侧靠顶部均设置有斜面板,所述斜面板的内侧安装有散热风扇,所述箱体的两侧中间均安装有承接座,且两组承接座的顶部之间连接有防护顶,所述箱体的内部安装有支撑板,且支撑板的内侧中间安装有防水板,所述支撑板的底部与箱体的内部底端之间连接有若干根支撑柱,且支撑板的顶部靠两侧位置均安装有侧挡板,所述承接座的两端均安装有凹型座,所述防护顶的两端均安装有与凹型座相对接的对接座;本实用新型具备较好的排水效果,且能够起到较好的防水作用,有效的对基站设备进行防护。

  • 2021-06-17
  • 阅读177
  • 下载0
  • 7页
  • pdf

基于工业互联网的物料验收方法

本发明涉及工业互联网和供应链管理领域,公开了一种基于工业互联网的物料验收方法,包括供应链管理平台接收物料验收装置发送的物料采集图像和物料标签信息;标签识别模块根据所述物料标签信息从数据库获取与当前物料对应的物料标准特征;位姿归一化模块对物料采集图像进行位姿归一化处理以得到物料验收图像;特征提取模块提取物料验收图像的整体特征、包装特征和挤压特征并将其进行串联以得到物料验收特征;损失分析模块根据物料标准特征和物料验收特征计算物料的整体损失、包装损失和挤压损失,然后计算物料验收损失;物料验收模块根据物料验收损失执行物料验收以得到物料验收数据,并将其发送到验收人员终端。

  • 2021-06-18
  • 阅读165
  • 下载0
  • 11页
  • pdf

一种基于工业互联网平台的输送分拣应用系统

本发明公开了一种基于工业互联网平台的输送分拣应用系统,包括控制系统、订单系统和库存系统,控制系统包括传动输送模块、合流分拣模块、读取模块、分类输送模块、信息采集模块和中央处理器,所述传动输送模块包括有传送装置,所述传送装置包括有传送带,所述传送带的底部设置有传动辊,多个传送装置组成一个集货线。本发明的有益效果是,可以更加智能的对零件进行下单、信息处理、输送、分拣、运输信息的监管,结合工业互联网使零件的输送分拣更加便利和透明,零件运输过程更加透明和方便。

  • 2021-06-17
  • 阅读164
  • 下载0
  • 10页
  • pdf
上一页 1 …… 163164165166167168169170171172173 …… 2193 下一页 共 17542 条


立即登录

没有账户,需要注册

登录用户可享受以下权益
  • 免费下载方案
  • 服币提现
  • 发布方案得服币
  • 交易分成

精品推荐

国内重点工业物联网平台四类厂商分类及选型指南

国内重点工业物联网平台四类厂商分类及选型指南

  • 阅读193
  • 下载6

工业物联网平台的典型应用场景深度分析

工业物联网平台发展重点: 一是行业深耕化,从通用型平台向“一米宽、百米深”的行业垂直平台转型,聚焦能源、交通、化工等领域的特定需求,沉淀场景化解决方案与行业Know-how,而非追求“大而全”的覆盖能力。 二是智能融合化,工业大模型与平台深度结合,实现工业知识的智能化重构、应用开发的低代码化升级,以及生产运营的自感知、自决策、自优化闭环管控,AI成为提质增效的核心变量。 三是生态协同化,平台不再是单一技术载体,而是串联产业链上下游的协同中枢,通过跨系统数据融合、产学研用金深度合作,形成“数据-算力-应用”的生态闭环,赋能供应链协同与产业集群升级。 四是部署灵活化,采用“平台化产品+私有化部署”结合的模式,兼顾中小企业轻量化需求与大型集团定制化诉求,支持公有云、私有云、边缘端的混合部署,平衡成本与安全性。

  • 阅读240
  • 下载8

低空基础设施发展研究报告(2025)

当前,世界百年变局加速演进,新一轮科技革命和产业变革?深入发展,低空经济作为新质生产力的重要组成部分,正以前瞻?性、引领性姿态加速崛起,成为推动经济结构优化升级、塑造高?质量发展新动能的关键领域。

  • 阅读402
  • 下载1

华为数字化转型之道

首先从华为的视角总结了企业对于数字化转型的应有的共识,以及从战略角度阐述了华为为何推行数字化转型,然后给出了华为数字化转型的整体框架(方法论),以及企业数字化转型成熟度评估的方法,帮助读者在厘清华为开展数字化转型工作的整体脉络的同时,能快速对自身的数字化水平进行自检,

  • 阅读475
  • 下载4

最新上线

全球数字治理蓝皮书(2025)

全球数字治理蓝皮书(2025)全球数字治理蓝皮书(2025)全球数字治理蓝皮书(2025)全球数字治理蓝皮书(2025)全球数字治理蓝皮书(2025)全球数字治理蓝皮书(2025)

  • 阅读46
  • 下载0

人工智能赋能应用实践指南

当前,人类正处在新一轮科技革命和产业变革的历史关口,人工智能正以前所未有的速度重塑世界,为千行万业注入新动能。从工业制造的智能产线到农业生产的精准种植,从金融服务的智能风控到医疗健康的远程诊断,人工智能推动着生产效率的跃升与产业形态的迭代。正如《指南》所展望的那样,未来,随着网络通信、前沿算法、存储算力等多元技术的深度融合,以及海量数据与前沿知识的双重加持,人工智能将彻底突破单一技术工具的局限,蜕变为贯穿千行万业生产链条的关键枢纽,融入千家万户的日常起居,成为人类社会高效运转不可或缺的底层支撑。

  • 阅读44
  • 下载0

新能源场站无人值班建设方案

新能源场站无人值班建设方案新能源场站无人值班建设方案新能源场站无人值班建设方案新能源场站无人值班建设方案新能源场站无人值班建设方案新能源场站无人值班建设方案

  • 阅读49
  • 下载1

零碳工厂建设与热能高效利用一事一议破局“零碳”技术路线

零碳工厂建设与热能高效利用一事一议破局“零碳”技术路线零碳工厂建设与热能高效利用一事一议破局“零碳”技术路线零碳工厂建设与热能高效利用一事一议破局“零碳”技术路线零碳工厂建设与热能高效利用一事一议破局“零碳”技术路线

  • 阅读55
  • 下载0
  • 关于我们

    电话:029-8838-6725

  • 新闻资讯

    企业简介 新闻动态 品牌实力 代理合作 诚聘英才 联系我们

  • 中服云

  • 工业互联网风向标

  • 在线咨询

西安/北京/南京/重庆/合肥/厦门/甘肃 地址:陕西省西安市雁塔区鱼跃工业园慧康生物科技产业园7楼 电话: 029-8838-6725

版权所有 @ 中服云 陕ICP备11002812号
  • 扫码咨询

    或

    点击立即咨询
  • 客服咨询

  • 用手机扫二维码

    或

    复制当前地址

  • 问题反馈 中服大讲堂 客服电话

方案库赚钱指南