• 首页

  • 方案库

  • 工业品库

  • 招标项目库

  • 专家库

  • 人才库

会员中心
搜索
登录
注册
  • 方案名称

解决方案

数字化转型通用方案行业方案安全方案大数据人工智能物联网行业展望自动控制其他

产品|技术

白皮书产品介绍技术介绍技术创新模型算法

政策|规范

政策规范行动计划

电子书

电子书课件

报告|论文

报告模板论文
  • 全部
  • 人气排行
  • 下载排行
  • 页数排行
  • 最新排行

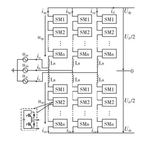
基于单极MMC拓扑的光伏并网系统仿真分析

近年来,环境污染和能源枯竭问题表现得越来越严重,太阳能作为取代化石能源的理想能源之一,已经受到世界各国的重视。目前,光伏发电技术已经趋于成熟,同时,光伏产业发展速度迅猛,光伏发电在电力系统中的装机容量占比越来越重,因此对光伏并网发电系统提出了更高的要求,例如增强光伏并网逆变器容量、提高光伏阵列发电效率等[1]。

  • 2022-02-17
  • 阅读89
  • 下载0
  • 11页
  • docx

阿里:低代码行业智能的技术架构及发展趋势

低代码行业智能的 技术架构及发展趋势:行业智能问题域由集中型过渡到离散型,单位成本产生的经济价值在逐渐降低

  • 2022-01-20
  • 阅读86
  • 下载0
  • 24页
  • pdf

阿里:低代码加速龙辉起重工厂管理全线数字化

山东龙辉起重机械有限公司主要生产: 桥式起重机,门式起重机,冶金起重 机,防爆起重机,抓斗起重机,320吨 以下的桥门式起重机基本都能做,我们 有70多种资质型号。涉及军工,重工机 械,食品,医药洁净室,化工,集装箱 货场,生产流水线等等。

  • 2022-01-20
  • 阅读87
  • 下载0
  • 27页
  • pdf

阿里:代码即服务-让开发者快速上云

代码即服务——让开发快速上云 新时代对开发者来说是代码即服务的时代,阿里云技术专家王铎分享了云开发平台如何帮助中小开发者快速实现代码上云

  • 2022-01-20
  • 阅读85
  • 下载0
  • 24页
  • pdf

未来移动接入网虚拟化关键技术(基于NFV与SDN)—超级基站(包括卫星)

本文阐述计算机领域与移动通信领域的虚拟化技术,给出未来移动通信领域虚拟化技术的分类与需求,基于网络功能虚拟化与软件定义网络,分析集中式接入网架构中的虚拟化技术,从资源共享隔离、覆盖与承载分离的灵活功能配置以及虚拟化技术验证平台等方面,对基于NFV与SDN的集中式接入网虚拟化进行探讨。

  • 2022-01-20
  • 阅读131
  • 下载0
  • 12页
  • docx

NFV及vIMS的部署实施

随着5G和物联网等领域的快速发展,移动数据业务飞速增长,而传统电信网络基于专用硬件的架构和封闭式的网元,已经成为运营商拓展新业务的严重障碍。NFV能够根据用户和业务需求灵活动态地进行网络资源配置,实现网络资源的高效利用,有效降低CAPEX和OPEX成本。伴随VoLTE的大规模商用部署以及为了应对物联网未来的大量业务需求,NFV和vIMS无疑是电信运营商的最佳选择。

  • 2022-01-21
  • 阅读89
  • 下载0
  • 9页
  • docx

电信公司NFV商业化道路的阻碍

自2012年以来,CommSP向虚拟化的转变已经开始,但5年之后的今天,我们还没有发现在NFV/SDN上运行的大型工作负载。有明确的迹象显示,厂商正间接指出要么转向Vendor Siled NFV解决方案,要么放慢NFV商业化的速度。也有人认为,随着NFV流量的增加,性能将会降低。换句话说,开放式NFV解决方案无法大规模满足电信服务需求。

  • 2022-01-20
  • 阅读85
  • 下载0
  • 11页
  • docx

SDN与NFV技术在云数据中心的规模应用探讨

以云数据中心为切入点,首先对SDN领域中的叠加网络、SDN控制器、VxLAN 3种重要技术特点进行了研究,接下来对NFV领域中的通用服务器性能、服务链两类关键问题展开具体分析。最后,阐述了前期开展的SDN/NFV技术试验工作进展及相关结论,并对VDC应用产品进行了展望。

  • 2022-01-20
  • 阅读100
  • 下载0
  • 21页
  • docx
上一页 1 …… 13251326132713281329133013311332133313341335 …… 2193 下一页 共 17542 条


立即登录

没有账户,需要注册

登录用户可享受以下权益
  • 免费下载方案
  • 服币提现
  • 发布方案得服币
  • 交易分成

精品推荐

竞争对手分析

母公司公司的总目标是什么?母公司要求该业务单位做什么?将业务单位的定位是什么(基础业务还是边缘业务)

  • 阅读268
  • 下载0

2025知识图谱与大模型融合实践案例集

随着人工智能的迅猛发展,知识图谱与大模型作为两大核心研究领域,各自彰显出独特的技术优势。知识图谱以结构化方式精准刻画实体关联,为知识表示与推理提供了可解释的框架;大模型则凭借海量数据训练展现出卓越的自然语言理解与生成能力,具备强大的泛化学习性能。

  • 阅读314
  • 下载6

国内重点工业物联网平台四类厂商分类及选型指南

国内重点工业物联网平台四类厂商分类及选型指南

  • 阅读424
  • 下载6

工业物联网平台的典型应用场景深度分析

工业物联网平台发展重点: 一是行业深耕化,从通用型平台向“一米宽、百米深”的行业垂直平台转型,聚焦能源、交通、化工等领域的特定需求,沉淀场景化解决方案与行业Know-how,而非追求“大而全”的覆盖能力。 二是智能融合化,工业大模型与平台深度结合,实现工业知识的智能化重构、应用开发的低代码化升级,以及生产运营的自感知、自决策、自优化闭环管控,AI成为提质增效的核心变量。 三是生态协同化,平台不再是单一技术载体,而是串联产业链上下游的协同中枢,通过跨系统数据融合、产学研用金深度合作,形成“数据-算力-应用”的生态闭环,赋能供应链协同与产业集群升级。 四是部署灵活化,采用“平台化产品+私有化部署”结合的模式,兼顾中小企业轻量化需求与大型集团定制化诉求,支持公有云、私有云、边缘端的混合部署,平衡成本与安全性。

  • 阅读439
  • 下载10

最新上线

2026年全球数智营销生态手册

在经历宏观震荡、产业结构调整及技术加速演进的数年之后,全球数字营销行业正在进入一个由“战术驱动”迈向"能力驱动”的关键阶段。疫情后市场恢复、企业增长压力提升、数据环境变化以及AI技术的快速成熟,共同推动全球营销体系发生深层变革一一从过去以"流量购买”为核心的传统战术型模型,转向以"内容、数据、模型、体验”四位一体的系统化能力模型。过去的传统战术型模型具有鲜明的"渠道导向+经验驱动”特征:核心逻辑是通过采购第三方流量、投放广告完成用户触达,依赖营销人员的经验判断进行渠道选择与创意决策;运营上呈现“前端重、后端轻”的割裂状态,市场部门负责引流、数字部门负责转化、客服部门负责售后,各环节数据互通困难,难以形成完整的用户链路闭环;核心目标是短期流量获取与即时转化,缺乏对用户长期价值的挖掘与沉淀。但随着流量红利见顶、广告成本持续攀升,以及用户行为日益复杂,这种"重投放、轻运营”"重短期、轻长期”的模型已难以支撑企业可持续增长。

  • 阅读10
  • 下载1

2024-2025年中国新消费趋势洞察报告

艾艾媒咨询iiMedia Research 全球领先的新经济产业第三方数据挖掘与分析机构 用数据说活 2024-2025年中国新消费趋势洞察报告 Insights into new consumption trends in China from 2024 to 2025 (演讲版 艾媒咨询集团CE0兼首席分析师 张毅博士

  • 阅读9
  • 下载0

2025年普华永道中国可持续发展报告

2025年,全球再度经历深刻变革。科技飞速迭代、气候挑战日益严峻,地缘政治格局风云变幻,正在重构全球商业生态。在中国,高质量发展与创新并重,为经济增长和转型升级创造了独特的机遇。 面对这一系列变革,我们以“重塑”为内核引领增长,通过优化业务架构、提升运营效率、聚焦关键战略领域,构建面向未来的组织能力。在推进可持续发展的进程中,我们正以务实的行动赋能人才成长、加强环境管理、促进社会和谐,并驱动数字化创新。

  • 阅读8
  • 下载0

OpenClaw从入门到精通指南

OpenClaw:从入门到精通指南 第一部分:OpenClaw理论知识 1.第一章:OpenClaw是什么? OpenClaw是一个开源的个人AI Agent(智能体)框架,由奥地利开发者Peter Steinberger于2025年底发布,2026年1月在技术圈爆红。它标志着AI从"对话工具“向”自主执行者“的范式转它不是一个App,而是一个"住在电脑里的AIl管家"。变。

  • 阅读16
  • 下载1
  • 关于我们

    电话:029-8838-6725

  • 新闻资讯

    企业简介 新闻动态 品牌实力 代理合作 诚聘英才 联系我们

  • 中服云

  • 工业互联网风向标

  • 在线咨询

西安/北京/南京/重庆/合肥/厦门/甘肃 地址:陕西省西安市雁塔区鱼跃工业园慧康生物科技产业园7楼 电话: 029-8838-6725

版权所有 @ 中服云 陕ICP备11002812号
  • 扫码咨询

    或

    点击立即咨询
  • 客服咨询

  • 用手机扫二维码

    或

    复制当前地址

  • 问题反馈 中服大讲堂 客服电话

方案库赚钱指南