• 首页

  • 方案库

  • 工业品库

  • 招标项目库

  • 专家库

  • 人才库

会员中心
搜索
登录
注册
  • 方案名称

解决方案

数字化转型通用方案行业方案安全方案大数据人工智能物联网行业展望自动控制其他

产品|技术

白皮书产品介绍技术介绍技术创新模型算法

政策|规范

政策规范行动计划

电子书

电子书课件

报告|论文

报告模板论文
  • 全部
  • 人气排行
  • 下载排行
  • 页数排行
  • 最新排行

数据分析思维九段路线图

我做了 10 多年的数据分析,期间有很多同学问我,数据分析主要有哪些思维?学习的路线是怎么样的? 为了提供一个简单的方向指引,让数据分析思维的学习过程更加有趣,我做了一幅数据分析思维九段路线图,你可以把学习的过程当作一种游戏,享受段位升级的乐趣。

  • 2021-06-18
  • 阅读123
  • 下载0
  • 14页
  • docx

【新】物联网智慧农业云平台PPT

随着人均收人水平提高,消费者对农产品的消费需求和观念正在改变,更加注重农产品的质量,仅以北京蔬菜市场为例,在700万户家庭中约20%的家庭需要优质农产品,每个家庭每年平均消费2万元,每年北京蔬菜市场需求为280亿元人民币。

  • 2021-06-21
  • 阅读191
  • 下载0
  • 49页
  • pdf

工业互联网中支持大规模设备通信的网络容量优化方法

本发明公开了一种工业互联网中支持大规 模设备通信的网络容量优化方法,包括:构建工 业互联网中支持大规模设备通信的网络场景模 型;其中,在该网络场景中,设备最多只能重用一 个网络用户的子信道资源块;将该网络场景的容 量优化问题建模为马尔可夫决策模型;以最大化 系统容量为目标,基于深度强化学习网络,获取 设备最优发射功率,以在保证网络用户和设备服 务质量的同时,最大化系统总容量。本发明可以 减少支持大规模设备通信的无线网络系统的干 扰,提高频谱资源利用率,在保证服务质量的同 时,最大化系统总容量。

  • 2021-06-21
  • 阅读126
  • 下载0
  • 11页
  • pdf

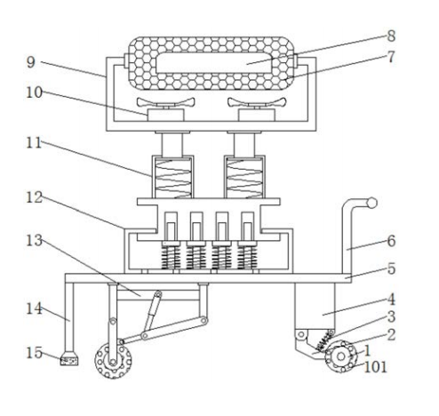
一种工业互联网大数据用信息处理装置

本发明公开了一种工业互联网大数据用信 息处理装置,包括底板,所述底板的顶部固定连 接有第二减震机构,并且第二减震机构的顶部固 定连接有第一减震机构,所述第一减震机构的顶 部安装有支撑杆,并且支撑杆的顶侧位置固定安 装有支撑块,支撑块的内部设置有信息处理装置 主体,支撑杆的表面且处于支撑块的底侧位置固 定连接有两个对称设置的辅助散热装置,所述底 板的顶部且位于第二减震机构的一侧固定连接 有推手。该工业互联网大数据用信息处理装置, 不仅可以进行灵活地移动和固定,在搬运转运过 程中省时省力,效率较高,使用方便,而且在搬运 过程中能够过滤颠簸,保护信息处理装置不会出 现接触不良而造成信息丢失的情况,提升了稳定 性和安全性。

  • 2021-06-21
  • 阅读133
  • 下载0
  • 8页
  • pdf

基于工业互联网的数字化制造方法

本发明涉及工业互联网和数字化制造领域, 公开了一种基于工业互联网的数字化制造方法, 其包括:获取订单客户端发送的订单生产请求; 根据对象标识符对订单生产请求进行对象标识 解析,然后根据订单生产请求在仿真环境中进行 生产仿真以获得生产仿真数据;根据生产仿真数 据和产品标准数据生成生产仿真矢量和生产圭 表矢量,并根据生产仿真矢量和生产圭表矢量生 成差量矢量以计算生产仿真合格度,将生产仿真 合格度与生产轨范值进行比较;在生产仿真合格 度小于生产轨范值时,将订单生产请求作为待排 产请求发送至制造排产模块;基于历史排产数据 和待排产请求生成制造排产数据,所述制造排产 数据包括生产排产表、物料排产表和人员排产 表。

  • 2021-06-21
  • 阅读144
  • 下载0
  • 13页
  • pdf

基于工业互联网平台的Cloud VR数字孪生制造产线架构及其构建方法

本发明提供一种基于工业互联网平台的 Cloud VR数字孪生制造产线架构及其构建方法, 该架构包括物理产线、工业互联网平台系统及 Cloud VR数字映射系统;物理产线包括产品设 备、产线控制模块及产线通信模块,产线控制模 块获取设备运行数据,产线通信模块将运行数据 上传至工业互联网平台系统;工业互联网平台系 统包括工业互联网平台及VR交互接口,工业互联 网平台接收运行数据,VR交互接口将运行数据上 传至Cloud VR数字映射系统;Cloud VR数字映射 系统包括Cloud VR服务器及数据交互接口 , Cloud VR服务器中建立VR数字孪生制造产线,数 据交互接口驱动VR数字孪生制造产线根据运行 数据运行。本发明通过Cloud VR建立物理与虚拟 部分的映射关系,通过工业互联网平台实现两者 的数据交互。

  • 2021-06-20
  • 阅读165
  • 下载0
  • 13页
  • pdf

基于工业互联网的数据信息采集方法

本发明公开了基于工业互联网的数据信息 采集方法,包括以下步骤:S1、建立通讯网络并接 收解析服务;S2 .根据等级进行排序,定义数据采 集的调整参数;S3 .采集工业互联网的各个数据 节点的数据信息;S4 .去除采集到数据信息噪声; S5 .抽取异常数据,将抽取的异常数据进行归类, 对异常数据的误差率进行分析;S6 .将采集的数 据信息进行汇总后保存;S7 .通过WEB服务器查看 保存的数据信息。本发明使得采集的工业数据更 加准确、及时和完善,形成完整的项目数据库,并 根据项目数据库对数据采集过程进行优化调整, 对今后的分析,改进生产,提高效益都起到重大 的作用。

  • 2021-06-22
  • 阅读157
  • 下载0
  • 11页
  • pdf

基于ICN的工业互联网标识解析系统及数据访问方法

本发明公布了一种基于ICN的工业互联网标 识解析系统及数据访问方法,该系统及数据访问 方法基于NDN实现了工业互联网标识解析与路由 的融合,通过将ICN技术引入工业互联网,能够同 时实现工业互联网网络连接及标识解析的能力, 使得工业互联网整体架构扁平化,提升信息获取 效率,提升网络可扩展性,提高工业互联网数据 安全性。同时由于省去了解析服务器的部署,该 方案能够有效解决工业互联网标识解析的异构 不兼容问题。

  • 2021-06-21
  • 阅读144
  • 下载0
  • 16页
  • pdf
上一页 1 …… 387388389390391392393394395396397 …… 2878 下一页 共 23017 条


立即登录

没有账户,需要注册

登录用户可享受以下权益
  • 免费下载方案
  • 服币提现
  • 发布方案得服币
  • 交易分成

精品推荐

国内重点工业物联网平台四类厂商分类及选型指南

国内重点工业物联网平台四类厂商分类及选型指南

  • 阅读93
  • 下载5

工业物联网平台的典型应用场景深度分析

工业物联网平台发展重点: 一是行业深耕化,从通用型平台向“一米宽、百米深”的行业垂直平台转型,聚焦能源、交通、化工等领域的特定需求,沉淀场景化解决方案与行业Know-how,而非追求“大而全”的覆盖能力。 二是智能融合化,工业大模型与平台深度结合,实现工业知识的智能化重构、应用开发的低代码化升级,以及生产运营的自感知、自决策、自优化闭环管控,AI成为提质增效的核心变量。 三是生态协同化,平台不再是单一技术载体,而是串联产业链上下游的协同中枢,通过跨系统数据融合、产学研用金深度合作,形成“数据-算力-应用”的生态闭环,赋能供应链协同与产业集群升级。 四是部署灵活化,采用“平台化产品+私有化部署”结合的模式,兼顾中小企业轻量化需求与大型集团定制化诉求,支持公有云、私有云、边缘端的混合部署,平衡成本与安全性。

  • 阅读160
  • 下载7

低空基础设施发展研究报告(2025)

当前,世界百年变局加速演进,新一轮科技革命和产业变革?深入发展,低空经济作为新质生产力的重要组成部分,正以前瞻?性、引领性姿态加速崛起,成为推动经济结构优化升级、塑造高?质量发展新动能的关键领域。

  • 阅读330
  • 下载1

华为数字化转型之道

首先从华为的视角总结了企业对于数字化转型的应有的共识,以及从战略角度阐述了华为为何推行数字化转型,然后给出了华为数字化转型的整体框架(方法论),以及企业数字化转型成熟度评估的方法,帮助读者在厘清华为开展数字化转型工作的整体脉络的同时,能快速对自身的数字化水平进行自检,

  • 阅读400
  • 下载4

最新上线

大规模太阳能光伏电站的本地环境影响与效益

太阳能光伏(PV)是全球最广泛部署的可再生能源技术之一,并将在未来几十年迎来快速发展。截至2024年底,光伏发电贡献了年度新增装机容量的77%和可再生能源总装机容量的42%。2015年至2024年,全球光伏总装机容量增长了八倍以上。这种快速扩张是由成本下降、技术创新和效率提升,以及支持政策和激励措施推动的。根据国际可再生能源机构(IRENA)的1.5C情景,光伏发电预计将在实现与<<巴黎协定>>气候目标相一致能源转型中发挥关健作用,到2050年将贡献所需可再生能源总量的50%和可再生能源发电量的37%。

  • 阅读4
  • 下载0

干部与人才发展数字化解决方案——打造战略驱动的高质量人才供应体系

干部是企业实现关键业务突破和规模扩张的核心躯干,高质量、可持续的人才供给是企业基业长青的必要条件。储备、选拔、发展是核心课题,提升企业人才内生性供给能力,是企业发展人才保障的长久之计。

  • 阅读4
  • 下载0

肺动脉高压临床试验教育者的演进与影响

在临床试验环境中,肺动脉高压(PAH)的专门领域需要定 制化护理。不应低估赞助商、主要研究人员(PI)、临床试 验协调员、研究支持人员、医疗人员和勇敢志愿参与临床试 验的肺动脉高压(PAH)患者之间多学科合作的重要性。

  • 阅读3
  • 下载0

高端制造业:技术升级、产业重构与发展路径研究

高端制造业正呈现规模持续扩张与结构深度优化并行的发展态势。截至2024年底,我国高端制造业上市公司总资产达27.24万亿元,占A股上市公司总资产的6.07%,较2023年末增长6.13%,较2020年末大幅增长68.79%[1]。行业主体数量稳步增加,规模以上高端制造企业数量年均复合增长率达7.3%,资产总额与营业收入双轮驱动特征显著。从区域分布看,制造业正加速由东部沿海向中西部梯度转移,跨区域产业链协作深化,为整体规模扩容提供了空间支撑[2]。近年来,行业增速呈现"高位趋稳、结构分化"的新节奏:2021一2023年复合增速约9.2%,但2024年同比增速回落至5.8%,反映出由规模扩张主导向质量效益主导的阶段性转换。

  • 阅读4
  • 下载0
  • 关于我们

    电话:029-8838-6725

  • 新闻资讯

    企业简介 新闻动态 品牌实力 代理合作 诚聘英才 联系我们

  • 中服云

  • 工业互联网风向标

  • 在线咨询

西安/北京/南京/重庆/合肥/厦门/甘肃 地址:陕西省西安市雁塔区鱼跃工业园慧康生物科技产业园7楼 电话: 029-8838-6725

版权所有 @ 中服云 陕ICP备11002812号
  • 扫码咨询

    或

    点击立即咨询
  • 客服咨询

  • 用手机扫二维码

    或

    复制当前地址

  • 问题反馈 中服大讲堂 客服电话

方案库赚钱指南