• 首页

  • 方案库

  • 工业品库

  • 招标项目库

  • 专家库

  • 人才库

会员中心
搜索
登录
注册
  • 方案名称

解决方案

数字化转型通用方案行业方案安全方案大数据人工智能物联网行业展望自动控制其他

产品|技术

白皮书产品介绍技术介绍技术创新模型算法

政策|规范

政策规范行动计划

电子书

电子书课件

报告|论文

报告模板论文
  • 全部
  • 人气排行
  • 下载排行
  • 页数排行
  • 最新排行

云边协同架构工业互联网平台的最小资源配置方法和装置

本申请涉及一种云边协同架构工业互联网 平台的最小资源配置方法和装置。所述方法包 括:获取云边协同架构工业互联网平台中的待接 入设备和待部署应用,建立待接入设备、待部署 应用和待设置的边缘数据中心之间的计算资源 配置模型和任务时延模型。根据建立的模型,在 预设的任务时延约束条件下,计算使边缘数据中 心的计算资源总量最小的配置方案,并对应设置 云边协同架构工业互联网平台的边缘数据中心、 设备和应用。本申请根据工业互联网平台的特点 建立平台和边缘数据中心间的计算资源配置模 型和任务时延模型,可在保证时延敏感信号或数 据的最小处理时延的前提下,最小化需部署的边 缘数据中心资源,从而降低云边协同架构的工业 互联网平台部署成本。

  • 2021-06-21
  • 阅读141
  • 下载0
  • 15页
  • pdf

基于工业互联网标识解析的供应链管理系统及管理方法

一种基于工业互联网标识解析的供应链管 理系统,包括产品标识解析溯源应用终端、若干 追溯系统服务器和集成化供应链信息管理平台, 集成化供应链信息管理平台通过互联网与追溯 系统服务器和产品标识解析溯源应用终端互通 互联,企业操作人员将产品信息录入追溯系统服 务器;集成化供应链信息管理平台包括标识解析 体系、企业内运营模块、跨企业协调模块、行业方 案解决模块、开发者管理模块和知识库连接模 块。本发明还提供一种基于工业互联网标识解析 的供应链管理方法,本发明以标识解析技术为基 础,对行业供应链管理平台内涉及到的对象标识 进行统一的管理,可以解决企业间因信息不对 称、物资标识不统一而引起的效率低下等问题。

  • 2021-06-19
  • 阅读135
  • 下载0
  • 10页
  • pdf

面向移动增强现实的实时深度学习目标检测方法综述

面向移动增强现实的实时深度学习目标检测方法综述

  • 2021-06-22
  • 阅读125
  • 下载0
  • 12页
  • pdf

2019中国人工智能发展白皮书

随着国家政策的倾斜和5G等相关基础技术的发展,中国人工智能产业在各方的共同推动下进入爆发式增长阶段,市场发展潜力巨大。数据显示,2019年中国人工智能核心产业规模就已超过510亿元,预计在2025年将达到4000亿元,未来有望发展为全球最大的人工

  • 2021-06-22
  • 阅读245
  • 下载0
  • 27页
  • pdf

一种基于大数据体育赛事用联网计分装置

本实用新型公开了一种基于大数据体育赛 事用联网计分装置,包括底板,所述底板顶部的 中心处固定连接有支撑柱,所述支撑柱的顶端活 动连接有套筒,所述套筒的左右两侧均固定连接 有安装架,两个所述安装架远离套筒的一端固定 连接有放置台,所述放置台的顶部固定连接有环 形垫。该基于大数据体育赛事用联网计分装置, 通过设置伸缩架、U形板和连接轴,向右拉动拉 手,将显示屏从计分箱内拉出,通过连接轴在U形 板的内部转动,可以对显示屏的角度进行调节, 设置套筒,启动套筒内的旋转电机,使与旋转电 机输出端连接的计分箱缓慢转动,从而让体育馆 内的观看者了解比赛进程,便于计分箱的展示。

  • 2021-06-23
  • 阅读138
  • 下载0
  • 8页
  • pdf

一种基于大数据的定位系统

本发明提供一种基于大数据的定位系统,其 涉及旅游定位系统领域,旨在解决现有旅游景点 中采用的电子导游或人工导游会导致线路拥堵 遗漏景点的问题。包括有商家端和游客端,所述 商家端包括有数据显示模块和数据分析模块,所 述游客端包括有定位模块、摄像头、定位收集与 存储模块、数据处理模块、显示模块。

  • 2021-06-23
  • 阅读130
  • 下载0
  • 5页
  • pdf

物联网与智能家居

将各种信息传感设备,如射频识别(RFID)装置、全球定位系统、激光扫描器等种种装置与互联网结合起来而形成的一个巨大网络。其目的是让所有的物品都与网络连接在一起,方便识别和管理。

  • 2021-06-22
  • 阅读195
  • 下载0
  • 31页
  • pdf

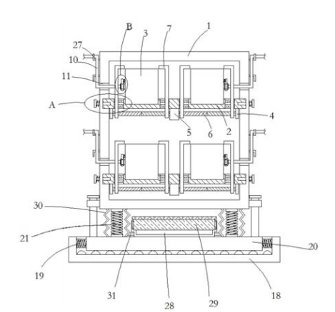
一种机械配件行业工业互联网平台测试工具

本发明涉及机械配件技术领域,且公开了一 种机械配件行业工业互联网平台测试工具,包括 机柜,机柜的内侧壁卡接有多个承托板,承托板 的上端对称固定卡接有两个测试工具主体,承托 板的上端开设有用于放置测试工具主体的放置 槽,承托板的下端左右对称固定连接有两个卡 板,承托板的下端中间位置固定设置有双轴电 机,双轴电机的左右两端输出轴均固定连接有双 向螺杆,双向螺杆的一端通过滚珠轴承与卡板的 侧壁转动连接,双向螺杆的杆壁对称螺纹套接有 两个L形夹持板。该机械配件行业工业互联网平 台测试工具,具备能够对电插头进行稳固的限 位,提高了电插头的连接结构稳固性的优点。

  • 2021-06-21
  • 阅读126
  • 下载0
  • 9页
  • pdf
上一页 1 …… 388389390391392393394395396397398 …… 2878 下一页 共 23017 条


立即登录

没有账户,需要注册

登录用户可享受以下权益
  • 免费下载方案
  • 服币提现
  • 发布方案得服币
  • 交易分成

精品推荐

国内重点工业物联网平台四类厂商分类及选型指南

国内重点工业物联网平台四类厂商分类及选型指南

  • 阅读93
  • 下载5

工业物联网平台的典型应用场景深度分析

工业物联网平台发展重点: 一是行业深耕化,从通用型平台向“一米宽、百米深”的行业垂直平台转型,聚焦能源、交通、化工等领域的特定需求,沉淀场景化解决方案与行业Know-how,而非追求“大而全”的覆盖能力。 二是智能融合化,工业大模型与平台深度结合,实现工业知识的智能化重构、应用开发的低代码化升级,以及生产运营的自感知、自决策、自优化闭环管控,AI成为提质增效的核心变量。 三是生态协同化,平台不再是单一技术载体,而是串联产业链上下游的协同中枢,通过跨系统数据融合、产学研用金深度合作,形成“数据-算力-应用”的生态闭环,赋能供应链协同与产业集群升级。 四是部署灵活化,采用“平台化产品+私有化部署”结合的模式,兼顾中小企业轻量化需求与大型集团定制化诉求,支持公有云、私有云、边缘端的混合部署,平衡成本与安全性。

  • 阅读160
  • 下载7

低空基础设施发展研究报告(2025)

当前,世界百年变局加速演进,新一轮科技革命和产业变革?深入发展,低空经济作为新质生产力的重要组成部分,正以前瞻?性、引领性姿态加速崛起,成为推动经济结构优化升级、塑造高?质量发展新动能的关键领域。

  • 阅读330
  • 下载1

华为数字化转型之道

首先从华为的视角总结了企业对于数字化转型的应有的共识,以及从战略角度阐述了华为为何推行数字化转型,然后给出了华为数字化转型的整体框架(方法论),以及企业数字化转型成熟度评估的方法,帮助读者在厘清华为开展数字化转型工作的整体脉络的同时,能快速对自身的数字化水平进行自检,

  • 阅读400
  • 下载4

最新上线

大规模太阳能光伏电站的本地环境影响与效益

太阳能光伏(PV)是全球最广泛部署的可再生能源技术之一,并将在未来几十年迎来快速发展。截至2024年底,光伏发电贡献了年度新增装机容量的77%和可再生能源总装机容量的42%。2015年至2024年,全球光伏总装机容量增长了八倍以上。这种快速扩张是由成本下降、技术创新和效率提升,以及支持政策和激励措施推动的。根据国际可再生能源机构(IRENA)的1.5C情景,光伏发电预计将在实现与<<巴黎协定>>气候目标相一致能源转型中发挥关健作用,到2050年将贡献所需可再生能源总量的50%和可再生能源发电量的37%。

  • 阅读4
  • 下载0

干部与人才发展数字化解决方案——打造战略驱动的高质量人才供应体系

干部是企业实现关键业务突破和规模扩张的核心躯干,高质量、可持续的人才供给是企业基业长青的必要条件。储备、选拔、发展是核心课题,提升企业人才内生性供给能力,是企业发展人才保障的长久之计。

  • 阅读4
  • 下载0

肺动脉高压临床试验教育者的演进与影响

在临床试验环境中,肺动脉高压(PAH)的专门领域需要定 制化护理。不应低估赞助商、主要研究人员(PI)、临床试 验协调员、研究支持人员、医疗人员和勇敢志愿参与临床试 验的肺动脉高压(PAH)患者之间多学科合作的重要性。

  • 阅读4
  • 下载0

高端制造业:技术升级、产业重构与发展路径研究

高端制造业正呈现规模持续扩张与结构深度优化并行的发展态势。截至2024年底,我国高端制造业上市公司总资产达27.24万亿元,占A股上市公司总资产的6.07%,较2023年末增长6.13%,较2020年末大幅增长68.79%[1]。行业主体数量稳步增加,规模以上高端制造企业数量年均复合增长率达7.3%,资产总额与营业收入双轮驱动特征显著。从区域分布看,制造业正加速由东部沿海向中西部梯度转移,跨区域产业链协作深化,为整体规模扩容提供了空间支撑[2]。近年来,行业增速呈现"高位趋稳、结构分化"的新节奏:2021一2023年复合增速约9.2%,但2024年同比增速回落至5.8%,反映出由规模扩张主导向质量效益主导的阶段性转换。

  • 阅读4
  • 下载0
  • 关于我们

    电话:029-8838-6725

  • 新闻资讯

    企业简介 新闻动态 品牌实力 代理合作 诚聘英才 联系我们

  • 中服云

  • 工业互联网风向标

  • 在线咨询

西安/北京/南京/重庆/合肥/厦门/甘肃 地址:陕西省西安市雁塔区鱼跃工业园慧康生物科技产业园7楼 电话: 029-8838-6725

版权所有 @ 中服云 陕ICP备11002812号
  • 扫码咨询

    或

    点击立即咨询
  • 客服咨询

  • 用手机扫二维码

    或

    复制当前地址

  • 问题反馈 中服大讲堂 客服电话

方案库赚钱指南