• 首页

  • 方案库

  • 工业品库

  • 招标项目库

  • 专家库

  • 人才库

会员中心
搜索
登录
注册
  • 方案名称

解决方案

数字化转型通用方案行业方案安全方案大数据人工智能物联网行业展望自动控制其他

产品|技术

白皮书产品介绍技术介绍技术创新模型算法

政策|规范

政策规范行动计划

电子书

电子书课件

报告|论文

报告模板论文
  • 全部
  • 人气排行
  • 下载排行
  • 页数排行
  • 最新排行

基于改进MPSO_SVM算法的下肢连续运动预测模型_隋修武

针对当前下肢连续运动预测精度低的问题,提出一种基于改进的MPSO-SVM算法对下肢连续运动进行精确预测。首先采集人体正常行走时下肢的表面肌电信号、加速度和髋关节角度信息,对消噪后的肌电信号提取均方根值、积分肌电值和加速度的信号幅度域作为特征样本,利用主成分分析方法进行特征值融合,然后通过引入正弦函数和指数函数对自适应粒子群优化(MPSO)算法进行改进,利用改进的MPSO算法优化支持向量机(SVM)的惩罚参数和核函数参数,最后,利用行走时下肢的肌电信号和加速度信号特征样本数据对基于改进的MPSO-SVM算法构造的髋关节角度预测模型进行训练、测试。结果表明:基于改进的MPSO-SVM算法对髋关节的关节角度预测均方根误差为2.67°、平均误差为1.40°、最大绝对误差为7.72°,远远优于SVM算法预测的21.27°、8.02°、58.38°和BP神经网络预测结果的23.60°、13.59°、63.69°。

  • 2021-06-17
  • 阅读1351
  • 下载0
  • 7页
  • pdf

物联传感智慧家居解决方案

80年代左右,随着TCP/IP技术和以太网技术的出现,数据通信网络的发展进入了一个新的阶段。局域网和广域网迅速普及,并最终催生了伟大的全球互联网。 传感网受上述技术的影响,也逐渐将自己的数据传输通道IP化、以太化。与此同时,伴随传感器技术的飞速进步,传感网开始逐渐从军事领域,走向工业及民用领域。

  • 2021-06-18
  • 阅读226
  • 下载0
  • 15页
  • pdf

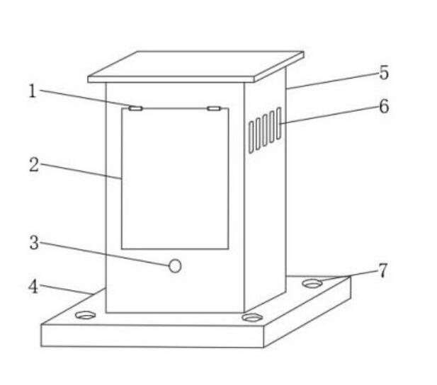
一种便于移动的工业互联网用通信设备柜

本实用新型公开了一种便于移动的工业互联网用通信设备柜,包括设备底座,所述设备底座上表面固定安装有设备柜体,所述设备底座上表面位于四角位置均开设有固定通孔,所述设备柜体前表面固定安装有合页,所述合页上固定安装有设备柜门,所述设备柜体前表面位于设备柜门一侧固定安装有设备柜锁,所述设备柜门内安装有遮挡机构,所述设备柜门内侧表面安装有支撑机构,所述设备柜体两侧表面均固定安装有散热通孔,所述收纳槽开设于设备柜门上,所述收纳槽内活动安装有遮挡板块,所述遮挡板块两侧均固定安装有活动滑轨,所述遮挡板块上开设有推拉豁口。本实用新型所述的一种便于移动的工业互联网用通信设备柜,能够改善工作人员的工作环境。

  • 2021-06-16
  • 阅读163
  • 下载0
  • 7页
  • pdf

应用于工业互联网的交互界面生成方法及系统

本发明涉及工业互联网领域,尤其涉及应用于工业互联网的交互界面生成方法及系统,该方法包括以下步骤:S1:获取用户输入的自然语言;S2:通过自然语言处理技术获取自然语言中的交互界面描述数据;S3:根据交互界面描述数据生成交互界面。本发明通过利用自然语言处理技术对自然语言进行分析处理,获取自然语言中的交互界面描述数据,并根据交互界面描述数据自动生成交互界面。

  • 2021-06-16
  • 阅读159
  • 下载0
  • 8页
  • pdf

电子商务与国际贸易

根据各个国家自己的社会经济条件和自然资源的不同,每个国家都可能适宜于生产某些特定的产品,如果每一个国家都按照其有利的生产条件去进行专业化生产,然后彼此进行交换,则对所有国家都是有利的.

  • 2021-06-16
  • 阅读338
  • 下载0
  • 82页
  • pdf

SAM智慧城市之智慧社区

智慧城市是利用新一代信息技术来感知、监测、分析、整合城市资源,对各种需求做出迅速、灵活、准确反应,为公众创造绿色、和谐环境,提供泛在、高效服务的城市形态工信部:智慧城市核心是大数据.

  • 2021-06-16
  • 阅读208
  • 下载0
  • 45页
  • pdf

城市规划-基于大数据的智慧城市研究与规划(20210615191944)

big data是由数量巨大、结构复杂、类型众多数据构成的数据集合,是基于云计算的数据处理与应用模式,通过数据的整合共享,交叉复用,形成的智力资源和知识服务能力。要处理的数据量实在是太大、增长太快了,而业务需求和竞争压力对数据处理的实时性、有效性又提出了更高要求,传统的常规技术手段根本无法应付。

  • 2021-06-16
  • 阅读669
  • 下载0
  • 144页
  • pdf

平潭岛智慧城市专项大纲

智慧城市,是指在城市发展过程中,在城市基础设施、资源环境、社会民生、经济产业、市政治理领域中,充分利用物联网、互联网、云计算、IT、智能分析等技术手段,对城市居民生活工作、企业经营发展和政府行政管理过程中的相关活动,进行智慧地感知、分析、集成和应对,为市民提供一个更美好的生活和工作环境,为企业创造一个更有利的商业发展环境,为政府构建一个更高效的城市运营管理环境。智慧城市的核心是构建智慧型城市运行生态系统和城市产业生态系统。

  • 2021-06-16
  • 阅读244
  • 下载0
  • 9页
  • pdf
上一页 1 …… 339340341342343344345346347348349 …… 2878 下一页 共 23017 条


立即登录

没有账户,需要注册

登录用户可享受以下权益
  • 免费下载方案
  • 服币提现
  • 发布方案得服币
  • 交易分成

精品推荐

竞争对手分析

母公司公司的总目标是什么?母公司要求该业务单位做什么?将业务单位的定位是什么(基础业务还是边缘业务)

  • 阅读146
  • 下载0

2025知识图谱与大模型融合实践案例集

随着人工智能的迅猛发展,知识图谱与大模型作为两大核心研究领域,各自彰显出独特的技术优势。知识图谱以结构化方式精准刻画实体关联,为知识表示与推理提供了可解释的框架;大模型则凭借海量数据训练展现出卓越的自然语言理解与生成能力,具备强大的泛化学习性能。

  • 阅读159
  • 下载4

国内重点工业物联网平台四类厂商分类及选型指南

国内重点工业物联网平台四类厂商分类及选型指南

  • 阅读311
  • 下载6

工业物联网平台的典型应用场景深度分析

工业物联网平台发展重点: 一是行业深耕化,从通用型平台向“一米宽、百米深”的行业垂直平台转型,聚焦能源、交通、化工等领域的特定需求,沉淀场景化解决方案与行业Know-how,而非追求“大而全”的覆盖能力。 二是智能融合化,工业大模型与平台深度结合,实现工业知识的智能化重构、应用开发的低代码化升级,以及生产运营的自感知、自决策、自优化闭环管控,AI成为提质增效的核心变量。 三是生态协同化,平台不再是单一技术载体,而是串联产业链上下游的协同中枢,通过跨系统数据融合、产学研用金深度合作,形成“数据-算力-应用”的生态闭环,赋能供应链协同与产业集群升级。 四是部署灵活化,采用“平台化产品+私有化部署”结合的模式,兼顾中小企业轻量化需求与大型集团定制化诉求,支持公有云、私有云、边缘端的混合部署,平衡成本与安全性。

  • 阅读330
  • 下载9

最新上线

全球绿色航运发展报告(2024-2025)

2024年至2025年上半年,国际海事组织批准了MARPOL公约附则VI关于“IM0净零框架”的修正案草案、通过了《2024年船用燃料全生命周期温室气体强度导则》(2024LCA导则)(MEPC.391(81))、批准增设了排放控制区域(ECA)及特别敏感海域(PSSAs)。

  • 阅读21
  • 下载1

全球数字治理蓝皮书(2025年)

当前,国际局势变乱交织,大国竞争愈演愈烈,全球南方加快崛起,新兴技术复杂影响更加突出,全球治理体系面临深刻调整。习近平主席在“上海合作组织+”会议提出“全球治理倡议”,相关概念文件指出,要优先考虑在人工智能、网络空间、外空等治理紧迫性突出、治理赤字较大的领域,以及支持联合国落实《未来契约》等方面加大沟通合作,积极凝聚共识、锁定成果,争取早期收获。

  • 阅读23
  • 下载0

新型电力系统背景下的电力开关技术与装备

研究背景:快速真空开关是发电机断路器、限流器、直流断路器中的核心设备,毫秒级响应要求机 械力在±100kN间大幅快速变化,加速度高达1000g,操动过程涉及电路-磁场-机械-温度等复杂过程!

  • 阅读24
  • 下载0

智能机器人城市空间场景应用指南2026版

为总结与推广“十四五”期间智能机器人在环境清洁、安防巡检、物流配送、康养陪护等领域取得的成效,贯彻实施《“机器人+”应用行动实施方案》,响应《关于深化智慧城市发展、推进城市全域数字化转型的指导意见》《城市数字公共基础设施标准体系》《国务院办公厅关于加快场景培育和开放推动新场景大规模应用的实施意见》,推动将智能机器人系统纳入智慧城市发展框架,明确城市场景对机器人规模化、商业化应用的关键牵引作用,本指南系统梳理了智能机器人在城市空间应用的核心场景、技术要求和实施路径,以期为企业研发、产品选型、系统集成、运营管理及相关标准研制提供参考。

  • 阅读25
  • 下载1
  • 关于我们

    电话:029-8838-6725

  • 新闻资讯

    企业简介 新闻动态 品牌实力 代理合作 诚聘英才 联系我们

  • 中服云

  • 工业互联网风向标

  • 在线咨询

西安/北京/南京/重庆/合肥/厦门/甘肃 地址:陕西省西安市雁塔区鱼跃工业园慧康生物科技产业园7楼 电话: 029-8838-6725

版权所有 @ 中服云 陕ICP备11002812号
  • 扫码咨询

    或

    点击立即咨询
  • 客服咨询

  • 用手机扫二维码

    或

    复制当前地址

  • 问题反馈 中服大讲堂 客服电话

方案库赚钱指南