• 首页

  • 方案库

  • 工业品库

  • 招标项目库

  • 专家库

  • 人才库

会员中心
搜索
登录
注册
  • 方案名称

解决方案

数字化转型通用方案行业方案安全方案大数据人工智能物联网行业展望自动控制其他

产品|技术

白皮书产品介绍技术介绍技术创新模型算法

政策|规范

政策规范行动计划

电子书

电子书课件

报告|论文

报告模板论文
  • 全部
  • 人气排行
  • 下载排行
  • 页数排行
  • 最新排行

利用大数据的数字收费管理系统

本发明公开了利用大数据的数字收费管理系统,包括与车体连接的车牌,所述车牌安装在车体的顶部,还包括云端站点管理平台、第三方收费终端、车主手机终端、位于收费站进出口处的车辆过往监测系统,所述车辆过往监测系统与云端站点管理平台连接,其中:车辆过往监测系统:采集收费站过往车辆的车牌信息、定位信息、时刻信息,并将车牌信息、定位信息、时刻信息和车辆状态信息传输给云端站点管理平台;云端站点管理平台:接收车辆过往监测系统传输的车牌信息、定位信息、时刻信息和车辆状态信息,当接收的车辆状态信息为进站时,将车辆进入收费站的车牌信息、定位信息、时刻信息传输给与该车牌注册绑定的车主手机终端中。

  • 2021-06-23
  • 阅读145
  • 下载0
  • 7页
  • pdf

一种基于大数据的智能健身瑜伽垫

本实用新型涉公开了一种基于大数据的智 能健身瑜伽垫,包括控制箱,所述控制箱前后两 侧的内壁之间转动连接有导辊,所述导辊的前后 两端均固定连接有第一齿轮,两个所述第一齿轮 相对的一侧活动连接有瑜伽垫本体,所述控制箱 前侧和后侧的内壁均转动连接有第二齿轮。该基 于大数据的智能健身瑜伽垫,通过转动旋转把 手,使螺纹杆转动,带动与螺纹杆侧表面啮合的 第二齿轮转动,使与第二齿轮侧表面啮合的第一 齿轮转动,带动导辊转动,使导辊侧表面活动套 接的瑜伽垫本体的另一端向左延伸,即可对瑜伽 垫的长度进行调节,使其适应不同身高的练习 者,从而提高瑜伽垫对不同人群的适用性,进而 便于瑜伽垫的使用。

  • 2021-06-23
  • 阅读173
  • 下载0
  • 7页
  • pdf

一种基于互联网大数据的服务提供方法

本发明公开了一种基于互联网大数据的服 务提供方法 ,包括互联网数据标准化定义、互联 网数据采集、互联网数据预处理、互联网数据安 全处理和互联网数据服务提供。根据国标或行标 建立起数据元的标准规范,依标建模,根据数据 元的标准,创建业务逻辑模型;模型落地,引用业 务逻辑模型,对模型进行实例化;标准服务,通过 定义数据服务协议标准,对外提供统一的接口服 务。本发明互联网大数据的服务提供,涵盖从数 据采集、标准化、数据处理、数据服务、运行期监 控等全生命周期的管理活动,基于数据治理的能 力,提供高质量的数据,进一步提供专业化的数 据资产服务,为数据资产管理和增值提供全面支 持,提供稳定可靠的数据服务,满足实际应用的 需要。

  • 2021-06-23
  • 阅读146
  • 下载0
  • 13页
  • pdf

一种农业大数据价格预警管理系统及方法

本发明公开了一种农业大数据价格预警管 理系统及方法,数据采集平台能够实时获取线上 和/或线下的农产品价格信息,并将获取的农产 品价格信息上传至云端;大数据分析平台针对农 产品的供需属性、季节性及周期性进行分析,建 立农产品价格风险识别模型;预警展示平台利用 农产品价格风险识别模型根据地区、品种、价格 风险识别程度进行农产品预警展示以及在农产 品价格触发设置的阈值时进行推送信息管理;实 时移动平台通过互联网获取云端的农产品价格 信息以及预警展示平台传输的预警展示、推送信 息。本发明从农产品价格数据的采集、价格预警 信息的识别、预警信息的管理方面,实现利用农 业大数据对农业生产经营的价格管理功能。

  • 2021-06-23
  • 阅读189
  • 下载0
  • 8页
  • pdf

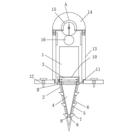
基于大数据的地质灾害自动监测预警系统

本实用新型涉及地质灾害监测技术领域,且 公开了基于大数据的地质灾害自动监测预警系 统,解决了地表变形监测的资金投入较大以及预 警缓慢的问题,其包括安装杆,所述安装杆的底 端设有锥形杆,安装杆的内部开设有容纳槽一, 锥形杆的内部开设有容纳槽二,锥形杆的两侧等 距离开设有开槽,容纳槽二的内部两侧对称设有 安装板,安装板上设有贯穿于开槽内部的倒刺 杆,两个安装板的顶端与位于容纳槽一内部的距 离调节机构连接,安装杆的外壁设有底板,底板 的外壁设有固定板,固定板上连接有套设于安装 杆外部的套筒,套筒的顶端设有保护罩;本设计 结构简单、制作容易和成本低,且便于操作使用, 有效的提高了装置的实用性。

  • 2021-06-23
  • 阅读126
  • 下载0
  • 8页
  • pdf

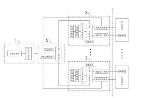
一种基于大数据的充电站智慧云平台

本实用新型公开了一种基于大数据的充电 站智慧云平台,包括云端控制系统以及设置在各 个充电站内的站控系统和若干个充电桩,充电桩 均通过控制总线与站控系统连接,站控系统与云 端控制系统通过互联网通讯连接;站控系统能够 实时监控充电桩的工作状态,车主、维保人员和 设备厂商等可通过云端控制系统获取站控系统 的监控数据,便于了解各个充电站的实际情况, 方便车主了解车辆的充电情况,也能够提高维保 人员的维保效率,设备厂商可根据充电站的使用 情况以及用户的反馈信息来实现更加科学的运 维管理,实现设备厂商、维保人员、用户与充电站 之间的互联,有效降低运维成本,并提高用户体 验。

  • 2021-06-23
  • 阅读179
  • 下载0
  • 6页
  • pdf

一种云存储环境下基于最大团模型的数据访问策略

本发明公开了一种云存储环境下基于最大团模型的数据访问策略,所述策略根据待访问的数据块所属的节点,定义各数据块副本的访问代价,并在此基础上,构建加权最大团模型并求解,使得客户端在获取完整的数据块的前提下保证数据块副本的访问代价最小。本发明为云存储提供一种多数据块副本访问模型,保证客户端获取完整数据块信息的基础上,数据块的总访问代价最小。

  • 2021-06-23
  • 阅读143
  • 下载0
  • 6页
  • pdf

一种基于大数据的旅游服务终端

本实用新型公开了一种基于大数据的旅游 服务终端,包括箱体和箱体一侧的显示槽,显示 槽为倾斜设置,箱体内且位于显示槽的下方设有 与其相匹配的显示屏,显示屏的底端设有与箱体 相连接的高度调节机构,高度调节机构包括位于 箱体内横向设置的横板,横板的顶端设有壳体, 壳体为顶端开口的中空结构,且壳体内的底端中 部设有伸缩气缸,伸缩气缸的顶端对称设有水平 横向设置的滑杆。有益效果:伸缩气缸带动滑杆 向上移动,导杆二在移动的过程中由于衔接杆与 滑块相互抵触,使得滑块通过活动杆一和活动杆 二推动横杆上升,进而带动显示屏进行高度的调 节,使得屏幕和相关电子器件隐藏如第二机体 内,防止屏幕和相关电子器件的损伤。

  • 2021-06-20
  • 阅读145
  • 下载0
  • 7页
  • pdf
上一页 1 …… 195196197198199200201202203204205 …… 2193 下一页 共 17542 条


立即登录

没有账户,需要注册

登录用户可享受以下权益
  • 免费下载方案
  • 服币提现
  • 发布方案得服币
  • 交易分成

精品推荐

国内重点工业物联网平台四类厂商分类及选型指南

国内重点工业物联网平台四类厂商分类及选型指南

  • 阅读195
  • 下载6

工业物联网平台的典型应用场景深度分析

工业物联网平台发展重点: 一是行业深耕化,从通用型平台向“一米宽、百米深”的行业垂直平台转型,聚焦能源、交通、化工等领域的特定需求,沉淀场景化解决方案与行业Know-how,而非追求“大而全”的覆盖能力。 二是智能融合化,工业大模型与平台深度结合,实现工业知识的智能化重构、应用开发的低代码化升级,以及生产运营的自感知、自决策、自优化闭环管控,AI成为提质增效的核心变量。 三是生态协同化,平台不再是单一技术载体,而是串联产业链上下游的协同中枢,通过跨系统数据融合、产学研用金深度合作,形成“数据-算力-应用”的生态闭环,赋能供应链协同与产业集群升级。 四是部署灵活化,采用“平台化产品+私有化部署”结合的模式,兼顾中小企业轻量化需求与大型集团定制化诉求,支持公有云、私有云、边缘端的混合部署,平衡成本与安全性。

  • 阅读241
  • 下载8

低空基础设施发展研究报告(2025)

当前,世界百年变局加速演进,新一轮科技革命和产业变革?深入发展,低空经济作为新质生产力的重要组成部分,正以前瞻?性、引领性姿态加速崛起,成为推动经济结构优化升级、塑造高?质量发展新动能的关键领域。

  • 阅读403
  • 下载1

华为数字化转型之道

首先从华为的视角总结了企业对于数字化转型的应有的共识,以及从战略角度阐述了华为为何推行数字化转型,然后给出了华为数字化转型的整体框架(方法论),以及企业数字化转型成熟度评估的方法,帮助读者在厘清华为开展数字化转型工作的整体脉络的同时,能快速对自身的数字化水平进行自检,

  • 阅读477
  • 下载4

最新上线

全球数字治理蓝皮书(2025)

全球数字治理蓝皮书(2025)全球数字治理蓝皮书(2025)全球数字治理蓝皮书(2025)全球数字治理蓝皮书(2025)全球数字治理蓝皮书(2025)全球数字治理蓝皮书(2025)

  • 阅读48
  • 下载0

人工智能赋能应用实践指南

当前,人类正处在新一轮科技革命和产业变革的历史关口,人工智能正以前所未有的速度重塑世界,为千行万业注入新动能。从工业制造的智能产线到农业生产的精准种植,从金融服务的智能风控到医疗健康的远程诊断,人工智能推动着生产效率的跃升与产业形态的迭代。正如《指南》所展望的那样,未来,随着网络通信、前沿算法、存储算力等多元技术的深度融合,以及海量数据与前沿知识的双重加持,人工智能将彻底突破单一技术工具的局限,蜕变为贯穿千行万业生产链条的关键枢纽,融入千家万户的日常起居,成为人类社会高效运转不可或缺的底层支撑。

  • 阅读45
  • 下载0

新能源场站无人值班建设方案

新能源场站无人值班建设方案新能源场站无人值班建设方案新能源场站无人值班建设方案新能源场站无人值班建设方案新能源场站无人值班建设方案新能源场站无人值班建设方案

  • 阅读50
  • 下载1

零碳工厂建设与热能高效利用一事一议破局“零碳”技术路线

零碳工厂建设与热能高效利用一事一议破局“零碳”技术路线零碳工厂建设与热能高效利用一事一议破局“零碳”技术路线零碳工厂建设与热能高效利用一事一议破局“零碳”技术路线零碳工厂建设与热能高效利用一事一议破局“零碳”技术路线

  • 阅读56
  • 下载0
  • 关于我们

    电话:029-8838-6725

  • 新闻资讯

    企业简介 新闻动态 品牌实力 代理合作 诚聘英才 联系我们

  • 中服云

  • 工业互联网风向标

  • 在线咨询

西安/北京/南京/重庆/合肥/厦门/甘肃 地址:陕西省西安市雁塔区鱼跃工业园慧康生物科技产业园7楼 电话: 029-8838-6725

版权所有 @ 中服云 陕ICP备11002812号
  • 扫码咨询

    或

    点击立即咨询
  • 客服咨询

  • 用手机扫二维码

    或

    复制当前地址

  • 问题反馈 中服大讲堂 客服电话

方案库赚钱指南