• 首页

  • 方案库

  • 工业品库

  • 招标项目库

  • 专家库

  • 人才库

会员中心
搜索
登录
注册
  • 方案名称

解决方案

数字化转型通用方案行业方案安全方案大数据人工智能物联网行业展望自动控制其他

产品|技术

白皮书产品介绍技术介绍技术创新模型算法

政策|规范

政策规范行动计划

电子书

电子书课件

报告|论文

报告模板论文
  • 全部
  • 人气排行
  • 下载排行
  • 页数排行
  • 最新排行

工业互联网中的标识解析技术

工业互联网中的标识解析技术,对技术深入解释

  • 2021-06-22
  • 阅读132
  • 下载0
  • 7页
  • pdf

大数据和社会发展共40页文档

大数据(big data)指无法在一定时间范围内用常规软件工具进行捕捉、管理和处理的数据集合,是需要新处理模式才能具有更强的决策力、洞察发现力和流程优化能力的海量、高增长率和多样化的信息资产。

  • 2021-06-22
  • 阅读157
  • 下载0
  • 39页
  • pdf

郭秀花__医学大数据分析策略与数据挖掘

大数据(Big Data),数据量规模巨大到无法通过人工,在合理时间内达到截取、管理、处理、并整理成为人类所能解读的信息。

  • 2021-06-22
  • 阅读129
  • 下载0
  • 41页
  • pdf

互联网+大数据驱动工业转型与创新发展

美国,作为世界互联网的发源地,正在使用其强大的软件技术和互联网大数据驱动新硬件制造,无数令人赞叹的次世代产品内诞生昭示着美国工业互联网的国家战略和未来走向。

  • 2021-06-22
  • 阅读136
  • 下载0
  • 94页
  • pdf

大数据背景下的交通规划技术探讨

通过跨部门的协调,实现了道路流量检测器数据、车辆GPS数据、手机信令数据、RFID电子牌数据、停车诱导数据、监控视频等动态交通运行数据汇聚,基本建成了主城区“交通运行状态数据库”。

  • 2021-06-22
  • 阅读134
  • 下载0
  • 52页
  • pdf

大数据技术的研究共35页文档

数据管理技术历经人工管理、文件管理、数据库管理等时代,大数据技术的出现使该领域进入了一个新的发展阶段。大数据正成为IT行业全新的制高点,各企业和组织纷纷助推大数据的发展,相关技术呈现百花齐放局面,并在互联网应用领域崭露头角。

  • 2021-06-22
  • 阅读132
  • 下载0
  • 34页
  • pdf

工业互联网安全关键技术研究

边缘计算助力工业互联网_架构、应用与挑战

  • 2021-07-28
  • 阅读118
  • 下载0
  • 4页
  • pdf

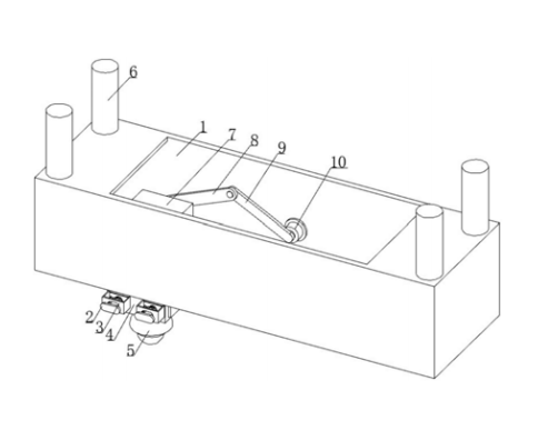
一种基于大数据的安防巡检装置

本实用新型公开了一种基于大数据的安防 巡检装置,涉及安防巡检技术领域,包括固定架, 所述固定架的内侧壁固定连接有移动导轨,所述 移动导轨的上表面滑动连接有移动框,所述固定 架的内壁固定连接有驱动电机,所述移动框的内 顶壁固定连接有连接板。该基于大数据的安防巡 检装置通过驱动电机、第一连接杆、第二连接杆、 移动框和移动导轨之间的配合设置,有效的实现 了摄像头进行左右移动的效果,提高了摄像头的 巡检范围,从而提高了该装置的实用性,通过安 装框、安装板、拉板、限位板、插杆、拉板、固定板、 伸缩弹簧、插孔和插杆之间的配合设置,能够有 效的快速对安装板进行限位,从而对安装板进行 拆卸时能够更加的便捷,安装时也便于操作。

  • 2021-06-23
  • 阅读160
  • 下载0
  • 9页
  • pdf
上一页 1 …… 193194195196197198199200201202203 …… 2193 下一页 共 17542 条


立即登录

没有账户,需要注册

登录用户可享受以下权益
  • 免费下载方案
  • 服币提现
  • 发布方案得服币
  • 交易分成

精品推荐

国内重点工业物联网平台四类厂商分类及选型指南

国内重点工业物联网平台四类厂商分类及选型指南

  • 阅读196
  • 下载6

工业物联网平台的典型应用场景深度分析

工业物联网平台发展重点: 一是行业深耕化,从通用型平台向“一米宽、百米深”的行业垂直平台转型,聚焦能源、交通、化工等领域的特定需求,沉淀场景化解决方案与行业Know-how,而非追求“大而全”的覆盖能力。 二是智能融合化,工业大模型与平台深度结合,实现工业知识的智能化重构、应用开发的低代码化升级,以及生产运营的自感知、自决策、自优化闭环管控,AI成为提质增效的核心变量。 三是生态协同化,平台不再是单一技术载体,而是串联产业链上下游的协同中枢,通过跨系统数据融合、产学研用金深度合作,形成“数据-算力-应用”的生态闭环,赋能供应链协同与产业集群升级。 四是部署灵活化,采用“平台化产品+私有化部署”结合的模式,兼顾中小企业轻量化需求与大型集团定制化诉求,支持公有云、私有云、边缘端的混合部署,平衡成本与安全性。

  • 阅读242
  • 下载8

低空基础设施发展研究报告(2025)

当前,世界百年变局加速演进,新一轮科技革命和产业变革?深入发展,低空经济作为新质生产力的重要组成部分,正以前瞻?性、引领性姿态加速崛起,成为推动经济结构优化升级、塑造高?质量发展新动能的关键领域。

  • 阅读404
  • 下载1

华为数字化转型之道

首先从华为的视角总结了企业对于数字化转型的应有的共识,以及从战略角度阐述了华为为何推行数字化转型,然后给出了华为数字化转型的整体框架(方法论),以及企业数字化转型成熟度评估的方法,帮助读者在厘清华为开展数字化转型工作的整体脉络的同时,能快速对自身的数字化水平进行自检,

  • 阅读478
  • 下载4

最新上线

全球数字治理蓝皮书(2025)

全球数字治理蓝皮书(2025)全球数字治理蓝皮书(2025)全球数字治理蓝皮书(2025)全球数字治理蓝皮书(2025)全球数字治理蓝皮书(2025)全球数字治理蓝皮书(2025)

  • 阅读49
  • 下载0

人工智能赋能应用实践指南

当前,人类正处在新一轮科技革命和产业变革的历史关口,人工智能正以前所未有的速度重塑世界,为千行万业注入新动能。从工业制造的智能产线到农业生产的精准种植,从金融服务的智能风控到医疗健康的远程诊断,人工智能推动着生产效率的跃升与产业形态的迭代。正如《指南》所展望的那样,未来,随着网络通信、前沿算法、存储算力等多元技术的深度融合,以及海量数据与前沿知识的双重加持,人工智能将彻底突破单一技术工具的局限,蜕变为贯穿千行万业生产链条的关键枢纽,融入千家万户的日常起居,成为人类社会高效运转不可或缺的底层支撑。

  • 阅读46
  • 下载0

新能源场站无人值班建设方案

新能源场站无人值班建设方案新能源场站无人值班建设方案新能源场站无人值班建设方案新能源场站无人值班建设方案新能源场站无人值班建设方案新能源场站无人值班建设方案

  • 阅读51
  • 下载1

零碳工厂建设与热能高效利用一事一议破局“零碳”技术路线

零碳工厂建设与热能高效利用一事一议破局“零碳”技术路线零碳工厂建设与热能高效利用一事一议破局“零碳”技术路线零碳工厂建设与热能高效利用一事一议破局“零碳”技术路线零碳工厂建设与热能高效利用一事一议破局“零碳”技术路线

  • 阅读57
  • 下载0
  • 关于我们

    电话:029-8838-6725

  • 新闻资讯

    企业简介 新闻动态 品牌实力 代理合作 诚聘英才 联系我们

  • 中服云

  • 工业互联网风向标

  • 在线咨询

西安/北京/南京/重庆/合肥/厦门/甘肃 地址:陕西省西安市雁塔区鱼跃工业园慧康生物科技产业园7楼 电话: 029-8838-6725

版权所有 @ 中服云 陕ICP备11002812号
  • 扫码咨询

    或

    点击立即咨询
  • 客服咨询

  • 用手机扫二维码

    或

    复制当前地址

  • 问题反馈 中服大讲堂 客服电话

方案库赚钱指南