• 首页

  • 方案库

  • 工业品库

  • 招标项目库

  • 专家库

  • 人才库

会员中心
搜索
登录
注册
  • 方案名称

解决方案

数字化转型通用方案行业方案安全方案大数据人工智能物联网行业展望自动控制其他

产品|技术

白皮书产品介绍技术介绍技术创新模型算法

政策|规范

政策规范行动计划

电子书

电子书课件

报告|论文

报告模板论文
  • 全部
  • 人气排行
  • 下载排行
  • 页数排行
  • 最新排行

智慧城市云服务网络管理系统

本系统主要实现云服务器的网络控制管理。目前云服务的网络越来越多。本系统的效果是管理云服务的网络终端。用户开通云服务系统后,在此平台中可对远程的服务系统进行控制管理。比如对硬盘的管理、对各类定制功能的管理等等。通过本系统的实施可方便对云服务的系统功能设置管理。

  • 2021-06-18
  • 阅读118
  • 下载0
  • 22页
  • pdf

智慧城市运营管理模式研究

无论是数字城市、无线城市还是城市光网、智慧城市等理念都是一个正在发展和演变的概念.平安城市则是一个内涵和规范相对固定的理念,智慧城市强调通过传感网广泛采集信息,整合现有孤立的不同数字化信息应用资源,通过有线和无线方式互联互通和智能的数据融合与分析提供智慧的信息化应用。

  • 2021-06-18
  • 阅读171
  • 下载0
  • 40页
  • pdf

智慧城市运营模式

政府对网络监管力度大。运营商可利用已有网络、客户资源、运营经验、人才以及资金优势。降低商务风险,增加首期收益,政府要承担建设费用和相应的风险。运营商对产品规划和发展的控制不足,不能有效地利用设备资源.

  • 2021-06-18
  • 阅读225
  • 下载0
  • 6页
  • pdf

一种工业互联网实施与运维实训平台

本发明公开了一种工业互联网实施与运维 实训台,包括组合电脑桌,工作台柜,工业网关模 块,原料模块,成品/废品模块,检测/组装模块, 机器人模块,人机交互模块,转运模块,上下料模 块,加工模块,工作台柜底板安装有控制系统;上 述部件均集成安装在工作台柜上,并整体形成可 移动式实训台,通过工业网关模块进行各个部件 的运行数据采集,并通过人机交互模块实现学生 的实训操作。本发明通过端到端的数据深度集成 与建模分析,实现智能化的决策与控制指令,形 成智能化生产、网络化协同、个性化定制、服务化 延伸等新型制造模式,通过集成化的可移动式实 训台,实现学生的实训操作,使学生掌握工业互 联网实施与运维相关技术,提高动手操作能力。

  • 2021-06-19
  • 阅读164
  • 下载0
  • 40页
  • pdf

一种用于工业互联网的边缘网关准入方法及装置

本申请提供了一种用于工业互联网的边缘 网关准入方法及装置,其中,该方法包括:向云平 台发送第一IPv6认证密钥请求,以使云平台接收 第一IPv6认证密钥请求,基于边缘网关的IPv6地 址作为公钥生成第一IPv6认证密钥并下发边缘 网关;向云平台发送第一认证请求,以使云平台 核验第一认证请求,核验通过后生成第一随机 数,并利用自身的私钥对第一随机数进行签名, 得到第一签名,将第一随机数和第一签名下发边 缘网关;对第一随机数和第一签名进行验证;验 证通过后利用第一IPv6认证密钥对第一随机数 进行签名,得到第二签名并发送给云平台,以使 云平台对第二签名进行验证,验证通过后边缘网 关与云平台建立通信。本申请实施例可以保护 IPv6地址网络下的工业互联网边界安全。

  • 2021-06-22
  • 阅读128
  • 下载0
  • 20页
  • pdf

基于大数据分析的供热二次管网异常监测的算法比较_张庆峰

近年来供热二次网平衡调控和节能日益成为供热企业关注的焦点。随着热计量器具的大量安装和海量数据的采集,供热企业积累了前所未有的供热末端数据,但是这些数据存在着数据量大、有一定失真度等问题,使得供热企业由于缺乏合适的工具而无法发挥这些数据的作用。基于上述原因,本文提出了一种基于孤立森林的分布式算法,通过对热计量表数据进行分析,对数据进行清洗和筛选,从而正确识别出供暖异常情况。本文将孤立森林算法部署到spark分布式计算平台上,极大地提高了算法的运行速度,并且误报率(FPR)和查全率(TPR)等指标都优于常用的K均值(K-Means)算法和高斯混合模型(GMM)算法。

  • 2021-06-18
  • 阅读1276
  • 下载0
  • 14页
  • pdf

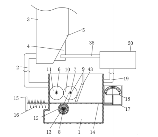
一种基于工业互联网的垃圾处理机器人

本发明公开了一种基于工业互联网的垃圾 处理机器人,包括粉碎分离仓,所述粉碎分离仓 上靠近顶部的左侧固定连接有连接臂一,所述连 接臂一的右端固定连接有存放仓,所述存放仓的 内壁滑动插接有待处理金属夹丝玻璃,所述待处 理金属夹丝玻璃上靠近底部右侧开设有斜面缺 口,所述粉碎分离仓的内壁限位转动连接有由动 力机构驱动转动的轴一和轴二,所述粉碎分离仓 上靠近底部的内壁限位转动连接有轴三。本发 明,通过上述结构之间的配合使用下,解决了在 实际使用过程中,由于传统设备难以对金属夹丝 玻璃等建筑工业中的废弃垃圾的处理进行有效 的粉碎和分离,给后续的处理带来不便,降低了 工作效率的问题。

  • 2021-06-22
  • 阅读146
  • 下载0
  • 13页
  • pdf

基于栅格模型与改进蚁群算法的机器人路径规划研究_王影

针对传统的机器人路径规划算法存在搜索空间大、局部最优、效率低等问题,首先在机器人的工作环境建立栅格环境模型,然后对传统的蚁群算法进行信息素浓度限制、信息素浓度更新方式改进、状态转移规则的改进,然后运用栅格法与改进的蚁群算法相结合的方法,寻找最优路径.结果表明:这一方法经过很短的迭代,得出所建模型路径规划的最短路径,有效解决机器人路径规划的有效性和准确性低的问题,改善机器人路径规划的总体性能.

  • 2021-06-18
  • 阅读1239
  • 下载0
  • 6页
  • pdf
上一页 1 …… 377378379380381382383384385386387 …… 2878 下一页 共 23017 条


立即登录

没有账户,需要注册

登录用户可享受以下权益
  • 免费下载方案
  • 服币提现
  • 发布方案得服币
  • 交易分成

精品推荐

国内重点工业物联网平台四类厂商分类及选型指南

国内重点工业物联网平台四类厂商分类及选型指南

  • 阅读92
  • 下载4

工业物联网平台的典型应用场景深度分析

工业物联网平台发展重点: 一是行业深耕化,从通用型平台向“一米宽、百米深”的行业垂直平台转型,聚焦能源、交通、化工等领域的特定需求,沉淀场景化解决方案与行业Know-how,而非追求“大而全”的覆盖能力。 二是智能融合化,工业大模型与平台深度结合,实现工业知识的智能化重构、应用开发的低代码化升级,以及生产运营的自感知、自决策、自优化闭环管控,AI成为提质增效的核心变量。 三是生态协同化,平台不再是单一技术载体,而是串联产业链上下游的协同中枢,通过跨系统数据融合、产学研用金深度合作,形成“数据-算力-应用”的生态闭环,赋能供应链协同与产业集群升级。 四是部署灵活化,采用“平台化产品+私有化部署”结合的模式,兼顾中小企业轻量化需求与大型集团定制化诉求,支持公有云、私有云、边缘端的混合部署,平衡成本与安全性。

  • 阅读159
  • 下载7

低空基础设施发展研究报告(2025)

当前,世界百年变局加速演进,新一轮科技革命和产业变革?深入发展,低空经济作为新质生产力的重要组成部分,正以前瞻?性、引领性姿态加速崛起,成为推动经济结构优化升级、塑造高?质量发展新动能的关键领域。

  • 阅读330
  • 下载1

华为数字化转型之道

首先从华为的视角总结了企业对于数字化转型的应有的共识,以及从战略角度阐述了华为为何推行数字化转型,然后给出了华为数字化转型的整体框架(方法论),以及企业数字化转型成熟度评估的方法,帮助读者在厘清华为开展数字化转型工作的整体脉络的同时,能快速对自身的数字化水平进行自检,

  • 阅读400
  • 下载4

最新上线

算力互联网体系架构研究报告

算力互联网的发展和演进是一个持续不断的过程,编制组将密切关注国内外算力互联网的发展动态,积极听取产业界的意见与建议,不断完善和优化算力互联网体系架构的研究内容,适时修订并发布报告的新版本,以更好地推动算力互联网发展。

  • 阅读42
  • 下载0

数据智能服务产业发展研究报告

为更好地推动数据智能服务产业发展,本报告从数据智能服务产业定义、要素、载体、产业链、创新模式等方面开展研究工作。第一部分数据智能服务产业概念界定、内涵特征以及全球趋势;第二部分分析数据智能服务产业的核心关键要素;第三部分阐述数据智能服务产业链结构以及产业生态图谱;第四部分阐述数据智能服务的产业载体,第五部分总结了数据智能服务产业的创新模式,最后根据上述研究,从技术、应用、产业、安全等四个方面分析趋势,为我国数据智能服务产业发展提供参考。

  • 阅读42
  • 下载0

人工智能算法与应用场景介绍

通过深度学习嵌入算法可以对离散序列数据一自然语言文本进行计算分析。 主要应用方向是文本信息抽取,包括文本分类、关键实体识别、实体之间关系识别以及事件识别。

  • 阅读38
  • 下载0

医共体信息化整体解决方案

利用人与大数据技术,结合专业的中医疾病、证候/治则知识库、疾病知识图谱等,研发了医用智能处方椎荐系统。它能够无缝植入到医院现有的HIS和医生工作中,不改变医生工作流程,输入患者信息、证候、主诉等信息智能推荐方剂和备用饮片药,医生进行加减化裁即可成方,节省医生诊疗时间,提高工作效率。

  • 阅读36
  • 下载0
  • 关于我们

    电话:029-8838-6725

  • 新闻资讯

    企业简介 新闻动态 品牌实力 代理合作 诚聘英才 联系我们

  • 中服云

  • 工业互联网风向标

  • 在线咨询

西安/北京/南京/重庆/合肥/厦门/甘肃 地址:陕西省西安市雁塔区鱼跃工业园慧康生物科技产业园7楼 电话: 029-8838-6725

版权所有 @ 中服云 陕ICP备11002812号
  • 扫码咨询

    或

    点击立即咨询
  • 客服咨询

  • 用手机扫二维码

    或

    复制当前地址

  • 问题反馈 中服大讲堂 客服电话

方案库赚钱指南