• 首页

  • 方案库

  • 工业品库

  • 招标项目库

  • 专家库

  • 人才库

会员中心
搜索
登录
注册
  • 方案名称

解决方案

数字化转型通用方案行业方案安全方案大数据人工智能物联网行业展望自动控制其他

产品|技术

白皮书产品介绍技术介绍技术创新模型算法

政策|规范

政策规范行动计划

电子书

电子书课件

报告|论文

报告模板论文
  • 全部
  • 人气排行
  • 下载排行
  • 页数排行
  • 最新排行

一种工业互联网智能设备远程操作安全验证方法

本发明公开一种工业互联网智能设备远程操作安全验证方法,包括用户身份验证、设备远程操作审批、设备远程操作执行、信息签名认证及加密存储等步骤。该方法通过数字签名、对称加密技术使工业互联网中智能设备的远程操作控制的安全性大大增强,通过OPC技术实现对多种不同智能设备的远程操作控制,使工业互联网更加安全且富有柔性能够实现与多种智能设备的互联。

  • 2021-06-18
  • 阅读143
  • 下载0
  • 8页
  • pdf

一种基于工业互联网的中药或天然植物提取智能制造系统

本发明公开了一种基于工业互联网的中药或天然植物提取智能制造系统,包括智能生产平台和智能云平台;所述智能生产平台分别与工业互联网和智能云平台连接;所述智能云平台分别与工业互联网和智能生产平台连接。本发明通过跨设备、跨系统、跨厂区、跨地区的互联互通,实现工业生产的资源优化,协同合作和服务延伸,提高资源利用效率,催生大规模个性定制、网络协同制造、服务型制造、智能化生产等新模式。通过工厂内外网络推动工业数据的充分流动,强化数据分析能力,实现多元化数据的广泛汇聚与深度挖掘,促进工业生产体系的全局优化,加快工业数字化进程,提高企业管理效率,减少投资成本,构建全新的中药提取与生产的工业自动制造和服务体系。

  • 2021-06-18
  • 阅读165
  • 下载0
  • 14页
  • pdf

一种工业互联网标识解析系统代理服务的实现方法

本发明公开了一种工业互联网标识解析系统代理服务的实现方法,本方法中,首先是在服务器的8000端口搭建Handle系统的代理服务器,然后在Handle系统的前端调用代理服务器提供的接口并以编程的方式使用HTTP协议来注册和管理标识,用户发出对应的RESTAPI请求,经过身份验证之后,代理服务器给出相应的HTTP响应。代理服务可以为工业互联网标识解析二级节点提供代理服务。本代理服务还开发了标识模糊查询功能、标识解析量统计功能、批量注册标识功能以及服务器状态监测功能。

  • 2021-06-18
  • 阅读142
  • 下载0
  • 13页
  • pdf

华为云视频的特点和在分级诊疗中的应用

华为在音视频领域已积累超过700件专利,并在视频会议领域有着最全面的布局,涵盖终端设备、云视频平台,可提供端云协同的一站式解决方案,具备从研发到生态构建的综合实力。华为CloudLink云视频平台提供以多样算力为基座的原生视频应用,以媒体融合为理念的视频共享平台,以能力开放为核心的行业使能服务,通过打造专属化的云视频平台,实现极致高清、极致智能、极致容量、极致安全可靠、极简运维,构建智能化工作方式。

  • 2021-06-17
  • 阅读183
  • 下载0
  • 22页
  • pdf

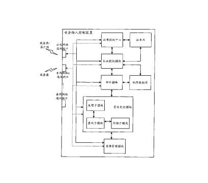
一种工业互联网分布式系统安全接入控制装置

本发明公开了一种工业互联网分布式系统安全接入控制装置,该装置中集合对用户及服务器的身份及访问操作权限进行认证和授权的模块,对用户或服务器的访问操作进行审计的模块,对用户及服务器访问的对象资源进行统一资源定位的模块。有效确保接入工业互联网分布式系统并获取信息/服务的用户或服务器身份的安全性、权限有效性。并且,使得工业互联网中用户及服务器无需获知所需对象资源的实际存储位置,只需通过分布式系统统一的资源定位平台,即可定位到对应的服务器,获取所需的对象资源,实现快速、方便,满足分布式环境下的需求。

  • 2021-06-18
  • 阅读166
  • 下载0
  • 11页
  • pdf

一种基于DE-GWO-SVR的工业互联网安全态势预测方法

本发明涉及一种基于DE?GWO?SVR的工业互联网安全态势预测方法,属于工业互联网安全技术领域,包括:S1:收集工业互联网安全数据信息及安全资产信息并进行预处理,建立工业互联网安全数据库;S2:对数据库中的安全数据进行处理,得到工业互联网安全态势值数据集;S3:采用滑动窗口法将工业互联网安全态势值数据集中的数据构建出训练样本数据集和测试样本数据集;S4:构建基于DE?GWO?SVR的工业互联网安全态势预测模型预测未来安全态势;S5:检验安全态势预测模型,若不满足要求,则返回步骤S4,直至预测结果满足要求。本发明可准确预测工业互联网安全态势,为工业互联网安全提供更好的保障。

  • 2021-06-18
  • 阅读149
  • 下载0
  • 13页
  • pdf

【HR规划】美世:互联网时代的人才战略

互联网时代的业务需求和员工群体都与传统时代明显不同,对人才发展带来新的挑战。战略性、系统性的人才规划对于应对互联网时代人才发展的挑战尤为重要。

  • 2021-06-18
  • 阅读132
  • 下载0
  • 20页
  • pdf

基于工业互联网的采集装置

本实用新型涉及传感器设备技术领域,具体 为基于工业互联网的采集装置,包括装置本体和 安装座,装置本体包括壳体,壳体内设有主控板, 主控板包括控制器,控制器电连接有网络通信模 块、显示模块以及传感器模块;传感器模块包括 温度传感器、气体浓度传感器、湿度传感器、摄像 头、红外热成像传感器以及拾音器;控制器用于 将传感器模块检测的数据通过网络通信模块发 送至上位系统,控制器还用于控制显示模块显示 传感器模块检测的数据以及系统运行参数。本申 请的基于工业互联网的采集装置,能够对工业生 产环境的各项参数进行检测并上传至上位系统, 进而为工业生产的智能化控制提供数据基础,并 且方便部署和维护。

  • 2021-06-22
  • 阅读150
  • 下载0
  • 7页
  • pdf
上一页 1 …… 361362363364365366367368369370371 …… 2878 下一页 共 23017 条


立即登录

没有账户,需要注册

登录用户可享受以下权益
  • 免费下载方案
  • 服币提现
  • 发布方案得服币
  • 交易分成

精品推荐

国内重点工业物联网平台四类厂商分类及选型指南

国内重点工业物联网平台四类厂商分类及选型指南

  • 阅读88
  • 下载4

工业物联网平台的典型应用场景深度分析

工业物联网平台发展重点: 一是行业深耕化,从通用型平台向“一米宽、百米深”的行业垂直平台转型,聚焦能源、交通、化工等领域的特定需求,沉淀场景化解决方案与行业Know-how,而非追求“大而全”的覆盖能力。 二是智能融合化,工业大模型与平台深度结合,实现工业知识的智能化重构、应用开发的低代码化升级,以及生产运营的自感知、自决策、自优化闭环管控,AI成为提质增效的核心变量。 三是生态协同化,平台不再是单一技术载体,而是串联产业链上下游的协同中枢,通过跨系统数据融合、产学研用金深度合作,形成“数据-算力-应用”的生态闭环,赋能供应链协同与产业集群升级。 四是部署灵活化,采用“平台化产品+私有化部署”结合的模式,兼顾中小企业轻量化需求与大型集团定制化诉求,支持公有云、私有云、边缘端的混合部署,平衡成本与安全性。

  • 阅读158
  • 下载7

低空基础设施发展研究报告(2025)

当前,世界百年变局加速演进,新一轮科技革命和产业变革?深入发展,低空经济作为新质生产力的重要组成部分,正以前瞻?性、引领性姿态加速崛起,成为推动经济结构优化升级、塑造高?质量发展新动能的关键领域。

  • 阅读329
  • 下载1

华为数字化转型之道

首先从华为的视角总结了企业对于数字化转型的应有的共识,以及从战略角度阐述了华为为何推行数字化转型,然后给出了华为数字化转型的整体框架(方法论),以及企业数字化转型成熟度评估的方法,帮助读者在厘清华为开展数字化转型工作的整体脉络的同时,能快速对自身的数字化水平进行自检,

  • 阅读399
  • 下载4

最新上线

算力互联网体系架构研究报告

算力互联网的发展和演进是一个持续不断的过程,编制组将密切关注国内外算力互联网的发展动态,积极听取产业界的意见与建议,不断完善和优化算力互联网体系架构的研究内容,适时修订并发布报告的新版本,以更好地推动算力互联网发展。

  • 阅读41
  • 下载0

数据智能服务产业发展研究报告

为更好地推动数据智能服务产业发展,本报告从数据智能服务产业定义、要素、载体、产业链、创新模式等方面开展研究工作。第一部分数据智能服务产业概念界定、内涵特征以及全球趋势;第二部分分析数据智能服务产业的核心关键要素;第三部分阐述数据智能服务产业链结构以及产业生态图谱;第四部分阐述数据智能服务的产业载体,第五部分总结了数据智能服务产业的创新模式,最后根据上述研究,从技术、应用、产业、安全等四个方面分析趋势,为我国数据智能服务产业发展提供参考。

  • 阅读40
  • 下载0

人工智能算法与应用场景介绍

通过深度学习嵌入算法可以对离散序列数据一自然语言文本进行计算分析。 主要应用方向是文本信息抽取,包括文本分类、关键实体识别、实体之间关系识别以及事件识别。

  • 阅读37
  • 下载0

医共体信息化整体解决方案

利用人与大数据技术,结合专业的中医疾病、证候/治则知识库、疾病知识图谱等,研发了医用智能处方椎荐系统。它能够无缝植入到医院现有的HIS和医生工作中,不改变医生工作流程,输入患者信息、证候、主诉等信息智能推荐方剂和备用饮片药,医生进行加减化裁即可成方,节省医生诊疗时间,提高工作效率。

  • 阅读35
  • 下载0
  • 关于我们

    电话:029-8838-6725

  • 新闻资讯

    企业简介 新闻动态 品牌实力 代理合作 诚聘英才 联系我们

  • 中服云

  • 工业互联网风向标

  • 在线咨询

西安/北京/南京/重庆/合肥/厦门/甘肃 地址:陕西省西安市雁塔区鱼跃工业园慧康生物科技产业园7楼 电话: 029-8838-6725

版权所有 @ 中服云 陕ICP备11002812号
  • 扫码咨询

    或

    点击立即咨询
  • 客服咨询

  • 用手机扫二维码

    或

    复制当前地址

  • 问题反馈 中服大讲堂 客服电话

方案库赚钱指南