• 首页

  • 方案库

  • 工业品库

  • 招标项目库

  • 专家库

  • 人才库

会员中心
搜索
登录
注册
  • 方案名称

解决方案

数字化转型通用方案行业方案安全方案大数据人工智能物联网行业展望自动控制其他

产品|技术

白皮书产品介绍技术介绍技术创新模型算法

政策|规范

政策规范行动计划

电子书

电子书课件

报告|论文

报告模板论文
  • 全部
  • 人气排行
  • 下载排行
  • 页数排行
  • 最新排行

基于协作反馈控制算法的车联网行车安全动态强化模型_黄辰

针对车联网(IoV)环境下,单车的信息采集和处理能力不足以满足时间敏感的行车安全应用需求,需要通过多车协作增强车间信息共享和信道接入能力等问题,提出一种基于协作反馈控制算法的行车安全动态强化模型。首先,提出虚拟车队协作模型,提升交通信息的采集精度,扩大采集范围,建立车间的稳定协作关系,在形成协作虚拟车队的同时降低信道拥塞;然后,实现一个针对消息传输和驾驶控制的联合优化模型,通过异构交通数据的深度融合最大化IoV的安全效用;最后,在对车流量时空变化进行预测的基础上,提出自适应的反馈控制模型实时调整驾驶安全策略。仿真结果表明,所提出的行车安全动态强化模型在各种车流分布模型下,均能够取得良好的性能指标,可以有效支持驾驶辅助控制系统,在保障行车安全的同时降低信道拥塞。

  • 2021-06-16
  • 阅读1341
  • 下载0
  • 6页
  • pdf

一种工业互联网标识解析数据字典构建方法

本发明涉及一种工业互联网标识解析数据字典构建方法,其特征在于:将工业互联网中的数据信息通过RDF生成数据语义化模型,并根据各类数据的关联关系构建三元组形式的语义数据模型,存储于语义数据库中,生成数据字典。本发明通过统一的数据语义信息解决了不同企业之间的数据信息孤岛问题,同时可以解决企业内部的数据信息集成问题;并且通过对该数据语义信息配置唯一的标识数据,实现了数据信息的唯一标识。

  • 2021-06-16
  • 阅读150
  • 下载0
  • 8页
  • pdf

一种基于区块链的工业互联网数据安全管理系统及方法

本发明涉及一种基于区块链的工业互联网数据安全管理系统及方法,针对现有数据安全管理机制,在工业互联网应用场景下无法很好满足安全、管理、性能需求的问题,提出了一种在工业互联网环境下基于区块链技术的数据安全管理机制与系统,其中区块链作为受信任的第三方来实现工业数据的安全传输与认证、溯源等工作。具体来说,本发明采用了许可链作为底层系统,并在此基础上定义了数据的存储格式与各级用户的访问控制方案,包括权限定义与变更方案,以及对应的离链数据验证、链上数据分级访问的执行流程。本发明共由两部分构成:基于区块链的工业数据安全管理系统功能模块设计与系统运行流程。

  • 2021-06-18
  • 阅读165
  • 下载0
  • 13页
  • pdf

智慧城市创新创业模式研究

李克强在政府工作报告中提出,“制定‘互联网+’行动计划,推动移动互联网、云计算、大数据、物联网等与现代制造业结合,促进电子商务、工业互联网和互联网金融健康发展,引导互联网企业拓展国际市场"

  • 2021-06-17
  • 阅读281
  • 下载0
  • 77页
  • pdf

工业互联网平台白皮书简述20页PPT

工业互联网平台是面向制造业数字化、网络化、智能化需求,构建基于海量数据采集、汇聚、分析的服务体系,支撑制造资源泛在连接、弹性供给、高效配置的载体.

  • 2021-06-17
  • 阅读235
  • 下载0
  • 19页
  • pdf

基于工业互联网的皮革优化排样与多机协调裁断方法

本发明提出了一种基于工业互联网的皮革优化排样与多机协调裁断技术。采用现场总线技术和 Ethernet/IP工业以太网的异构网络融合技术实现对多台裁断机的实时监控和操作。提出针对二维不规则样片排样的高效排样算法实现皮革的优化排样,同时结合通信网络的实时性与多机协调裁断策略,实现皮革裁断的快速流水线操作和较低的皮革浪费率。与传统的皮革裁断技术相比,该技术能够实现高效、浪费率低、节约人工成本、降低能耗等多方面优点。

  • 2021-06-15
  • 阅读180
  • 下载0
  • 9页
  • pdf

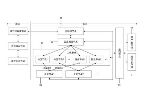
基于工业互联网标识解析体系的产品防伪追溯方法及平台

本发明公开一种基于工业互联网标识解析体系的产品防伪追溯方法及平台,包括产品标识生成与产品防伪追溯;生成由国家节点号、二级节点号、企业节点号、企业码、产品生产信息码以及随机码六部分组成的产品标识码;并基于产品标识码转换得到的产品标识二维码触发防伪追溯请求,得到防伪追溯信息至客户端。通过节点号与随机码来确保标识的唯一性与不可预知性,为产品标识二维码的不可仿制性提供了强有力的保障。同时基于国家工业互联网标识解析体系,平台上的数据是公开开放的,便于实现数据的互联互通,基于国家标识解析体系可保障数据的安全性和权威性。

  • 2021-06-16
  • 阅读205
  • 下载0
  • 12页
  • pdf

一种跨地区跨行业的工业互联网实体的标识方法

本发明公开了一种跨地区跨行业的工业互联网实体的标识方法,本发明通过在工业互联网标识内设置国家编码、地区编码、行业编码、企业编码以及企业内部编码,以实现对跨地区跨行业的工业互联网实体的上下游产品数据的链接与整合,从而有效解决了现有技术中工业互联网标识解析体系查询领域受限的问题。

  • 2021-06-16
  • 阅读145
  • 下载0
  • 13页
  • pdf
上一页 1 …… 332333334335336337338339340341342 …… 2878 下一页 共 23017 条


立即登录

没有账户,需要注册

登录用户可享受以下权益
  • 免费下载方案
  • 服币提现
  • 发布方案得服币
  • 交易分成

精品推荐

竞争对手分析

母公司公司的总目标是什么?母公司要求该业务单位做什么?将业务单位的定位是什么(基础业务还是边缘业务)

  • 阅读146
  • 下载0

2025知识图谱与大模型融合实践案例集

随着人工智能的迅猛发展,知识图谱与大模型作为两大核心研究领域,各自彰显出独特的技术优势。知识图谱以结构化方式精准刻画实体关联,为知识表示与推理提供了可解释的框架;大模型则凭借海量数据训练展现出卓越的自然语言理解与生成能力,具备强大的泛化学习性能。

  • 阅读158
  • 下载4

国内重点工业物联网平台四类厂商分类及选型指南

国内重点工业物联网平台四类厂商分类及选型指南

  • 阅读307
  • 下载6

工业物联网平台的典型应用场景深度分析

工业物联网平台发展重点: 一是行业深耕化,从通用型平台向“一米宽、百米深”的行业垂直平台转型,聚焦能源、交通、化工等领域的特定需求,沉淀场景化解决方案与行业Know-how,而非追求“大而全”的覆盖能力。 二是智能融合化,工业大模型与平台深度结合,实现工业知识的智能化重构、应用开发的低代码化升级,以及生产运营的自感知、自决策、自优化闭环管控,AI成为提质增效的核心变量。 三是生态协同化,平台不再是单一技术载体,而是串联产业链上下游的协同中枢,通过跨系统数据融合、产学研用金深度合作,形成“数据-算力-应用”的生态闭环,赋能供应链协同与产业集群升级。 四是部署灵活化,采用“平台化产品+私有化部署”结合的模式,兼顾中小企业轻量化需求与大型集团定制化诉求,支持公有云、私有云、边缘端的混合部署,平衡成本与安全性。

  • 阅读330
  • 下载9

最新上线

全球绿色航运发展报告(2024-2025)

2024年至2025年上半年,国际海事组织批准了MARPOL公约附则VI关于“IM0净零框架”的修正案草案、通过了《2024年船用燃料全生命周期温室气体强度导则》(2024LCA导则)(MEPC.391(81))、批准增设了排放控制区域(ECA)及特别敏感海域(PSSAs)。

  • 阅读21
  • 下载1

全球数字治理蓝皮书(2025年)

当前,国际局势变乱交织,大国竞争愈演愈烈,全球南方加快崛起,新兴技术复杂影响更加突出,全球治理体系面临深刻调整。习近平主席在“上海合作组织+”会议提出“全球治理倡议”,相关概念文件指出,要优先考虑在人工智能、网络空间、外空等治理紧迫性突出、治理赤字较大的领域,以及支持联合国落实《未来契约》等方面加大沟通合作,积极凝聚共识、锁定成果,争取早期收获。

  • 阅读23
  • 下载0

新型电力系统背景下的电力开关技术与装备

研究背景:快速真空开关是发电机断路器、限流器、直流断路器中的核心设备,毫秒级响应要求机 械力在±100kN间大幅快速变化,加速度高达1000g,操动过程涉及电路-磁场-机械-温度等复杂过程!

  • 阅读23
  • 下载0

智能机器人城市空间场景应用指南2026版

为总结与推广“十四五”期间智能机器人在环境清洁、安防巡检、物流配送、康养陪护等领域取得的成效,贯彻实施《“机器人+”应用行动实施方案》,响应《关于深化智慧城市发展、推进城市全域数字化转型的指导意见》《城市数字公共基础设施标准体系》《国务院办公厅关于加快场景培育和开放推动新场景大规模应用的实施意见》,推动将智能机器人系统纳入智慧城市发展框架,明确城市场景对机器人规模化、商业化应用的关键牵引作用,本指南系统梳理了智能机器人在城市空间应用的核心场景、技术要求和实施路径,以期为企业研发、产品选型、系统集成、运营管理及相关标准研制提供参考。

  • 阅读24
  • 下载1
  • 关于我们

    电话:029-8838-6725

  • 新闻资讯

    企业简介 新闻动态 品牌实力 代理合作 诚聘英才 联系我们

  • 中服云

  • 工业互联网风向标

  • 在线咨询

西安/北京/南京/重庆/合肥/厦门/甘肃 地址:陕西省西安市雁塔区鱼跃工业园慧康生物科技产业园7楼 电话: 029-8838-6725

版权所有 @ 中服云 陕ICP备11002812号
  • 扫码咨询

    或

    点击立即咨询
  • 客服咨询

  • 用手机扫二维码

    或

    复制当前地址

  • 问题反馈 中服大讲堂 客服电话

方案库赚钱指南