• 首页

  • 方案库

  • 工业品库

  • 招标项目库

  • 专家库

  • 人才库

会员中心
搜索
登录
注册
  • 方案名称

解决方案

数字化转型通用方案行业方案安全方案大数据人工智能物联网行业展望自动控制其他

产品|技术

白皮书产品介绍技术介绍技术创新模型算法

政策|规范

政策规范行动计划

电子书

电子书课件

报告|论文

报告模板论文
  • 全部
  • 人气排行
  • 下载排行
  • 页数排行
  • 最新排行

基于工业互联网操作系统的视频监控控制方法

本发明提出了基于工业互联网操作系统的视频监控控制方法,包括获取生产环境视频,在视频采集器中将生产环境视频进行加密处理后得到加密视频,将加密视频发送至生产环境侧网络设备;令生产环境侧网络设备获取办公环境侧网络设备的参数设置,基于已知的参数设置将加密视频进行适应性转换,将转换后的加密视频经专用端口发送至办公环境侧网络设备;令办公环境侧网络设备接收加密视频,进行解密后得到生产环境侧的监控视频,将监控视频进行处理后传输至用户设备进行显示。通过将监控视频进行基于网络设备参数设置的适应性改进,使得监控视频能够通过隔离的网络由生产环境传输至办公环境,弥补了现有技术中在工业操作系统中无法传输视频的缺陷。

  • 2021-06-16
  • 阅读171
  • 下载0
  • 9页
  • pdf

2016年互联网+智慧城市服务业平台商业计划书精品模板(20210615191631)

网络购物使用率增加;移动端购物增长迅速;40岁以上年龄段网购消费者购买力被更多激发。市场趋于成熟、竞争愈来愈烈;中小企业B2B交易额过半;支付、物流等配套服务发展迅速。

  • 2021-06-16
  • 阅读202
  • 下载0
  • 29页
  • pdf

智慧房管-智慧城市组成部分和数据基础

以“楼—楼盘表一户”为主线,基于房屋图形GIS系统,实现精确到户的房屋产权、用途、合法性、安全等房屋情况的直观、精细化管理,以及对每一手房屋交易信息的实时展现和管理。

  • 2021-06-16
  • 阅读201
  • 下载0
  • 47页
  • pdf

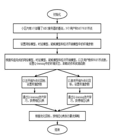
基于Q-learning的工业互联网机器设备用户数据计算卸载决策方法

本发明公开了基于Q-learning的工业互联网机器设备用户数据计算卸载决策方法,通过构造小区内用户计算卸载的网络模型、时延模型、能耗模型和经济开销模型,并根据小区内用户数,设置Q-learning模型中的环境状态、卸载动作和奖励函数,从而依据Q-learning迭代学习后所获得的Q表执行卸载动作,获得最优的卸载策略,完成小区内用户计算任务的分配处理。本发明克服了传统数据计算卸载系统无法应对复杂多变的网络环境和服务器状态以及局限于对单一开销优化等问题。仿真实验表明,本发明提出的基于Q-learning的工业互联网设备用户数据计算卸载决策方法在减少用户总体和局部计算卸载开销方面具有一定的优势。

  • 2021-06-16
  • 阅读141
  • 下载0
  • 16页
  • pdf

一种工业互联网APP的限制使用方法及系统

本发明公开了一种工业互联网APP的限制使用方法,包括:当接收到用户对目标APP的安装包的下载请求时,获取该用户的授权文件;获取授权文件中包含的离散可逆函数和数据分段长度;将所述安装包分割成预设长度的数据段,将每一个数据段划分成所述数据分段长度的各个子段;依据离散可逆函数对各个子段进行满射排序,得到目标安装包;对所述目标安装包进行校验计算,得到第一校验码;当所述目标安装包和所述第一校验码下载到目标系统时,对所述目标安装包进行校验,得到第二校验码;若所述第一校验码和所述第二校验码不同,限制所述目标APP安装使用。上述方法,在目标APP下载过程中,需要进行校验,校验不成功,不能安装使用,使用受限。

  • 2021-06-16
  • 阅读135
  • 下载0
  • 14页
  • pdf

一种工业互联网标识解析根节点数据同步方法

本发明公开一种工业互联网标识解析根节点数据同步方法,针对现有的主流标识解析体系与国家标识解析顶级节点架构设计,在工业互联网标识解析多个并行根节点场景下无法很好的满足节点间同步需求、安全防篡改需求的问题进行改进,基于区块链技术实现并行根节点的数据备份与同步,并保证同步过程中的系统稳定与数据可信;对各标识解析体系的标识数据进行标准化,实现多种标识解析体系数据的高效读写。

  • 2021-06-16
  • 阅读171
  • 下载0
  • 11页
  • pdf

基于体素模型与卷积神经网络的三维模型分类算法_刘泽鑫

针对传统三维模型分类算法时间复杂度较高、分类准确率较低等问题,提出一种基于体素模型与卷积神经网络的三维模型分类算法。将原始模型表示为八叉树结构的体素模型以优化模型的性状表达,使用设计的卷积神经网络对体素模型进行特征提取以及分类运算。实验结果表明,与其他三维模型分类算法相比,该分类算法的显存占用较小,同时具有较低的时间复杂度和较高的分类能力。

  • 2021-06-18
  • 阅读1377
  • 下载0
  • 6页
  • pdf

基于RF_AdaBoost模型的血液种属鉴别算法_魏曼曼

针对人类和非人类血液种属鉴别对无损、高效分析方法的需求,结合随机森林(Random Forest)和Ada Boost(Adaptive Boosting Algorithm)算法,提出了一种血液种属鉴别方法(RFAdaBoost).该方法将RF作为Ada Boost的弱分类器,以达到提高模型鉴别准确度,增强模型鲁棒性的目的.

  • 2021-06-16
  • 阅读1334
  • 下载0
  • 8页
  • pdf
上一页 1 …… 331332333334335336337338339340341 …… 2878 下一页 共 23017 条


立即登录

没有账户,需要注册

登录用户可享受以下权益
  • 免费下载方案
  • 服币提现
  • 发布方案得服币
  • 交易分成

精品推荐

竞争对手分析

母公司公司的总目标是什么?母公司要求该业务单位做什么?将业务单位的定位是什么(基础业务还是边缘业务)

  • 阅读146
  • 下载0

2025知识图谱与大模型融合实践案例集

随着人工智能的迅猛发展,知识图谱与大模型作为两大核心研究领域,各自彰显出独特的技术优势。知识图谱以结构化方式精准刻画实体关联,为知识表示与推理提供了可解释的框架;大模型则凭借海量数据训练展现出卓越的自然语言理解与生成能力,具备强大的泛化学习性能。

  • 阅读157
  • 下载4

国内重点工业物联网平台四类厂商分类及选型指南

国内重点工业物联网平台四类厂商分类及选型指南

  • 阅读307
  • 下载6

工业物联网平台的典型应用场景深度分析

工业物联网平台发展重点: 一是行业深耕化,从通用型平台向“一米宽、百米深”的行业垂直平台转型,聚焦能源、交通、化工等领域的特定需求,沉淀场景化解决方案与行业Know-how,而非追求“大而全”的覆盖能力。 二是智能融合化,工业大模型与平台深度结合,实现工业知识的智能化重构、应用开发的低代码化升级,以及生产运营的自感知、自决策、自优化闭环管控,AI成为提质增效的核心变量。 三是生态协同化,平台不再是单一技术载体,而是串联产业链上下游的协同中枢,通过跨系统数据融合、产学研用金深度合作,形成“数据-算力-应用”的生态闭环,赋能供应链协同与产业集群升级。 四是部署灵活化,采用“平台化产品+私有化部署”结合的模式,兼顾中小企业轻量化需求与大型集团定制化诉求,支持公有云、私有云、边缘端的混合部署,平衡成本与安全性。

  • 阅读330
  • 下载9

最新上线

全球绿色航运发展报告(2024-2025)

2024年至2025年上半年,国际海事组织批准了MARPOL公约附则VI关于“IM0净零框架”的修正案草案、通过了《2024年船用燃料全生命周期温室气体强度导则》(2024LCA导则)(MEPC.391(81))、批准增设了排放控制区域(ECA)及特别敏感海域(PSSAs)。

  • 阅读20
  • 下载1

全球数字治理蓝皮书(2025年)

当前,国际局势变乱交织,大国竞争愈演愈烈,全球南方加快崛起,新兴技术复杂影响更加突出,全球治理体系面临深刻调整。习近平主席在“上海合作组织+”会议提出“全球治理倡议”,相关概念文件指出,要优先考虑在人工智能、网络空间、外空等治理紧迫性突出、治理赤字较大的领域,以及支持联合国落实《未来契约》等方面加大沟通合作,积极凝聚共识、锁定成果,争取早期收获。

  • 阅读22
  • 下载0

新型电力系统背景下的电力开关技术与装备

研究背景:快速真空开关是发电机断路器、限流器、直流断路器中的核心设备,毫秒级响应要求机 械力在±100kN间大幅快速变化,加速度高达1000g,操动过程涉及电路-磁场-机械-温度等复杂过程!

  • 阅读22
  • 下载0

智能机器人城市空间场景应用指南2026版

为总结与推广“十四五”期间智能机器人在环境清洁、安防巡检、物流配送、康养陪护等领域取得的成效,贯彻实施《“机器人+”应用行动实施方案》,响应《关于深化智慧城市发展、推进城市全域数字化转型的指导意见》《城市数字公共基础设施标准体系》《国务院办公厅关于加快场景培育和开放推动新场景大规模应用的实施意见》,推动将智能机器人系统纳入智慧城市发展框架,明确城市场景对机器人规模化、商业化应用的关键牵引作用,本指南系统梳理了智能机器人在城市空间应用的核心场景、技术要求和实施路径,以期为企业研发、产品选型、系统集成、运营管理及相关标准研制提供参考。

  • 阅读22
  • 下载1
  • 关于我们

    电话:029-8838-6725

  • 新闻资讯

    企业简介 新闻动态 品牌实力 代理合作 诚聘英才 联系我们

  • 中服云

  • 工业互联网风向标

  • 在线咨询

西安/北京/南京/重庆/合肥/厦门/甘肃 地址:陕西省西安市雁塔区鱼跃工业园慧康生物科技产业园7楼 电话: 029-8838-6725

版权所有 @ 中服云 陕ICP备11002812号
  • 扫码咨询

    或

    点击立即咨询
  • 客服咨询

  • 用手机扫二维码

    或

    复制当前地址

  • 问题反馈 中服大讲堂 客服电话

方案库赚钱指南