• 首页

  • 方案库

  • 工业品库

  • 招标项目库

  • 专家库

  • 人才库

会员中心
搜索
登录
注册
  • 方案名称

解决方案

数字化转型通用方案行业方案安全方案大数据人工智能物联网行业展望自动控制其他

产品|技术

白皮书产品介绍技术介绍技术创新模型算法

政策|规范

政策规范行动计划

电子书

电子书课件

报告|论文

报告模板论文
  • 全部
  • 人气排行
  • 下载排行
  • 页数排行
  • 最新排行

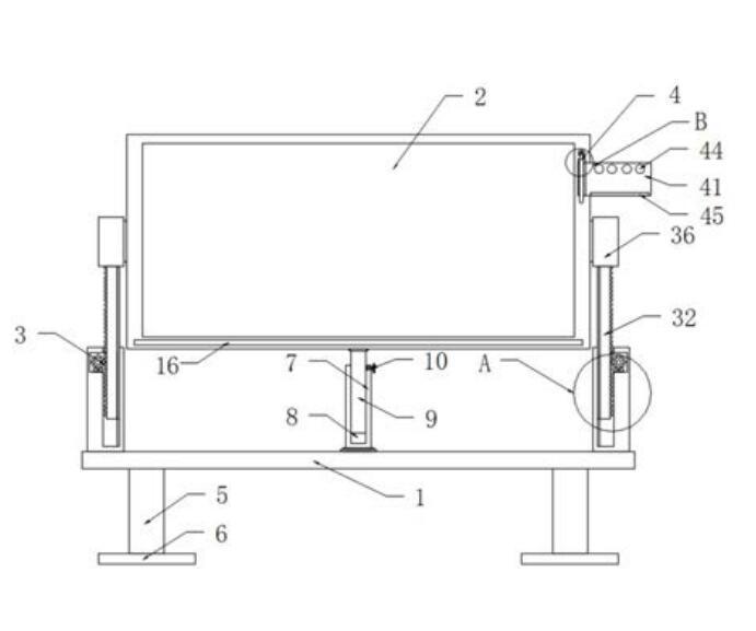
一种软件技术开发用教学展示板

本实用新型公开了一种软件技术开发用教学展示板,包括底座、展示板、升降机构和放置机构,所述底座与升降机构连接,所述升降机构与展示板连接,所述展示板与放置机构连接,所述底座底端两侧均固定设置有固定柱,所述固定柱的底端固定设置有支撑板,所述底座的上表面通过转轴固定设置有第一固定杆,所述第一固定杆的顶端开设有安装孔。本实用新型结构简单,通过转动把手使齿轮转动,通过齿轮与齿条之间的传动使第二固定杆上升或者下降,此时第二固定杆在第一固定杆内部滑动,可以对展示板的高低进行调节,在调节完成后松开把手,齿轮在弹簧的作用下会向卡块一侧移动,使卡块与齿轮相啮合,放置齿轮转动,能够很方便的对展示板的高度进行调节。

  • 2021-05-07
  • 阅读156
  • 下载0
  • 7页
  • pdf

基于DirectShow技术的2D与3D软件切换方法

本发明涉及一种基于DirectShow技术的2D与3D软件切换方法,包括以下步骤:构建2DFilter和3D Filter ;构建适合当前显示模式的完整播放链路:先利用DirectShow技术建立一条能够回放普通的视频文件的链路;再根据显示设备的显示模式,在图像提交显示前对源文件解码出的每帧内容进行处理,最后将生成的数据提交给显示设备显示;然后可以对应硬件上的切换,在软件上进行2D与3D切换。本发明的优点是:根据显示模式,在软件上实时调整平面或立体图像;2D与3D切换快速、实时,不需要重新播放;可以方便地进行2D与3D效果的对比。

  • 2021-05-07
  • 阅读190
  • 下载0
  • 8页
  • pdf

软件兼容性测试的故障定位分析

软件兼容性测试是测试软件在特定的软硬件系统上和不同的应用软件之间能否协调工作的过程,是软件开发中不可缺少的一个步骤。

  • 2021-06-10
  • 阅读124
  • 下载0
  • 7页
  • pdf

HUCP---医院融合通讯平台

医院融合统一通讯平台(以下简称:HUCP)是凌凯专为医疗机构客户精心打造的一款集移动通讯、移动办公、通讯应用于一体的通讯管理应用平台,也是一款融“微信+APP+PC+Web+通讯”五端同步的通讯及办公于一体的应用平台。 HUCP以其强大完善的应用功能,稳定的系统性能,提供给医疗机构一个全方位、多层次高效率的移动通讯平台和办公协作平台。HUCP能够广泛应用于机构内部消息服务、对外消息发布、内部管理、数据上报、外部宣传、患者服务、移动办公等通讯及管理需求,实现行业信息渠道及业务流程的全面优化。 通过HUCP,医疗机构可以以最便捷的方式向三网手机用户快速群发信息,通过手机短信、彩信、语音、APP以及微信等多种方式与受众进行实时通信。HUCP创造性地推出APP应用,帮助医疗机构打通移动互联网平台,作为机构专属“通讯门户”,相较传统通讯方式,是一次革命性的重大升级。HUCP深度集成了目前市面上最前沿的微信企业号技术,打造OA与微信企业号对接的办公平台,超强微信应用入口和后端引擎,开启医疗机构微信移动办公新体验。

  • 2021-06-11
  • 阅读310
  • 下载0
  • 22页
  • pptx

GUCP---移动政务通信解决方案

凌凯EUCP统一开发接口——开放平台,具备强大可扩展性,丰富的二次开发接口,支持企业各类应用软件及管理系统的统一标准化接入;能轻松实现与门户网站、电子政务、OA、ERP、CRM等系统的互联互通,提高机构运作效率,实现多种通讯手段和各种业务系统的相互融合。 凌凯EUCP构建政府移动门户的建立,包括浏览、咨询、服务、新闻和推广展示等多种功能,用户根据自己的需要对资源随时进行订阅排序,同时查询、订阅、分享等功能,为公众打造专属的个性展示平台 以新媒体作为政府对外应急公关的窗口已屡见不鲜,其实现有新媒体的用户群体相对分散,凌凯2.0版eucp(企业统一通讯平台)深度集成“微信企业号”。融合十余种移动通讯手段,构建十余种开放式通信接口,整合二十个标准的app通讯应用,以多样化的信息形态传递公关信息的结果,从而更全面的适应于更多的群体

  • 2021-06-11
  • 阅读240
  • 下载0
  • 28页
  • pptx

丁辛醇装置高速泵机封泄漏分析及改进

在某石化公司丁辛醇装置检修过程中,高速泵是该装置检修的关键设备。高速泵由电机、增速箱和泵体3个部分组成。文中对该丁辛醇装置高速泵的机械密封泄漏原因进行了分析,有针对性的采取设计改造措施,收到理想改造效果。

  • 2021-05-17
  • 阅读143
  • 下载0
  • 7页
  • docx

MES项目数字化展示的圈套,后MES时代

制造执行系统协会(Manufacturing Execution System Association,MESA)对MES所下的定义:“MES能通过信息传递对从订单下达到产品完成的整个生产过程进行优化管理。当工厂发生实时事件时,MES能对此及时做出反应、报告,并用当前的准确数据对它们进行指导和处理。这种对状态变化的迅速响应使MES能够减少企业内部没有附加值的活动,有效地指导工厂的生产运作过程,从而使其既能提高工厂及时交货能力,改善物料的流通性能,又能提高生产回报率。MES还通过双向的直接通讯在企业内部和整个产品供应链中提供有关产品行为的关键任务信息。”

  • 2021-06-04
  • 阅读509
  • 下载0
  • 6页
  • pdf

人工智能技术提升音乐教学质量的初步探索

“AI”即人工智能,是Artificial Intelligence的英文缩写,对于如今的我们来说已经不再陌生,我国已经迈入了“互联网+”、“大数据+”的时代。上个世纪90年代人工智能还不具有人的创造力、思维能力,而现在AI发展的新的算法是模仿人脑思维基础上的计算机实现。他已经具有了创造性、智慧、直觉。AI运用于社会生活的方方面面,给我们带来了全新的生活体验。近年来人工智能也广泛的运用在音乐上。主要有人工智能作曲,智能乐器,及在音乐传播中的应用。

  • 2021-06-13
  • 阅读159
  • 下载0
  • 9页
  • docx
上一页 1 …… 315316317318319320321322323324325 …… 2878 下一页 共 23017 条


立即登录

没有账户,需要注册

登录用户可享受以下权益
  • 免费下载方案
  • 服币提现
  • 发布方案得服币
  • 交易分成

精品推荐

竞争对手分析

母公司公司的总目标是什么?母公司要求该业务单位做什么?将业务单位的定位是什么(基础业务还是边缘业务)

  • 阅读146
  • 下载0

2025知识图谱与大模型融合实践案例集

随着人工智能的迅猛发展,知识图谱与大模型作为两大核心研究领域,各自彰显出独特的技术优势。知识图谱以结构化方式精准刻画实体关联,为知识表示与推理提供了可解释的框架;大模型则凭借海量数据训练展现出卓越的自然语言理解与生成能力,具备强大的泛化学习性能。

  • 阅读156
  • 下载4

国内重点工业物联网平台四类厂商分类及选型指南

国内重点工业物联网平台四类厂商分类及选型指南

  • 阅读307
  • 下载6

工业物联网平台的典型应用场景深度分析

工业物联网平台发展重点: 一是行业深耕化,从通用型平台向“一米宽、百米深”的行业垂直平台转型,聚焦能源、交通、化工等领域的特定需求,沉淀场景化解决方案与行业Know-how,而非追求“大而全”的覆盖能力。 二是智能融合化,工业大模型与平台深度结合,实现工业知识的智能化重构、应用开发的低代码化升级,以及生产运营的自感知、自决策、自优化闭环管控,AI成为提质增效的核心变量。 三是生态协同化,平台不再是单一技术载体,而是串联产业链上下游的协同中枢,通过跨系统数据融合、产学研用金深度合作,形成“数据-算力-应用”的生态闭环,赋能供应链协同与产业集群升级。 四是部署灵活化,采用“平台化产品+私有化部署”结合的模式,兼顾中小企业轻量化需求与大型集团定制化诉求,支持公有云、私有云、边缘端的混合部署,平衡成本与安全性。

  • 阅读329
  • 下载9

最新上线

全球绿色航运发展报告(2024-2025)

2024年至2025年上半年,国际海事组织批准了MARPOL公约附则VI关于“IM0净零框架”的修正案草案、通过了《2024年船用燃料全生命周期温室气体强度导则》(2024LCA导则)(MEPC.391(81))、批准增设了排放控制区域(ECA)及特别敏感海域(PSSAs)。

  • 阅读20
  • 下载1

全球数字治理蓝皮书(2025年)

当前,国际局势变乱交织,大国竞争愈演愈烈,全球南方加快崛起,新兴技术复杂影响更加突出,全球治理体系面临深刻调整。习近平主席在“上海合作组织+”会议提出“全球治理倡议”,相关概念文件指出,要优先考虑在人工智能、网络空间、外空等治理紧迫性突出、治理赤字较大的领域,以及支持联合国落实《未来契约》等方面加大沟通合作,积极凝聚共识、锁定成果,争取早期收获。

  • 阅读21
  • 下载0

新型电力系统背景下的电力开关技术与装备

研究背景:快速真空开关是发电机断路器、限流器、直流断路器中的核心设备,毫秒级响应要求机 械力在±100kN间大幅快速变化,加速度高达1000g,操动过程涉及电路-磁场-机械-温度等复杂过程!

  • 阅读21
  • 下载0

智能机器人城市空间场景应用指南2026版

为总结与推广“十四五”期间智能机器人在环境清洁、安防巡检、物流配送、康养陪护等领域取得的成效,贯彻实施《“机器人+”应用行动实施方案》,响应《关于深化智慧城市发展、推进城市全域数字化转型的指导意见》《城市数字公共基础设施标准体系》《国务院办公厅关于加快场景培育和开放推动新场景大规模应用的实施意见》,推动将智能机器人系统纳入智慧城市发展框架,明确城市场景对机器人规模化、商业化应用的关键牵引作用,本指南系统梳理了智能机器人在城市空间应用的核心场景、技术要求和实施路径,以期为企业研发、产品选型、系统集成、运营管理及相关标准研制提供参考。

  • 阅读22
  • 下载1
  • 关于我们

    电话:029-8838-6725

  • 新闻资讯

    企业简介 新闻动态 品牌实力 代理合作 诚聘英才 联系我们

  • 中服云

  • 工业互联网风向标

  • 在线咨询

西安/北京/南京/重庆/合肥/厦门/甘肃 地址:陕西省西安市雁塔区鱼跃工业园慧康生物科技产业园7楼 电话: 029-8838-6725

版权所有 @ 中服云 陕ICP备11002812号
  • 扫码咨询

    或

    点击立即咨询
  • 客服咨询

  • 用手机扫二维码

    或

    复制当前地址

  • 问题反馈 中服大讲堂 客服电话

方案库赚钱指南