• 首页

  • 方案库

  • 工业品库

  • 招标项目库

  • 专家库

  • 人才库

会员中心
搜索
登录
注册
  • 方案名称

解决方案

数字化转型通用方案行业方案安全方案大数据人工智能物联网行业展望自动控制其他

产品|技术

白皮书产品介绍技术介绍技术创新模型算法

政策|规范

政策规范行动计划

电子书

电子书课件

报告|论文

报告模板论文
  • 全部
  • 人气排行
  • 下载排行
  • 页数排行
  • 最新排行

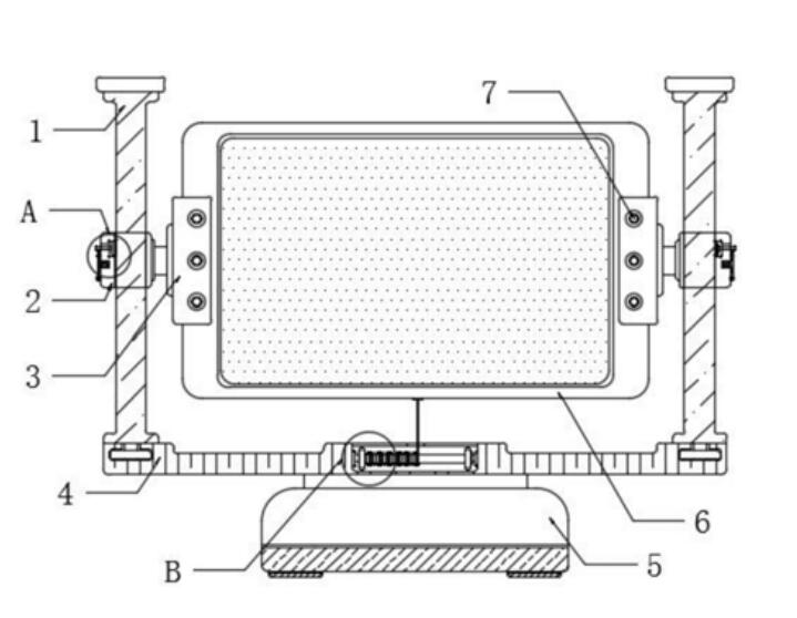
一种软件技术开发用电脑显示屏调节装置

本实用新型公开了一种软件技术开发用电脑显示屏调节装置,包括固定底块,所述固定底块顶端固定设置有固定杆,所述固定杆顶端两侧均固定设置有安装杆,所安装杆外部中部均活动设置有安装套。本实用新型在对显示机构进行调节时依次往远离安装套的一侧拉动活动卡杆,并均使限位板与安装杆分离,当进行纵向的调节后再依次按动活动卡杆往安装套一侧移动,并均带动限位板往安装杆一侧移动则均与安装杆活动对接进行固定,且活动卡杆在移动时均安装在安装套一侧的限位卡套卡合对接进行固定,防止活动卡杆和限位板在限位固定时出现松动的情况,当通过安装套对显示机构进行纵向调节后再通过连接轴套带动显示机构进行水平上的调节移动。

  • 2021-05-07
  • 阅读169
  • 下载0
  • 7页
  • pdf

基于遗传算法与方案优选的多目标优化模型求解方法_单宝英

为求解含复杂约束的多目标优化问题并获得符合实际决策需求的最优解,将多目标优化问题的求解分为2步:1)使用改进的遗传算法对带有较复杂约束的多目标规划模型进行求解,得到Pareto解集;2)基于熵权法构建方案优选评价体系,对Pareto解集进行优选,从而获得多目标优化问题的最佳方案。将本研究方法应用到灌区水资源优化配置问题中检验其可行性与实用性。结果表明:相较于评价函数法获得的结果,Pareto解集可以直观展示不同目标之间相互制衡的关系;根据当地实际情况选取粮经产量比、用水结构信息熵、化肥使用量作为优选指标,优选后的配水方案水分生产力可以达到1.46 kg/m3,总产量达到8.667×107 kg。与传统求解方法比较,本研究提出的求解方法全局寻优能力更强,可以获得更加合理的方案。基于遗传算法与方案优选的多目标优化问题求解方法在求解较为复杂的多目标优化问题时能够获得更为满意的方案,可以为其他多目标问题的求解提供一种新的思路。

  • 2021-05-03
  • 阅读442
  • 下载0
  • 9页
  • pdf

CAD模型三角网格优化算法_尤磊

针对工业产品设计过程中的一个实际问题——如何高质量地将连续的CAD模型转换为离散的三角网格模型,提出一种基于Creo二次开发平台与几何特征保持的CAD模型的三角网格优化算法.首先基于Creo的二次开发平台构建CAD模型的特征点集;然后通过逐面网格化构建每个面的网格模型,通过网格模型逼近得到一个初始三角网格模型;最后结合CAD模型的几何特点改进RAR网格优化算法局部算子的适用性条件,使用改进算法对初始三角网格模型进行网格优化.将算法集成于Creo 2.0软件中,以3个工业零件的CAD模型为数据开展实验,结果表明,该算法构建的初始网格模型与原始几何模型逼近程度好,优化的网格模型具有较好的性能参数.

  • 2021-05-06
  • 阅读345
  • 下载0
  • 8页
  • pdf

应用于软件缺陷预测模型的量子粒子群优化BP算法_洪晓彬

为了降低软件测试的成本并改善软件缺陷预测的能力,提出将量子粒子群算法和BP神经网络相结合,以提高软件缺陷预测模型的准确性和适用性。该算法以3层BP神经网络结构为基础,运用量子粒子群优化算法对BP神经网络的权值和阈值进行优化,从而在一定程度上克服了传统BP神经网络算法在收敛性能上的不足。仿真模拟实验结果表明:相比传统BP神经网络和粒子群优化BP神经网络,提出算法能够更有效地提高BP神经网络的收敛速度,防止陷入局部极小,提升软件缺陷预测的准确率、效率。

  • 2021-05-06
  • 阅读344
  • 下载0
  • 6页
  • pdf

基于信任模型的WSNs安全数据融合算法_叶正旺

为了抵御无线传感器网络内部的恶意攻击行为和故障节点的误操作行为对数据融合结果的影响,提出一种基于信任模型的多层不均匀分簇无线传感器网络安全数据融合算法.该算法基于多层不均匀的分簇网络拓扑实现安全数据融合能够有效均衡网络中节点的能耗.通过节点间的通信行为和数据相关性建立信任评估模型,并引入动态的信任整合机制和更新机制,实现簇内和簇间的信任评估,选择可信融合节点并将可信节点所收集的数据进行基于信任值加权的数据融合.仿真实验表明,该算法能够实现精确的信任评估,有效识别内部恶意攻击节点,得到的数据融合结果具有较高的精确度,实现了安全的数据融合.

  • 2021-05-06
  • 阅读339
  • 下载0
  • 6页
  • pdf

基于随机森林算法构建白眉野草螟监测预警模型_程娇

为科学防治白眉野草螟Agriphila aeneociliella,以16种气象因子为自变量,以白眉野草螟发生程度为因变量,采用随机森林算法构建白眉野草螟的监测预警模型,并利用构建的模型对2010—2016年影响鲁东地区白眉野草螟发生程度的关键气象因子进行分析。结果表明,当特征值为9,决策树数量为400时,白眉野草螟监测预警模型的袋外估计错误率最低,为17.88%,轻度发生和重度发生的错误率分别为17.58%和18.18%。利用测试数据检验模型,模型错误率为20.00%。通过所构建的模型分析显示影响鲁东地区白眉野草螟发生程度的关键气象因子为平均水汽压、日最低气温、平均气温和日最高气温,其Gini值分别为18.82、14.84、13.67和9.30。

  • 2021-05-06
  • 阅读339
  • 下载0
  • 7页
  • pdf

一种改进的Adaboost_BP算法在手写数字识别中的研究_叶晓波

为了提高神经网络对手写数字的识别率,基于Adaboost思想改进Adaboost-BP二分类算法,实现用于多分类的Adaboost-BP算法,提高了神经网络对手写数字的识别率。改进了"弱"分类器权重值的计算公式,将权重值归一化处理的步骤放到"弱"分类器迭代训练完成之后,"强"分类器的构成不使用符号函数而是直接计算分类结果。实验数据采用MNIST手写数据库,实验结果显示改进的Adaboost-BP算法构造出的"强"分类器分类结果正确率明显高于"弱"分类器。改进的Adaboost-BP算法可明显提高手写数字识别正确率。

  • 2021-05-06
  • 阅读377
  • 下载0
  • 5页
  • pdf

背景抑制直方图模型的连续自适应均值漂移跟踪算法_王旭东

针对传统连续自适应均值漂移(CAMshift)跟踪算法在建立目标颜色模型阶段容易包含大量背景颜色信息从而使跟踪效果变差的问题,该文提出一种改进算法。利用混合高斯模型背景法(GMM)将原始图像分割成前景和背景的叠加,在原始图像和背景图像上运动物体所在区域分别建立色调分量直方图,利用背景图像的色调分量直方图计算原始图像中对应色调分量的权值,抑制原始图像中与背景颜色相同的色调,扩大前景与背景颜色的差异性。该方法通过对原始颜色模型中属于背景的色调进行抑制,扩大了目标颜色模型的显著性,提高了跟踪的准确性和稳定性,目标定位的最大中心误差小于20%,能够准确跟踪不发生丢失。

  • 2021-05-06
  • 阅读340
  • 下载0
  • 8页
  • pdf
上一页 1 …… 246247248249250251252253254255256 …… 2878 下一页 共 23017 条


立即登录

没有账户,需要注册

登录用户可享受以下权益
  • 免费下载方案
  • 服币提现
  • 发布方案得服币
  • 交易分成

精品推荐

竞争对手分析

母公司公司的总目标是什么?母公司要求该业务单位做什么?将业务单位的定位是什么(基础业务还是边缘业务)

  • 阅读135
  • 下载0

2025知识图谱与大模型融合实践案例集

随着人工智能的迅猛发展,知识图谱与大模型作为两大核心研究领域,各自彰显出独特的技术优势。知识图谱以结构化方式精准刻画实体关联,为知识表示与推理提供了可解释的框架;大模型则凭借海量数据训练展现出卓越的自然语言理解与生成能力,具备强大的泛化学习性能。

  • 阅读144
  • 下载4

国内重点工业物联网平台四类厂商分类及选型指南

国内重点工业物联网平台四类厂商分类及选型指南

  • 阅读297
  • 下载6

工业物联网平台的典型应用场景深度分析

工业物联网平台发展重点: 一是行业深耕化,从通用型平台向“一米宽、百米深”的行业垂直平台转型,聚焦能源、交通、化工等领域的特定需求,沉淀场景化解决方案与行业Know-how,而非追求“大而全”的覆盖能力。 二是智能融合化,工业大模型与平台深度结合,实现工业知识的智能化重构、应用开发的低代码化升级,以及生产运营的自感知、自决策、自优化闭环管控,AI成为提质增效的核心变量。 三是生态协同化,平台不再是单一技术载体,而是串联产业链上下游的协同中枢,通过跨系统数据融合、产学研用金深度合作,形成“数据-算力-应用”的生态闭环,赋能供应链协同与产业集群升级。 四是部署灵活化,采用“平台化产品+私有化部署”结合的模式,兼顾中小企业轻量化需求与大型集团定制化诉求,支持公有云、私有云、边缘端的混合部署,平衡成本与安全性。

  • 阅读319
  • 下载9

最新上线

全球绿色航运发展报告(2024-2025)

2024年至2025年上半年,国际海事组织批准了MARPOL公约附则VI关于“IM0净零框架”的修正案草案、通过了《2024年船用燃料全生命周期温室气体强度导则》(2024LCA导则)(MEPC.391(81))、批准增设了排放控制区域(ECA)及特别敏感海域(PSSAs)。

  • 阅读7
  • 下载0

全球数字治理蓝皮书(2025年)

当前,国际局势变乱交织,大国竞争愈演愈烈,全球南方加快崛起,新兴技术复杂影响更加突出,全球治理体系面临深刻调整。习近平主席在“上海合作组织+”会议提出“全球治理倡议”,相关概念文件指出,要优先考虑在人工智能、网络空间、外空等治理紧迫性突出、治理赤字较大的领域,以及支持联合国落实《未来契约》等方面加大沟通合作,积极凝聚共识、锁定成果,争取早期收获。

  • 阅读8
  • 下载0

新型电力系统背景下的电力开关技术与装备

研究背景:快速真空开关是发电机断路器、限流器、直流断路器中的核心设备,毫秒级响应要求机 械力在±100kN间大幅快速变化,加速度高达1000g,操动过程涉及电路-磁场-机械-温度等复杂过程!

  • 阅读7
  • 下载0

智能机器人城市空间场景应用指南2026版

为总结与推广“十四五”期间智能机器人在环境清洁、安防巡检、物流配送、康养陪护等领域取得的成效,贯彻实施《“机器人+”应用行动实施方案》,响应《关于深化智慧城市发展、推进城市全域数字化转型的指导意见》《城市数字公共基础设施标准体系》《国务院办公厅关于加快场景培育和开放推动新场景大规模应用的实施意见》,推动将智能机器人系统纳入智慧城市发展框架,明确城市场景对机器人规模化、商业化应用的关键牵引作用,本指南系统梳理了智能机器人在城市空间应用的核心场景、技术要求和实施路径,以期为企业研发、产品选型、系统集成、运营管理及相关标准研制提供参考。

  • 阅读8
  • 下载0
  • 关于我们

    电话:029-8838-6725

  • 新闻资讯

    企业简介 新闻动态 品牌实力 代理合作 诚聘英才 联系我们

  • 中服云

  • 工业互联网风向标

  • 在线咨询

西安/北京/南京/重庆/合肥/厦门/甘肃 地址:陕西省西安市雁塔区鱼跃工业园慧康生物科技产业园7楼 电话: 029-8838-6725

版权所有 @ 中服云 陕ICP备11002812号
  • 扫码咨询

    或

    点击立即咨询
  • 客服咨询

  • 用手机扫二维码

    或

    复制当前地址

  • 问题反馈 中服大讲堂 客服电话

方案库赚钱指南