• 首页

  • 方案库

  • 工业品库

  • 招标项目库

  • 专家库

  • 人才库

会员中心
搜索
登录
注册
  • 方案名称

解决方案

数字化转型通用方案行业方案安全方案大数据人工智能物联网行业展望自动控制其他

产品|技术

白皮书产品介绍技术介绍技术创新模型算法

政策|规范

政策规范行动计划

电子书

电子书课件

报告|论文

报告模板论文
  • 全部
  • 人气排行
  • 下载排行
  • 页数排行
  • 最新排行

大数据与营销案例

半个世纪以来,随着计算机技术全面融入社会生活,信息爆炸已经积累到了一个开始引发变革的程度。它不仅使世界充斥着比以往更多的信息,而且其增长速度也在加快。互联网、移动互联网、物联网、车联网、GPS、医学影像、安全监控、金融、电信都在疯狂产生着数据。

  • 2021-04-25
  • 阅读265
  • 下载0
  • 74页
  • pdf

信息系统审计IT审计操作流程

了解被审系统基本情况了解被审系统基本情况是实施任何信息系统审计的必经程序,对基本情况的了解有助于审计组织对系统的组成、环境、运行年限、控制等有初步印象,以决定是否对该系统进行审计,明确审计的难度,所需时间以及人员配备情况等。了解了基本情况,审计组织就可以大致判断系统的复杂性、管理层对审计的态度、内部控制的状况、以前审计的状况、审计难点与重点,以决定是否对其进行审计。

  • 2021-04-25
  • 阅读302
  • 下载0
  • 5页
  • pdf

百度知识图谱技术及应用

百度知识图谱覆盖十亿级实体,干亿级事实,涉及类目40多个,最大规模的中文知识图谱库●覆盖人物、影视、音乐、文学、商品、餐饮、旅游、出行、金融、教育、房产、医疗等垂类●行业知识图谱已有丰富的积累及应用

  • 2021-04-26
  • 阅读774
  • 下载0
  • 15页
  • pdf

智能配送系统的调度方法、服务器以及存储介质

本申请公开了智能配送系统的调度方法、服务器以及存储介质,调度方法包括:服务器在接收到配送指令后调度空闲的室外机器人对配送柜进行从室外到楼宇的搬运,配送柜包括至少一个收容格;服务器在接收到室外机器人发送的第一到位信号后调度空闲的室内机器人对配送柜进行在楼宇内的配送;服务器在接收到室内机器人发送的与一个收容格对应的第二到位信号后向对应的用户终端发送通知信息,以通知对应的用户领取物品。通过上述方式,本申请能够提高物品配送的效率。

  • 2021-05-03
  • 阅读188
  • 下载0
  • 14页
  • pdf

一种高层楼宇消防用水智能预警设备

本发明涉及消防用水技术领域,提供一种高层楼宇消防用水智能预警设备,包括底座,所述底座的上表面固定连接有水箱,水箱的内壁活动连接有顶板,顶板的外壁弹性连接有弹簧,顶板远离水箱的一端固定连接有移动块,移动块的外壁活动连接有限位缓冲器。该高层楼宇消防用水智能预警设备,水压改变顶板的位置,弹簧的弹力将顶板向下压动,顶板带动移动块移动,移动块带动斜块,斜块将滑块向两侧推动,滑块带动齿条板移动,齿条板改变转换器的角度,转换器改变出水开口大小,实施水压不够的预防措施,当压力变小时,减小管道横截面积依旧能使水的流速保持不变,使水流扑灭火焰的冲击力足够大,增大灭火效率。

  • 2021-05-03
  • 阅读203
  • 下载0
  • 9页
  • pdf

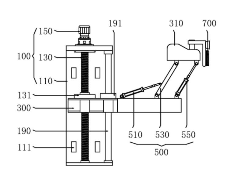
一种智能楼宇用人脸识别装置

本实用新型提供了一种智能楼宇用人脸识别装置,属于安防领域。该智能楼宇用人脸识别装置,包括升降组件、横杆、伸缩组件和人脸识别摄像头。所述电机的驱动轴与所述螺杆传动连接,所述螺杆表面螺纹连接有螺纹套。所述横杆的一端与所述螺纹套固定连接,所述横杆连接有安装座;所述人脸识别摄像头安装于所述安装座一侧;控制伸缩杆伸缩推动支撑杆绕端部铰接处旋转,使得安装座伸出,通过控制电机旋转,带动螺杆转动,使得螺纹套受螺杆的推力上下移动,横杆与螺纹套固定连接,进而带动横杆上连接的人脸识别摄像头上下滑移,用于调节不同高度的使用,在不使用时通过伸缩杆拉动支撑杆,进而带动人脸识别摄像头回缩,便于调节操控。

  • 2021-05-03
  • 阅读209
  • 下载0
  • 9页
  • pdf

一种基于楼宇智能管控的突发事件处理系统及方法

本发明公开了一种基于楼宇智能管控的突发事件处理系统及方法,采集楼宇内不同区域的供水、温度、声音、照明、紫外、图像和红外数据,得到环境参数信息;对进入楼宇的人员进行身份识别,得到出入人员信息,根据接收的环境信息和人员信息,判断是否有突发事件发生,根据采集的信息数据确定突发事件的类型和发生地点;接收突发事件的类型和发生地点,根据突发事件的类型确定应急预案,根据应急预案确定需要疏导的区域大小;按照预案信息和区域信息通知相应区域的人员相应的突发事件信息和预案中的疏导措施,协同处理突发事件。

  • 2021-05-03
  • 阅读187
  • 下载0
  • 12页
  • pdf

一种线槽导线车

一种线槽导线车,属于属于智能楼宇设备技术领域;通过在底板的四个边角处设置导轮孔,并在导轮孔中设置对应设有导向轮,通过设置导向轮,当导线车在狭窄的桥架箱中行走时,导向轮能减少导向车与桥架箱的摩擦,使导向车能更加平稳的在桥架箱中移动,在锥形拉杆孔中滑配锥形拉杆,并在锥形拉杆上套设有弹簧,通过设置在锥形拉杆上套设弹簧,当拉动拉环使锥形拉杆向右移动后,松开拉环锥形拉杆会利用弹簧的弹力向左移动,回到原始位置,锥形拉杆的右端设有挡板,挡板上设有拉环,当需要将线卷放入导线车时,通过向右拉动拉环,将锥形拉杆向右拉出,便可将线卷放入导线车中,锥形顶杆与锥形拉杆的一头为圆锥,能起到自动对心的作用。

  • 2021-05-03
  • 阅读167
  • 下载0
  • 7页
  • pdf
上一页 1 …… 188189190191192193194195196197198 …… 2878 下一页 共 23017 条


立即登录

没有账户,需要注册

登录用户可享受以下权益
  • 免费下载方案
  • 服币提现
  • 发布方案得服币
  • 交易分成

精品推荐

国内重点工业物联网平台四类厂商分类及选型指南

国内重点工业物联网平台四类厂商分类及选型指南

  • 阅读72
  • 下载4

工业物联网平台的典型应用场景深度分析

工业物联网平台发展重点: 一是行业深耕化,从通用型平台向“一米宽、百米深”的行业垂直平台转型,聚焦能源、交通、化工等领域的特定需求,沉淀场景化解决方案与行业Know-how,而非追求“大而全”的覆盖能力。 二是智能融合化,工业大模型与平台深度结合,实现工业知识的智能化重构、应用开发的低代码化升级,以及生产运营的自感知、自决策、自优化闭环管控,AI成为提质增效的核心变量。 三是生态协同化,平台不再是单一技术载体,而是串联产业链上下游的协同中枢,通过跨系统数据融合、产学研用金深度合作,形成“数据-算力-应用”的生态闭环,赋能供应链协同与产业集群升级。 四是部署灵活化,采用“平台化产品+私有化部署”结合的模式,兼顾中小企业轻量化需求与大型集团定制化诉求,支持公有云、私有云、边缘端的混合部署,平衡成本与安全性。

  • 阅读147
  • 下载7

低空基础设施发展研究报告(2025)

当前,世界百年变局加速演进,新一轮科技革命和产业变革?深入发展,低空经济作为新质生产力的重要组成部分,正以前瞻?性、引领性姿态加速崛起,成为推动经济结构优化升级、塑造高?质量发展新动能的关键领域。

  • 阅读311
  • 下载1

华为数字化转型之道

首先从华为的视角总结了企业对于数字化转型的应有的共识,以及从战略角度阐述了华为为何推行数字化转型,然后给出了华为数字化转型的整体框架(方法论),以及企业数字化转型成熟度评估的方法,帮助读者在厘清华为开展数字化转型工作的整体脉络的同时,能快速对自身的数字化水平进行自检,

  • 阅读389
  • 下载4

最新上线

算力互联网体系架构研究报告

算力互联网的发展和演进是一个持续不断的过程,编制组将密切关注国内外算力互联网的发展动态,积极听取产业界的意见与建议,不断完善和优化算力互联网体系架构的研究内容,适时修订并发布报告的新版本,以更好地推动算力互联网发展。

  • 阅读20
  • 下载0

数据智能服务产业发展研究报告

为更好地推动数据智能服务产业发展,本报告从数据智能服务产业定义、要素、载体、产业链、创新模式等方面开展研究工作。第一部分数据智能服务产业概念界定、内涵特征以及全球趋势;第二部分分析数据智能服务产业的核心关键要素;第三部分阐述数据智能服务产业链结构以及产业生态图谱;第四部分阐述数据智能服务的产业载体,第五部分总结了数据智能服务产业的创新模式,最后根据上述研究,从技术、应用、产业、安全等四个方面分析趋势,为我国数据智能服务产业发展提供参考。

  • 阅读22
  • 下载0

人工智能算法与应用场景介绍

通过深度学习嵌入算法可以对离散序列数据一自然语言文本进行计算分析。 主要应用方向是文本信息抽取,包括文本分类、关键实体识别、实体之间关系识别以及事件识别。

  • 阅读20
  • 下载0

医共体信息化整体解决方案

利用人与大数据技术,结合专业的中医疾病、证候/治则知识库、疾病知识图谱等,研发了医用智能处方椎荐系统。它能够无缝植入到医院现有的HIS和医生工作中,不改变医生工作流程,输入患者信息、证候、主诉等信息智能推荐方剂和备用饮片药,医生进行加减化裁即可成方,节省医生诊疗时间,提高工作效率。

  • 阅读21
  • 下载0
  • 关于我们

    电话:029-8838-6725

  • 新闻资讯

    企业简介 新闻动态 品牌实力 代理合作 诚聘英才 联系我们

  • 中服云

  • 工业互联网风向标

  • 在线咨询

西安/北京/南京/重庆/合肥/厦门/甘肃 地址:陕西省西安市雁塔区鱼跃工业园慧康生物科技产业园7楼 电话: 029-8838-6725

版权所有 @ 中服云 陕ICP备11002812号
  • 扫码咨询

    或

    点击立即咨询
  • 客服咨询

  • 用手机扫二维码

    或

    复制当前地址

  • 问题反馈 中服大讲堂 客服电话

方案库赚钱指南