• 首页

  • 方案库

  • 工业品库

  • 招标项目库

  • 专家库

  • 人才库

会员中心
搜索
登录
注册
  • 方案名称

解决方案

数字化转型通用方案行业方案安全方案大数据人工智能物联网行业展望自动控制其他

产品|技术

白皮书产品介绍技术介绍技术创新模型算法

政策|规范

政策规范行动计划

电子书

电子书课件

报告|论文

报告模板论文
  • 全部
  • 人气排行
  • 下载排行
  • 页数排行
  • 最新排行

互联网时代的物业服务企业创新探索(ppt41页)

百强企业不断挖掘自有客户资源,运用大数据分析提升社区服务、房屋租售等多种经营业务,2013年实现多种经营业务盈利1499.9万元,同比大幅增长20.3%。

  • 2021-06-22
  • 阅读179
  • 下载0
  • 43页
  • pdf

集团客户组网与互联网业务测试分析

集团客户业务是面向企业、政府、学校及各类团体、单位客户提供的互联网、传输、语音或者GPRS等业务的专线服务。

  • 2021-06-22
  • 阅读189
  • 下载0
  • 28页
  • pdf

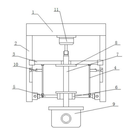
一种基于能源互联网的工业园区售用电监控管理装置

本实用新型属于电力领域,尤其是一种基于 能源互联网的工业园区售用电监控管理装置,针 对现有的技术中存在摄像头一般是固定安装的, 所以在使用时,就会存在一定的拍摄盲区的问 题,现提出如下方案,其包括固定板,所述固定板 的底部对称固定安装有两个安装杆,且两个安装 杆上滑动连接有同一个滑杆,所述滑杆上滑动连 接有两个连杆,所述连杆的底端转动连接有转动 杆,且两个转动杆相互远离的一端分别与两个安 装杆相互靠近的一侧底部转动连接,本实用新型 通过向上推动转轴,可以实现对摄像头的固定连 接,同时在驱动马达的作用下可以带动摄像头进 行转动,以此可以实现对充电桩有效的监控,且 可以消除监控盲区,避免充电桩受到人为损坏。

  • 2021-06-21
  • 阅读149
  • 下载0
  • 8页
  • pdf

一种旅游大数据云平台及其用户权限管理的方法

本申请属于计算机技术领域,具体涉及一种 旅游大数据云平台及其用户权限管理的方法,其 中该方法包括:接收并拦截浏览器发送的用户访 问请求,判断用户是否登录,如果否,则重新定向 至用户权限管理系统的统一登录入口;判断用户 是否登录成功,如果是,则将用户拥有的角色和 所在系统的类别数据与 S e s s i o n绑定 ,并将 Session存储至Redis集群中;将所述Session的 ID存储至浏览器的 cookie中,并将cookie的 domain设置为云平台的一级域名。本申请实施例 实现了旅游大数据云平台多个应用系统之间用 户的单点登录。

  • 2021-06-20
  • 阅读168
  • 下载0
  • 14页
  • pdf

一种基于大数据和移动互联网的家用型精子质量检测方法

本发明公开了一-种基于大数据和移动互联网的家用型精子质量检测方法,用于日常保健,包括手机设备及手机显微镜套件,其方法步骤包括提取精液、稀释精液、制作精液标本、图像聚焦、拍摄图像、自动分析、在线答疑、结果统计分析,用户在日用设备基础上即可自行完成精子质量检测;1、解决了用户上医院看病难得问题,本发明使得用户在家就可以检测自己精子好坏,节约了用户时间;2、充分保护好了用户隐私;3、解决了在医院环境中用户取精难得问题,减轻用户身心上的伤害;4、本方法利用大数据存储和分析技术,确保图像和分析结果数据不会丢失。

  • 2021-06-23
  • 阅读190
  • 下载0
  • 9页
  • pdf

一种基于大数据征信的企业风控方法、装置、设备及介质

本说明书实施例公开了一种基于大数据征 信的企业风控方法、装置、设备及介质,方法由企 业风控系统执行,企业风控系统包括征信数据标 准化模块、征信数据指标化模块、企业准入模块、 企业反欺诈模块与内部信用评分模块,方法包 括:通过征信数据标准化模块将多个数据源获取 的征信数据进行处理,确定出结构化数据项;通 过征信数据指标化模块对结构化数据项进行处 理,形成受评企业对应的征信数据指标;通过企 业准入模块将受评企业对应的征信数据指标进 行自动化校验,并根据校验结果筛选出符合准入 要求的受评企业;通过企业反欺诈模块内置的模 型对符合准入要求的受评企业进行欺诈风险评 价,确定出受评企业发生欺诈的概率,并形成受 评企业欺诈风险评分。

  • 2021-06-23
  • 阅读169
  • 下载0
  • 20页
  • pdf

基于跨域多维大数据的城市夜间灯光经济指数评价方法

本发明提供--种基于跨域多维大数据的城市夜间灯光经济指数评价方法,包括进行城市夜间灯光遥感数据的预处,利用基于辅助数据的比较法确定最佳阈值,对城市建成区进行提取,计算城市化综合水平灯光指数CNLI,构建城市夜间灯光经济指数NLEI并验证;根据城市夜间灯光经济指数NLEI对城市夜间经济发展程度进行分析;根据城市化综合水平灯光指数CNLI以及城市夜间灯光经济指数NLEI ,对城市夜间经济发展与城市化发展水平进行综合分析。本发明充分利用夜.间灯光遥感特点和优势,结合跨域多维城市大数据提出并构建城市夜间灯光经济指数,为研究城市夜间经济发展水平及其与城市化发展进程间的关系提供了--种快速、准确的新途径。

  • 2021-06-23
  • 阅读155
  • 下载0
  • 12页
  • pdf

影响大数据系统性能的关键参数查找方法及装置

本发明涉及一种基于聚类分析的影响大数据系统性能的关键参数查找方法及装置,其中方法包括:将大数据系统定义为由参数(w,p, t)组成的结构,其中w为应用层的负载程序向量,p为平台层的配置参数向量,t为程序运行所需时间;提取历史工作数据,根据应用层的负载进行分类,将负载程序向量w相同的数据样本分成- -类;在每类负载相同的数据样本中,按照程序运行所需时间t从大到小进行排序,得到配置参数向量p的排序,对比t值最大的n个参数向量和最小的n.个参数向量,找出全部参数向量组中维度差别最大的前q%的参数。本发明采用聚类分析的方法.对大数据计算系统中的参数进行排序,避免了人工寻找影响参数的难题,不仅节省了人工查找参数的时间,而且方法简单快捷。

  • 2021-06-23
  • 阅读142
  • 下载0
  • 10页
  • pdf
上一页 1 …… 402403404405406407408409410411412 …… 2878 下一页 共 23017 条


立即登录

没有账户,需要注册

登录用户可享受以下权益
  • 免费下载方案
  • 服币提现
  • 发布方案得服币
  • 交易分成

精品推荐

国内重点工业物联网平台四类厂商分类及选型指南

国内重点工业物联网平台四类厂商分类及选型指南

  • 阅读93
  • 下载5

工业物联网平台的典型应用场景深度分析

工业物联网平台发展重点: 一是行业深耕化,从通用型平台向“一米宽、百米深”的行业垂直平台转型,聚焦能源、交通、化工等领域的特定需求,沉淀场景化解决方案与行业Know-how,而非追求“大而全”的覆盖能力。 二是智能融合化,工业大模型与平台深度结合,实现工业知识的智能化重构、应用开发的低代码化升级,以及生产运营的自感知、自决策、自优化闭环管控,AI成为提质增效的核心变量。 三是生态协同化,平台不再是单一技术载体,而是串联产业链上下游的协同中枢,通过跨系统数据融合、产学研用金深度合作,形成“数据-算力-应用”的生态闭环,赋能供应链协同与产业集群升级。 四是部署灵活化,采用“平台化产品+私有化部署”结合的模式,兼顾中小企业轻量化需求与大型集团定制化诉求,支持公有云、私有云、边缘端的混合部署,平衡成本与安全性。

  • 阅读161
  • 下载7

低空基础设施发展研究报告(2025)

当前,世界百年变局加速演进,新一轮科技革命和产业变革?深入发展,低空经济作为新质生产力的重要组成部分,正以前瞻?性、引领性姿态加速崛起,成为推动经济结构优化升级、塑造高?质量发展新动能的关键领域。

  • 阅读330
  • 下载1

华为数字化转型之道

首先从华为的视角总结了企业对于数字化转型的应有的共识,以及从战略角度阐述了华为为何推行数字化转型,然后给出了华为数字化转型的整体框架(方法论),以及企业数字化转型成熟度评估的方法,帮助读者在厘清华为开展数字化转型工作的整体脉络的同时,能快速对自身的数字化水平进行自检,

  • 阅读400
  • 下载4

最新上线

大规模太阳能光伏电站的本地环境影响与效益

太阳能光伏(PV)是全球最广泛部署的可再生能源技术之一,并将在未来几十年迎来快速发展。截至2024年底,光伏发电贡献了年度新增装机容量的77%和可再生能源总装机容量的42%。2015年至2024年,全球光伏总装机容量增长了八倍以上。这种快速扩张是由成本下降、技术创新和效率提升,以及支持政策和激励措施推动的。根据国际可再生能源机构(IRENA)的1.5C情景,光伏发电预计将在实现与<<巴黎协定>>气候目标相一致能源转型中发挥关健作用,到2050年将贡献所需可再生能源总量的50%和可再生能源发电量的37%。

  • 阅读5
  • 下载1

干部与人才发展数字化解决方案——打造战略驱动的高质量人才供应体系

干部是企业实现关键业务突破和规模扩张的核心躯干,高质量、可持续的人才供给是企业基业长青的必要条件。储备、选拔、发展是核心课题,提升企业人才内生性供给能力,是企业发展人才保障的长久之计。

  • 阅读5
  • 下载1

肺动脉高压临床试验教育者的演进与影响

在临床试验环境中,肺动脉高压(PAH)的专门领域需要定 制化护理。不应低估赞助商、主要研究人员(PI)、临床试 验协调员、研究支持人员、医疗人员和勇敢志愿参与临床试 验的肺动脉高压(PAH)患者之间多学科合作的重要性。

  • 阅读4
  • 下载0

高端制造业:技术升级、产业重构与发展路径研究

高端制造业正呈现规模持续扩张与结构深度优化并行的发展态势。截至2024年底,我国高端制造业上市公司总资产达27.24万亿元,占A股上市公司总资产的6.07%,较2023年末增长6.13%,较2020年末大幅增长68.79%[1]。行业主体数量稳步增加,规模以上高端制造企业数量年均复合增长率达7.3%,资产总额与营业收入双轮驱动特征显著。从区域分布看,制造业正加速由东部沿海向中西部梯度转移,跨区域产业链协作深化,为整体规模扩容提供了空间支撑[2]。近年来,行业增速呈现"高位趋稳、结构分化"的新节奏:2021一2023年复合增速约9.2%,但2024年同比增速回落至5.8%,反映出由规模扩张主导向质量效益主导的阶段性转换。

  • 阅读5
  • 下载1
  • 关于我们

    电话:029-8838-6725

  • 新闻资讯

    企业简介 新闻动态 品牌实力 代理合作 诚聘英才 联系我们

  • 中服云

  • 工业互联网风向标

  • 在线咨询

西安/北京/南京/重庆/合肥/厦门/甘肃 地址:陕西省西安市雁塔区鱼跃工业园慧康生物科技产业园7楼 电话: 029-8838-6725

版权所有 @ 中服云 陕ICP备11002812号
  • 扫码咨询

    或

    点击立即咨询
  • 客服咨询

  • 用手机扫二维码

    或

    复制当前地址

  • 问题反馈 中服大讲堂 客服电话

方案库赚钱指南