• 首页

  • 方案库

  • 工业品库

  • 招标项目库

  • 专家库

  • 人才库

会员中心
搜索
登录
注册
  • 方案名称

解决方案

数字化转型通用方案行业方案安全方案大数据人工智能物联网行业展望自动控制其他

产品|技术

白皮书产品介绍技术介绍技术创新模型算法

政策|规范

政策规范行动计划

电子书

电子书课件

报告|论文

报告模板论文
  • 全部
  • 人气排行
  • 下载排行
  • 页数排行
  • 最新排行

落地式多绳摩擦式提升机天轮装置异响分析及解决方案

针对提升机天轮装置在运行中出现的异响问题,从轴瓦的受力入手,对异响形成的原因进行分析,一般与轴瓦连接螺栓的断裂有关。从提高轴瓦螺栓抗剪切力、改善轴瓦耐磨特性等角度,提出加装定位键、应用锌基合金轴瓦、改善天轮装置结构等解决方案,对于旧结构天轮装置的升级改造及返厂维修有一定的指导意义。

  • 2021-04-18
  • 阅读274
  • 下载0
  • 4页
  • pdf

基于WPF的油藏模型三维可视化解决方案

以往油藏数据的可视化研究绝大多数是基于 C ++语言和 OpenGL 图形技术,大多数商业软件基于 OpenGL 的高级商业软件包 Open Inventor,也有一部分使用开源软件包 OSG 或直接使用 OpenGL 开发。Win- dows 作为目前的主流桌面平台,能够提供非常强大的图形功能,并且提供了强大的 Direct 3D 图形接口用于 WPF 开发。本文提出一种基于 WPF 技术和 MVVM设计模式并利用 helix、directx 图形接口的高性能三维可 视化解决方案,不仅在显示效率和效果上能够满足需求,同时通过应用 MVVM模式,使得三维控件的易用性 得到较大提高,能够方便地嵌入 WPF 应用中,该模式对于实现更高质量,更易于维护和移植的软件意义重 大。

  • 2021-04-18
  • 阅读254
  • 下载0
  • 7页
  • pdf

_Android系统中第三方登录漏洞与解决方案

由于 Android系统中的第三方登录服务具有快捷方便、易于使用等优点,因此其在众多互联网厂商中应用极其广泛.然而,由于第三方登录服务中对应用 APP的身份认证过程存在无人介入的特点,这将导致恶意应用可以逆向伪造认证信息、获取非法权限等类型的攻击.针对上述问题,该文对国内两家著名互联网公司所提供的第三方登录协议进行了研究与分析,通过逆向工程和密码协议分析方法,发现其存在严重的身份信息泄露和权限非法提升漏洞;同时,在获得相关厂商官方的漏洞确认的基础上,根据实际的安全需求,提出了基于可信第三方的应用 APP身份信息强制验证解决方案,并对该解决方案进行了实现,从 有 效 性、执行性能和兼容性等方面对其进行了测试与分析评估.结果表明:该文所提解决方案不仅能够完全防御此类攻击,同时具有性能优兼容性好的特点.

  • 2021-04-18
  • 阅读220
  • 下载1
  • 13页
  • pdf

GPRS的业务解决方案

文章简要介绍了 GPRS技术及 业 务 应 用 情 况 , 着 重 介 绍 了 以 !"#$ 为承载的面向个人用户和集 团用户的 % 种业务解决方案。

  • 2021-04-18
  • 阅读258
  • 下载1
  • 4页
  • pdf

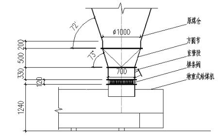
某项目的原煤仓堵煤分析及解决方案

火力发电厂原煤仓普遍出现堵煤现象,本文结合实际项目运行中出现的堵煤问题,深入剖析了堵煤的原因,提出 了相应的解决方案,有效提高了锅炉的安全稳定运行,可为同行处理类似问题提供一定的参考。

  • 2021-04-18
  • 阅读250
  • 下载0
  • 3页
  • pdf

6DK-36L型柴油机曲轴常见故障原因分析及解决方案

曲柄连杆机构是柴油机的主要运动件,它可以把燃料燃烧产生的能量,通过活塞、活塞销、连杆、曲轴、飞轮转变成机械能传递出去。其中曲轴起着至关重要的作用,曲轴将所有的运动部件连接到一起,受力相当复杂。并且对于一台柴油机来说曲轴的价值占比常高达整台柴油机的 1/3。而平时对曲轴的维护和检查及修理相当困难,修理所需的费用和所需要的时间非常大,下面介绍两种关于日本大发 6DK-36 机型出现的故障及现象,原因分析及解决方案。

  • 2021-04-18
  • 阅读266
  • 下载0
  • 3页
  • pdf

工业从智慧工讲义厂到智能生产

德国政府提出“工业4.0”战略,并在2013年4月的波诺威工业上正式推出,其目的是为了德国工业的竞争力,在新一代工业革命中占领待机。

  • 2021-04-18
  • 阅读333
  • 下载0
  • 31页
  • pdf

电子行业工业互联网智能工厂解决方案

工业互联网在中国的应用背景: 老龄化带来劳动力减少,劳动成本上升 产业转移带来的国内制造业空心化 经济全球化需要对市场做快速响应

  • 2021-04-18
  • 阅读196
  • 下载1
  • 10页
  • pdf
上一页 1 …… 12801281128212831284128512861287128812891290 …… 1323 下一页 共 10578 条


立即登录

没有账户,需要注册

登录用户可享受以下权益
  • 免费下载方案
  • 服币提现
  • 发布方案得服币
  • 交易分成

精品推荐

国内重点工业物联网平台四类厂商分类及选型指南

国内重点工业物联网平台四类厂商分类及选型指南

  • 阅读58
  • 下载3

工业物联网平台的典型应用场景深度分析

工业物联网平台发展重点: 一是行业深耕化,从通用型平台向“一米宽、百米深”的行业垂直平台转型,聚焦能源、交通、化工等领域的特定需求,沉淀场景化解决方案与行业Know-how,而非追求“大而全”的覆盖能力。 二是智能融合化,工业大模型与平台深度结合,实现工业知识的智能化重构、应用开发的低代码化升级,以及生产运营的自感知、自决策、自优化闭环管控,AI成为提质增效的核心变量。 三是生态协同化,平台不再是单一技术载体,而是串联产业链上下游的协同中枢,通过跨系统数据融合、产学研用金深度合作,形成“数据-算力-应用”的生态闭环,赋能供应链协同与产业集群升级。 四是部署灵活化,采用“平台化产品+私有化部署”结合的模式,兼顾中小企业轻量化需求与大型集团定制化诉求,支持公有云、私有云、边缘端的混合部署,平衡成本与安全性。

  • 阅读135
  • 下载5

低空基础设施发展研究报告(2025)

当前,世界百年变局加速演进,新一轮科技革命和产业变革?深入发展,低空经济作为新质生产力的重要组成部分,正以前瞻?性、引领性姿态加速崛起,成为推动经济结构优化升级、塑造高?质量发展新动能的关键领域。

  • 阅读303
  • 下载1

华为数字化转型之道

首先从华为的视角总结了企业对于数字化转型的应有的共识,以及从战略角度阐述了华为为何推行数字化转型,然后给出了华为数字化转型的整体框架(方法论),以及企业数字化转型成熟度评估的方法,帮助读者在厘清华为开展数字化转型工作的整体脉络的同时,能快速对自身的数字化水平进行自检,

  • 阅读381
  • 下载4

最新上线

算力互联网体系架构研究报告

算力互联网的发展和演进是一个持续不断的过程,编制组将密切关注国内外算力互联网的发展动态,积极听取产业界的意见与建议,不断完善和优化算力互联网体系架构的研究内容,适时修订并发布报告的新版本,以更好地推动算力互联网发展。

  • 阅读9
  • 下载0

数据智能服务产业发展研究报告

为更好地推动数据智能服务产业发展,本报告从数据智能服务产业定义、要素、载体、产业链、创新模式等方面开展研究工作。第一部分数据智能服务产业概念界定、内涵特征以及全球趋势;第二部分分析数据智能服务产业的核心关键要素;第三部分阐述数据智能服务产业链结构以及产业生态图谱;第四部分阐述数据智能服务的产业载体,第五部分总结了数据智能服务产业的创新模式,最后根据上述研究,从技术、应用、产业、安全等四个方面分析趋势,为我国数据智能服务产业发展提供参考。

  • 阅读11
  • 下载0

人工智能算法与应用场景介绍

通过深度学习嵌入算法可以对离散序列数据一自然语言文本进行计算分析。 主要应用方向是文本信息抽取,包括文本分类、关键实体识别、实体之间关系识别以及事件识别。

  • 阅读8
  • 下载0

医共体信息化整体解决方案

利用人与大数据技术,结合专业的中医疾病、证候/治则知识库、疾病知识图谱等,研发了医用智能处方椎荐系统。它能够无缝植入到医院现有的HIS和医生工作中,不改变医生工作流程,输入患者信息、证候、主诉等信息智能推荐方剂和备用饮片药,医生进行加减化裁即可成方,节省医生诊疗时间,提高工作效率。

  • 阅读9
  • 下载0
  • 关于我们

    电话:029-8838-6725

  • 新闻资讯

    企业简介 新闻动态 品牌实力 代理合作 诚聘英才 联系我们

  • 中服云

  • 工业互联网风向标

  • 在线咨询

西安/北京/南京/重庆/合肥/厦门/甘肃 地址:陕西省西安市雁塔区鱼跃工业园慧康生物科技产业园7楼 电话: 029-8838-6725

版权所有 @ 中服云 陕ICP备11002812号
  • 扫码咨询

    或

    点击立即咨询
  • 客服咨询

  • 用手机扫二维码

    或

    复制当前地址

  • 问题反馈 中服大讲堂 客服电话

方案库赚钱指南