• 首页

  • 方案库

  • 工业品库

  • 招标项目库

  • 专家库

  • 人才库

会员中心
搜索
登录
注册
  • 方案名称

解决方案

数字化转型通用方案行业方案安全方案大数据人工智能物联网行业展望自动控制其他

产品|技术

白皮书产品介绍技术介绍技术创新模型算法

政策|规范

政策规范行动计划

电子书

电子书课件

报告|论文

报告模板论文
  • 全部
  • 人气排行
  • 下载排行
  • 页数排行
  • 最新排行

湖北交通运输大数据存储应用平台设计与实现

针对当前湖北省交通运输数据的存储管理与应用瓶颈,结合目前大数据技术的发展背景,本文基于 Hadoop 生态体系设计与实现了针对湖北交通运输业务的大数据存储分析平台。 文中从总体架构、存储结构、扩 展架构、数据接入与治理、分布式任务调度的设计实现到平台的应用场景进行了论述,并使用 10 年的高速公路数 据与具体业务场景对平台进行了存储与效率实验。 实验结果表明,相比传统关系型数据库,该平台在数据存储、 查询计算方面均具有非常明显的优越性

  • 2021-06-21
  • 阅读137
  • 下载0
  • 6页
  • pdf

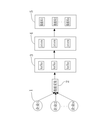
一种实现工业互联网数据处理支持多用户热部署的系统

本发明涉及工业互联网技术领域,具体是一 种实现工业互联网数据处理支持多用户热部署 的系统 ,包括采集对象模块、数据采集模块、 kaf ka模块、jstorm模块和数据库模块;所述 kafka模块采用集群模式,包括多个kafka单元, kafka单元创建的数据信息主题topic由企业ID 和网关ID组成;所述jstorm模块与kafka模块、数 据库模块相连,jstorm模块采用集群模式,包括 多个jstorm单元,规定jstorm单元的任务名 topology和主题topic的映射关系,映射关系包 括一个 t o po l og y对应唯一一个 t o pi c、一个 topology对应多个topic,一个topology只对应 一个企业ID。本发明中的单个jstorm任务只能消 费单个企业的主题信息,jstorm集群可以同时支 持多个jstorm任务运行,即使其中某一个或多个 企业数据出现异常,不会干扰到jstorm处理其它 企业数据。

  • 2021-06-21
  • 阅读141
  • 下载0
  • 9页
  • pdf

一种工业互联网污水处理设备

本实用新型公开了一种工业互联网污水处 理设备,包括抗压罩、管道和螺旋杆,抗压罩的内 壁活动套有管道,管道的内壁固定连接有第一固 定板,第一固定板的上表面开设有进水孔,第一 固定板的下表面固定连接有第一轴承,第一轴承 的内表面固定连接有螺旋杆,螺旋杆底部固定连 接有第二轴承。本实用新型通过管道破裂通过外 壁的抗压罩进行缓冲,通过抗压弹簧将水流给管 道带来的压力分散给抗压层进行缓冲保护,使得 管道排水管道负荷严重导致失去功效。

  • 2021-06-21
  • 阅读124
  • 下载0
  • 8页
  • pdf

一种基于工业互联网的火电厂输煤控制系统

本发明公开了一种基于工业互联网的火电 厂输煤控制系统,自动控制总模块下设三个自动 控制分模块,分别为输煤前段总控模块、输煤中 段总控模块和输煤后段总控模块,分别对火电厂 输煤的前段、中段和后段进行控制优化处理,可 编程控制器通过以太网交换机与工程师控制端 通讯连接,本发明自动控制总模块下设输煤前段 总控模块、输煤中段总控模块和输煤后段总控模 块,输煤前段总控模块、输煤中段总控模块和输 煤后段总控模块分别对火电厂输煤的前段、中段 和后段进行控制优化处理,提高输煤效率,对输 煤进程进行全面适时地监控,故障诊断及优化控 制模块将有价值的数据和信息经过分析、筛选、 推理后提供给操作人员,达到优化生产,减少操 作员工作量的目的。

  • 2021-06-21
  • 阅读132
  • 下载0
  • 7页
  • pdf

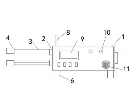
一种高温环境下的工业互联网在线数据采集装置

本实用新型公开了一种高温环境下的工业 互联网在线数据采集装置,包括采集座盒,所述 采集座盒的左侧设有接线凸柱,所述接线凸柱与 所述采集座盒固定连接,所述接线凸柱的左侧均 连接数据接线,所述数据接线的左侧设有数据接 头,所述数据接头与所述数据接线固定连接,所 述采集座盒的内部设有智能芯板,所述智能芯板 包括有线采集模块、无线采集模块、数据存储模 块、数据管理模块、网络管理模块和数据显示模 块,所述有线采集模块、无线采集模块、数据存储 模块、数据管理模块、网络管理模块和数据显示 模块均相互连通。该种设备散热性较好,同时智 能化程度较高,提高了数据采集的效率,实用性 较强。

  • 2021-06-21
  • 阅读118
  • 下载0
  • 7页
  • pdf

基于工业互联网标识编码的新品价格弹性计算方法及装置

本发明的实施例提供一种基于工业互联网 标识编码的新品价格弹性计算方法及装置。该方 法包括:获取同行业内多个已售商品及新品的工 业互联网标识编码;将已售商品过滤掉,得到多 个待处理已售商品;对待处理已售商品进行筛 选,得到多个备用已售商品;根据所有备用已售 商品的价格弹性,得到第一价格弹性平均值和第 一价格弹性二分位数;利用社群检测算法得到备 用已售商品的类别总数和各类别间相似度,以及 与新品的工业互联网标识编码距离均值最短的 类别;根据各类别间相似度小于预设阈值确定新 品价格弹性。本发明计算得到的新品价格弹性更 合理,根据新品价格弹性,可以实现新品的快速、 自动定价。

  • 2021-06-21
  • 阅读123
  • 下载0
  • 11页
  • pdf

多源异构文化大数据融合平台设计2

多源异构文化大数据融合平台设计,设计理念等

  • 2021-06-21
  • 阅读145
  • 下载0
  • 7页
  • pdf

一种工业互联网实时监控系统

一种工业互联网实时监控系统,包括处理中 心、与处理中心通信连接的多媒体数据模块、与 处理中心通信连接的工控数据模块、与处理中心 通信连接的电气数据模块,其中:多媒体数据模 块包括音频信号输入模块和视频信号输入模块; 工控数据模块包括温度信号输入模块、湿度信号 输入模块、位移信号输入模块、冷却信号输入模 块;电气数据模块包括电压信号输入模块、电流 信号输入模块。所述处理中心对数据进行同步采 集和交叉分析。本发明中的监控系统,改变了现 有技术中的结构复杂、模块拼凑度高的传统监控 系统,通过高集成度电路设计,在一个电路板上 对多模态信号进行电气(电压)隔离、高速和同步 采集,实现了基于边缘控制的工业大数据采集智 能化。

  • 2021-06-21
  • 阅读123
  • 下载0
  • 12页
  • pdf
上一页 1 …… 1521915220152211522215223152241522515226152271522815229 …… 16461 下一页 共 131687 条


立即登录

没有账户,需要注册

登录用户可享受以下权益
  • 免费下载方案
  • 服币提现
  • 发布方案得服币
  • 交易分成

精品推荐

2025年车路云一体化系统云控基础平台功能场景参考架构报告2.0

汽车智能化网联化融合发展已经成为全球政府、产业界的发展共识,各国通过升级政策法规、推动测试示范、加速创新应用等方式推动智能网联汽车产业发展。2024年1月,我国启动智能网联汽车“车路云一体化”应用试点,推动车路云一体化从技术验证迈向规模化应用。

  • 阅读120
  • 下载2

2025年中国新锐品牌全球成长白皮书

过去十年,中国消费市场的高速迭代催生了一批极具活力的新锐品牌。它们凭借对消费趋 势的敏锐洞察、柔性灵活的供应链体系以及成熟的数字化运营能力,在国内细分市场中迅 速崛起,创造了一个又一个“爆款神话”。

  • 阅读102
  • 下载2

中服云多模态工业物联网平台介绍

中服云作为国内著名的专业工业物联网平台系列产品提供商,历经十余年深耕发展,已构建起成熟的全系列多层次产品体系,精准适配不同行业、不同规模用户的差异化需求。凭借在工业数据采集、边缘计算、人工智能、数字孪生等领域的深厚技术积累与持续创新,中服云已为海量工业企业提供了稳定可靠的数字化转型解决方案。平台支持云端SaaS在线部署与用户现场私有化部署两种模式,既满足中小企业轻量化、低成本的在线使用需求,也保障大型企业对数据安全、定制化服务的高标准要求。

  • 阅读111
  • 下载0

中服云工业物联网平台数字孪生版技术原理与功能介绍

中服云数字孪生平台以物联网平台+数据中台为坚实基础,以2D/3D/GIS为核心展示形式,致力于打造一个从设备原始数据到孪生应用落地的一站式数智化平台。

  • 阅读159
  • 下载5

最新上线

人工智能赋能教育高质量发展

从知识传授者到引导者:知识哪里获取、如何获取、如何应用AIGC技术使教师从传统的知识传授者转变为学习引导者,更多地关注学生的个性化学习需求。

  • 阅读18
  • 下载1

2025年度低空经济投资策略

市场担心十四五期间国内无人机采购费用增速不及预期。我们认为:无人机是未来战争关键环节,当前我国军用无人机装备处于起步阶段。我们预计十四五未期我国军用无人机采购费用有望快速增加。

  • 阅读26
  • 下载0

数字档案馆标准建设方案

XX数字档案馆项目实施的过程中,将涉及到档案馆多个职能部门、多个立档单位及参与项目建设的其他单位,档案馆应建立力量强大、耶责明晰的项目建设和管理杌构,确保项目实施过程中冬个环节之间能够有条不紊的协调工作,将项目实施风险控制在最低程度。

  • 阅读38
  • 下载0

智慧物流园区信息化趋势

区别于传统消防联网模式,在符合GB50440要求的同时,将互联网思维融入消防信息化管理,将离散在园区各个消防设施实时状态信息有效整合在统一系统上。

  • 阅读79
  • 下载0
  • 关于我们

    电话:029-8838-6725

  • 新闻资讯

    企业简介 新闻动态 品牌实力 代理合作 诚聘英才 联系我们

  • 中服云

  • 工业互联网风向标

  • 在线咨询

西安/北京/南京/重庆/合肥/厦门/甘肃 地址:陕西省西安市雁塔区鱼跃工业园慧康生物科技产业园7楼 电话: 029-8838-6725

版权所有 @ 中服云 陕ICP备11002812号
  • 扫码咨询

    或

    点击立即咨询
  • 客服咨询

  • 用手机扫二维码

    或

    复制当前地址

  • 问题反馈 中服大讲堂 客服电话

方案库赚钱指南