• 首页

  • 方案库

  • 工业品库

  • 招标项目库

  • 专家库

  • 人才库

会员中心
搜索
登录
注册
  • 方案名称

解决方案

数字化转型通用方案行业方案安全方案大数据人工智能物联网行业展望自动控制其他

产品|技术

白皮书产品介绍技术介绍技术创新模型算法

政策|规范

政策规范行动计划

电子书

电子书课件

报告|论文

报告模板论文
  • 全部
  • 人气排行
  • 下载排行
  • 页数排行
  • 最新排行

大数据环境下的高校就业信息管理系统设计_卢岩

由于高校就业信息管理存在效率低、针对性差的问题,为提升高校就业信息管理效率,设计了大数据环境下的高校就业信息管理系统。大数据采集模块可以利用不同信息格式换算和自主识别输入信息技术采集就业信息;采集到的信息经过大数据存储和处理模块整合后传输至大数据分析管理模块实施信息整合分析管理,从而完成大数据环境下的高校就业信息管理系统设计。系统测试结果表明,所设计系统的各项功能在实际应用中安全性高、针对性强,可以提升高校就业信息管理效率,具有一定的实际应用价值。

  • 2021-06-21
  • 阅读122
  • 下载0
  • 7页
  • pdf

基于Spark框架的电力大数据服务技术_孙煜华

电力大数据服务是智能电网建设的关键,提出了基于改进AP聚类的用电行为分析方法和基于随机森林的电力负荷预测方法。针对AP聚类分析用电行为存在的复杂度较高问题,利用熵权法确立指标权值,改进相似度计算方式,实现了用户用电行为的快速准确分析。针对电力负荷预测问题,采用模糊C均值构建历史相似日样本集,利用随机森林预测电力负荷。为提高电力数据服务运行效率,构建了基于Spark框架的并行数据处理平台。实验结果表明,提出方法能够有效提取用户的用电行为和预测电力负荷,且性能优于现有方法。

  • 2021-06-21
  • 阅读138
  • 下载0
  • 7页
  • pdf

智能网络下职业健康风险大数据分析方法_刘博

针对目前职业健康数据大、技术分析落后的问题,提出了新型的解决方法。该方法构建出包括数据获取层、数据存储层、数据处理层和数据分析层的系统架构,实现了职业健康大数据的采集、存储、计算和数据传递。该研究方法还采用大数据挖掘算法实现职业健康大数据的微观分析,通过AdaBoost算法实现不同健康大数据的关联分析,通过BP神经网络模型实现健康大数据的故障诊断,又采用可视化技术实现数据的集合与映射,提高职业健康大数据的管控,试验表明,该研究的方法数据处理速度快,准确率大于95%。

  • 2021-06-21
  • 阅读139
  • 下载0
  • 7页
  • pdf

大数据加密算法在数据安全保护中的应用研究_张晓敏

针对大数据加密算法安全性不高,计算效率低等问题,本研究采用双混沌系统结合改进AES加密算法设计出一个混合加密算法,改进AES算是利用仿射变换对(A7、6F)生成新的S盒,采用的双四维超混沌系统是从两个三维混沌系统进行改造而成,然后利用改造后的超混沌系统生成混沌序列,设计出一个分组加密方案,在Hadoop大数据平台上,将双超混沌加密方案和改进的AES算法进行合并;试验表明,本研究的大数据加密算法安全性能高、密钥长度达688 bit,加密解密效率提高2倍以上。

  • 2021-06-21
  • 阅读118
  • 下载0
  • 5页
  • pdf

基于物联网平台的智能小区方案

智能小区与智能住宅在20 世纪80年代中期起源于美国,并 在美国得到了迅猛的发展。继美国之后,日本、欧洲、东南亚等国家和地区也得到了飞速发展。在我国,智能小区与智能住宅是在近几年才发展起来的,并且发展速度很快。

  • 2021-06-21
  • 阅读158
  • 下载1
  • 32页
  • pdf

健康物联网智能医疗服务平台可行性计划书

健康物联网智慧医疗服务,是针对个人提供的健康服务,无论是在医院,还是在家庭,甚至在旅途,都能将个人的健康信息通过无线网络汇集到医生专家面前,医生 通过病历资料和监测的个人健康信息,为个人提供健康服务。

  • 2021-06-21
  • 阅读433
  • 下载0
  • 166页
  • pdf

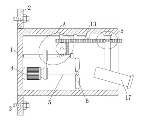
一种基于互联网技术的工业视频监控设备

本实用新型公开了一种基于互联网技术的 工业视频监控设备。本实用新型包括:壳体,所述 壳体的一侧内壁上固定安装有电机,电机的输出 轴上固定安装有第一转轴的一端,第一转轴的另 一端固定安装有扇叶,壳体的一侧内壁上转动安 装有蜗杆的一端,第一转轴的外侧与蜗杆的外侧 均固定安装有皮带轮,两个皮带轮上传动连接有 同一个皮带,壳体内转动安装有蜗轮,蜗杆与蜗 轮相啮合,蜗轮的前侧固定焊接有圆轴,圆轴的 外侧活动连接有两个竖杆,本实用新型结构设计 合理,操作简单,可以对摄像头进行往复摆动角 度监控,提高了摄像头的监控范围,并且可以在 摄像头工作时对摄像头进行吹风散热,提高了摄 像头的使用寿命。

  • 2021-06-21
  • 阅读128
  • 下载0
  • 8页
  • pdf

工业互联网中支持大规模设备通信的网络容量优化方法

本发明公开了一种工业互联网中支持大规 模设备通信的网络容量优化方法,包括:构建工 业互联网中支持大规模设备通信的网络场景模 型;其中,在该网络场景中,设备最多只能重用一 个网络用户的子信道资源块;将该网络场景的容 量优化问题建模为马尔可夫决策模型;以最大化 系统容量为目标,基于深度强化学习网络,获取 设备最优发射功率,以在保证网络用户和设备服 务质量的同时,最大化系统总容量。本发明可以 减少支持大规模设备通信的无线网络系统的干 扰,提高频谱资源利用率,在保证服务质量的同 时,最大化系统总容量。

  • 2021-06-21
  • 阅读112
  • 下载0
  • 11页
  • pdf
上一页 1 …… 1521415215152161521715218152191522015221152221522315224 …… 16461 下一页 共 131687 条


立即登录

没有账户,需要注册

登录用户可享受以下权益
  • 免费下载方案
  • 服币提现
  • 发布方案得服币
  • 交易分成

精品推荐

2025年车路云一体化系统云控基础平台功能场景参考架构报告2.0

汽车智能化网联化融合发展已经成为全球政府、产业界的发展共识,各国通过升级政策法规、推动测试示范、加速创新应用等方式推动智能网联汽车产业发展。2024年1月,我国启动智能网联汽车“车路云一体化”应用试点,推动车路云一体化从技术验证迈向规模化应用。

  • 阅读121
  • 下载2

2025年中国新锐品牌全球成长白皮书

过去十年,中国消费市场的高速迭代催生了一批极具活力的新锐品牌。它们凭借对消费趋 势的敏锐洞察、柔性灵活的供应链体系以及成熟的数字化运营能力,在国内细分市场中迅 速崛起,创造了一个又一个“爆款神话”。

  • 阅读103
  • 下载2

中服云多模态工业物联网平台介绍

中服云作为国内著名的专业工业物联网平台系列产品提供商,历经十余年深耕发展,已构建起成熟的全系列多层次产品体系,精准适配不同行业、不同规模用户的差异化需求。凭借在工业数据采集、边缘计算、人工智能、数字孪生等领域的深厚技术积累与持续创新,中服云已为海量工业企业提供了稳定可靠的数字化转型解决方案。平台支持云端SaaS在线部署与用户现场私有化部署两种模式,既满足中小企业轻量化、低成本的在线使用需求,也保障大型企业对数据安全、定制化服务的高标准要求。

  • 阅读112
  • 下载0

中服云工业物联网平台数字孪生版技术原理与功能介绍

中服云数字孪生平台以物联网平台+数据中台为坚实基础,以2D/3D/GIS为核心展示形式,致力于打造一个从设备原始数据到孪生应用落地的一站式数智化平台。

  • 阅读160
  • 下载5

最新上线

人工智能赋能教育高质量发展

从知识传授者到引导者:知识哪里获取、如何获取、如何应用AIGC技术使教师从传统的知识传授者转变为学习引导者,更多地关注学生的个性化学习需求。

  • 阅读22
  • 下载1

2025年度低空经济投资策略

市场担心十四五期间国内无人机采购费用增速不及预期。我们认为:无人机是未来战争关键环节,当前我国军用无人机装备处于起步阶段。我们预计十四五未期我国军用无人机采购费用有望快速增加。

  • 阅读27
  • 下载0

数字档案馆标准建设方案

XX数字档案馆项目实施的过程中,将涉及到档案馆多个职能部门、多个立档单位及参与项目建设的其他单位,档案馆应建立力量强大、耶责明晰的项目建设和管理杌构,确保项目实施过程中冬个环节之间能够有条不紊的协调工作,将项目实施风险控制在最低程度。

  • 阅读41
  • 下载0

智慧物流园区信息化趋势

区别于传统消防联网模式,在符合GB50440要求的同时,将互联网思维融入消防信息化管理,将离散在园区各个消防设施实时状态信息有效整合在统一系统上。

  • 阅读82
  • 下载0
  • 关于我们

    电话:029-8838-6725

  • 新闻资讯

    企业简介 新闻动态 品牌实力 代理合作 诚聘英才 联系我们

  • 中服云

  • 工业互联网风向标

  • 在线咨询

西安/北京/南京/重庆/合肥/厦门/甘肃 地址:陕西省西安市雁塔区鱼跃工业园慧康生物科技产业园7楼 电话: 029-8838-6725

版权所有 @ 中服云 陕ICP备11002812号
  • 扫码咨询

    或

    点击立即咨询
  • 客服咨询

  • 用手机扫二维码

    或

    复制当前地址

  • 问题反馈 中服大讲堂 客服电话

方案库赚钱指南