• 首页

  • 方案库

  • 工业品库

  • 招标项目库

  • 专家库

  • 人才库

会员中心
搜索
登录
注册
  • 方案名称

解决方案

数字化转型通用方案行业方案安全方案大数据人工智能物联网行业展望自动控制其他

产品|技术

白皮书产品介绍技术介绍技术创新模型算法

政策|规范

政策规范行动计划

电子书

电子书课件

报告|论文

报告模板论文
  • 全部
  • 人气排行
  • 下载排行
  • 页数排行
  • 最新排行

基于语音识别智能家居系统的设计与实现

为了创建良好的家居环境以及为手臂残障人士提供方便,设计了一套智能家居系统。 该系统由语音识别系统、室 内光照采集与控制系统和室内温度检测与控制系统共同组成。 使用 LD3320 实现语音识别,通过上位机发出控制信号,进 行室内灯光和温度的控制。 通过对室内光源照度分布建立模型并分析,设计了光源以及光照传感器的分布。 并且利用迟 滞比较器软件算法使光源可以根据室内的光照强度进行补光,以达到国际照明标准。 考虑到人体舒适度,通过建立体感 温度与相对湿度、环境温度的函数关系,得到最佳的设置温度。 最后利用模糊 PID 算法控制中央空调的送风机使室内达 到设置温度。 该智能家居系统具有实时检测、稳定性好、节约电能、成本低等优点,可以广泛应用于智能家居市场。

  • 2021-06-21
  • 阅读156
  • 下载0
  • 5页
  • pdf

一种基于工业互联网的产品周期控制方法

本发明公开了一种基于工业互联网的产品 周期控制方法,所述方法具体包括如下步骤:S1、 基于产品的存储时间来确定销售价格;S2、周期 性的基于各生命周期内的盈利额对销售价格进 行调整,售出产品的存储时间即为该产品的生命 周期。基于产品的存储周期来确定销售价格,存 储时间越长,销售价格越低,一方面较满足了高 端客户对新鲜食品的需求,另一方面,通过对存 储时间相对长的产品进行逐级降价,以达到缩短 产品生命周期的目的。

  • 2021-06-21
  • 阅读124
  • 下载0
  • 7页
  • pdf

基于三维等距球体解析模型的俯冲段大斜视SAR成像算法

当合成孔径雷达(SAR)工作在俯冲段大斜视模式时,面临着斜视角沿距离向空变、距离-方位耦合严重以及3维速度与加速度带来扰动等问题,导致回波存在着严重的距离徙动(RCM)和多普勒相位的2维空变。针对这些问题,该文构建了一种用于精确描述俯冲段大斜视SAR回波距离-方位空变特性的3维等距球体解析模型。基于该模型,提出一种去除方位空变残余高阶RCM的校正方法,并重新推导了去除多普勒相位方位空变的频域拓展非线性变标(FENLCS)方法,结合子孔径处理方式解决了SAR工作在俯冲段大斜视模式下所面临问题。理论分析和仿真结果证明,该文构建的模型对于回波的距离-方位空变特性有着更精确的描述,且所提算法具有更好的成像效果。

  • 2021-06-21
  • 阅读160
  • 下载0
  • 8页
  • pdf

传统造物视角解析当代智能家居_和_文化设计

从中国传统造物审美的视角来分析当代智能家居设计,通过对当代智能家居市场产品进行调研,使用对比研究的方法对现有产品功能点,交互点,及内部系统逻辑进行对比分析,研究当代智能家居在用户生活中的交互性及用户在整个使用产品过程中的参与性。从产品的情感化设计,用户需求层次,美学技法,审美设计的动态平衡等方面来论证传统造物思想在当代智能设计中的内在联系,将当代智能产品回溯到传统本真,遵循“道法自然”的设计原则。传统造物设计核心思想为人性化设计,即无论设计任何产品都应该考虑到人的使用因素,但人并非凌驾于物之上,两者应和谐相处,才能到达“和”的设计思想理念,此时人与物也会发挥最大效能。

  • 2021-06-21
  • 阅读156
  • 下载0
  • 10页
  • pdf

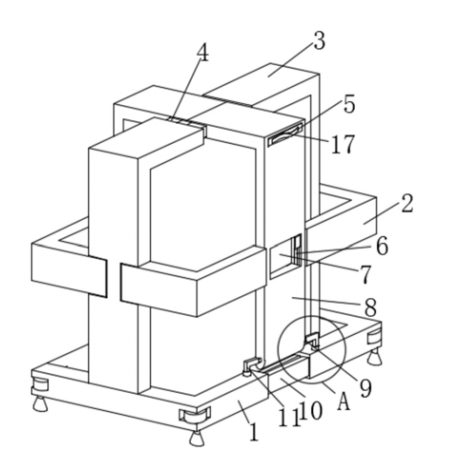
一种基于工业互联网引擎的云操作系统通用组件

本实用新型公开了一种基于工业互联网引 擎的云操作系统通用组件,包括支撑框、第二卡 接板、第一卡接板、第二插杆、拉杆、放置槽、沟 槽、第三卡接板、第一插杆、齿条杆、转动杆、卡 块、转动块、螺纹杆、吸盘、齿轮、穿插口、第一插 槽和第二插槽。本实用新型的有益效果是:齿条 杆远离其中一个支撑框的一端插设于另一个支 撑框的第二插槽内,且齿条杆的一侧与齿轮的侧 面啮合连接,便于使得支撑框之间的连接更加稳 定,卡接效果更好,第二插杆上开设有与拉杆厚 度相配合的通槽,便于对两个第三卡接板进行卡 接固定,吸盘设置有四个,且位于支撑框的四角 处,便于支撑框与地面之间的固定,可以保证整 个装置在使用过程中的稳定性。

  • 2021-06-21
  • 阅读121
  • 下载0
  • 7页
  • pdf

工业互联网资源管理方法及系统、可读存储介质和终端

一种工业互联网资源管理方法及系统、可读存储介质和终端,所述方法包括:边缘服务单元中对应的边缘节点接收用户终端的所述服务请求;当确定请求类型为流处理请求且自身存在对应的存储数据时,处理所述服务请求,并将得到的资源配置方案发送至所述控制管理单元;当确定请求类型为流处理请求且自身不存在对应的数据或者确定请求类型为批处理请求时,将所述服务请求转发至边缘服务单元中的边缘服务器;所述云服务单元接收所述边缘服务器按照预设的优先级顺序对服务请求进行排序得到的服务请求列表,并与边缘节点协同处理所述服务请求列表中的所述服务请求,得到对应的资源配置方案并发送至控制管理单元。在对工业互联网进行资源管理时,提高效率。

  • 2021-06-21
  • 阅读121
  • 下载0
  • 11页
  • pdf

一种基于工业互联网云平台的产品溯源方法

本发明涉及一种基于工业互联网云平台的 产品溯源方法,包括步骤:获取产品倾斜摄影影 像,根据产品倾斜摄影影像将产品分为j*j个子 产品块,对子产品块信息进行编码、传输,寻找标 准产品块数据集 ;子产品块数据集对应的时间 序列的第 个时间点上的标准产品块数据集 是 拟合度参数的线性组合,对产品块数据集X溯源 即是求解拟合度参数 ,即产品块数据集X与标 准产品块数据集的拟合参数。本发明能够显著地 提高了溯源准确性及效率,将多种产品相关因素 进行关联分析,克服了现有溯源系统中伪造产品 码等现象,并通过拟合度值得计算,进而确定产 品源头,在准确率方面大大增强。

  • 2021-06-21
  • 阅读121
  • 下载0
  • 12页
  • pdf

工业互联网中基于优先级的多业务实时编排方法

本发明涉及工业互联网中基于优先级的业 务实时调度方法,该方法中首先将业务进行分 类,然后根据优先级的高低让通信双方发送带时 间戳的报文,从而根据时间戳实时计算工业互联 网中端到端延时。该方法操作简单,容易实现,且 适用范围广。

  • 2021-06-21
  • 阅读107
  • 下载0
  • 6页
  • pdf
上一页 1 …… 1521615217152181521915220152211522215223152241522515226 …… 16461 下一页 共 131687 条


立即登录

没有账户,需要注册

登录用户可享受以下权益
  • 免费下载方案
  • 服币提现
  • 发布方案得服币
  • 交易分成

精品推荐

2025年车路云一体化系统云控基础平台功能场景参考架构报告2.0

汽车智能化网联化融合发展已经成为全球政府、产业界的发展共识,各国通过升级政策法规、推动测试示范、加速创新应用等方式推动智能网联汽车产业发展。2024年1月,我国启动智能网联汽车“车路云一体化”应用试点,推动车路云一体化从技术验证迈向规模化应用。

  • 阅读120
  • 下载2

2025年中国新锐品牌全球成长白皮书

过去十年,中国消费市场的高速迭代催生了一批极具活力的新锐品牌。它们凭借对消费趋 势的敏锐洞察、柔性灵活的供应链体系以及成熟的数字化运营能力,在国内细分市场中迅 速崛起,创造了一个又一个“爆款神话”。

  • 阅读102
  • 下载2

中服云多模态工业物联网平台介绍

中服云作为国内著名的专业工业物联网平台系列产品提供商,历经十余年深耕发展,已构建起成熟的全系列多层次产品体系,精准适配不同行业、不同规模用户的差异化需求。凭借在工业数据采集、边缘计算、人工智能、数字孪生等领域的深厚技术积累与持续创新,中服云已为海量工业企业提供了稳定可靠的数字化转型解决方案。平台支持云端SaaS在线部署与用户现场私有化部署两种模式,既满足中小企业轻量化、低成本的在线使用需求,也保障大型企业对数据安全、定制化服务的高标准要求。

  • 阅读111
  • 下载0

中服云工业物联网平台数字孪生版技术原理与功能介绍

中服云数字孪生平台以物联网平台+数据中台为坚实基础,以2D/3D/GIS为核心展示形式,致力于打造一个从设备原始数据到孪生应用落地的一站式数智化平台。

  • 阅读159
  • 下载5

最新上线

人工智能赋能教育高质量发展

从知识传授者到引导者:知识哪里获取、如何获取、如何应用AIGC技术使教师从传统的知识传授者转变为学习引导者,更多地关注学生的个性化学习需求。

  • 阅读18
  • 下载1

2025年度低空经济投资策略

市场担心十四五期间国内无人机采购费用增速不及预期。我们认为:无人机是未来战争关键环节,当前我国军用无人机装备处于起步阶段。我们预计十四五未期我国军用无人机采购费用有望快速增加。

  • 阅读26
  • 下载0

数字档案馆标准建设方案

XX数字档案馆项目实施的过程中,将涉及到档案馆多个职能部门、多个立档单位及参与项目建设的其他单位,档案馆应建立力量强大、耶责明晰的项目建设和管理杌构,确保项目实施过程中冬个环节之间能够有条不紊的协调工作,将项目实施风险控制在最低程度。

  • 阅读38
  • 下载0

智慧物流园区信息化趋势

区别于传统消防联网模式,在符合GB50440要求的同时,将互联网思维融入消防信息化管理,将离散在园区各个消防设施实时状态信息有效整合在统一系统上。

  • 阅读79
  • 下载0
  • 关于我们

    电话:029-8838-6725

  • 新闻资讯

    企业简介 新闻动态 品牌实力 代理合作 诚聘英才 联系我们

  • 中服云

  • 工业互联网风向标

  • 在线咨询

西安/北京/南京/重庆/合肥/厦门/甘肃 地址:陕西省西安市雁塔区鱼跃工业园慧康生物科技产业园7楼 电话: 029-8838-6725

版权所有 @ 中服云 陕ICP备11002812号
  • 扫码咨询

    或

    点击立即咨询
  • 客服咨询

  • 用手机扫二维码

    或

    复制当前地址

  • 问题反馈 中服大讲堂 客服电话

方案库赚钱指南