• 首页

  • 方案库

  • 工业品库

  • 招标项目库

  • 专家库

  • 人才库

会员中心
搜索
登录
注册
  • 方案名称

解决方案

数字化转型通用方案行业方案安全方案大数据人工智能物联网行业展望自动控制其他

产品|技术

白皮书产品介绍技术介绍技术创新模型算法

政策|规范

政策规范行动计划

电子书

电子书课件

报告|论文

报告模板论文
  • 全部
  • 人气排行
  • 下载排行
  • 页数排行
  • 最新排行

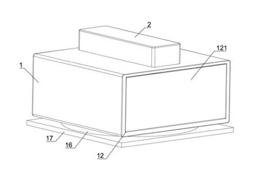
一种应用于工业互联网的计量灌装机

本发明公开了一种应用于工业互联网的计 量灌装机,具有:平台;组合秤,设置在平台上;上 料机,设置在平台上,上料机能够将物料输送入 组合秤中;灌装机,设置在组合秤下方,灌装机能 够将组合秤送出的物料装入盒体中;输送线,设 置在灌装机下方,输送线能够输送灌装机送出的 盒体,一次送入两个盒体,能够交替向两个盒体 中送料,工作效率高。

  • 2021-06-21
  • 阅读132
  • 下载0
  • 14页
  • pdf

工业互联网现场层宽带总线架构的安全性实现方法及装置

本发明涉及一种工业互联网现场层宽带总线架构的安全性实现方法及装置,该方法中通过对总线终端与总线控制器之间传输的数据进行加密传输,保证了接入过程的安全性;通过对采集到的数据进行安全性检测,以防止异常数据对系统运行造成威胁;通过总线终端对总线上数据流的传输规则进行监测并上报,便于总线控制器对传输规则的异常情况进行处理;通过将总线控制器以及总线终端中待发送的数据进行交织处理,提高传输过程的可靠性,采用将待发送的数据从交织器中并行输出,也减少因增加交织处理过程所造成的数据传输的时延,使数据传输时的传输速度较高。综上,本发明提供了--种能够同时实现高安全性、高可靠性以及高速性的数据传输方案。

  • 2021-06-21
  • 阅读142
  • 下载0
  • 30页
  • pdf

一种新型工业互联网用网关

本实用新型属于互联网网关技术技术领域, 具体涉及一种新型工业互联网用网关,包括箱体 和网关,箱体前侧设有开口,网关设置于箱体中, 箱体四壁均设有导热板,导热板分别与网关四周 相抵接,箱体后侧内壁设有第一弹性垫,箱体上 侧设有水冷箱,水冷箱输出端设有导液管,导液 管灌装有冷却液,导液管一端贯穿箱体上侧,导 液管蛇形环绕于网关四周且与四个导热板相抵 接,导液管另一端与水冷箱输入端固定连接,导 热板上侧设有气室,气室上端与箱体上侧内壁固 定连接,气室内部滑动连接有轻质活塞板,箱体 上侧内壁设有控制开关,轻质活塞板设有压块, 开口铰接有防护盖板,防护盖板设有第二弹性 垫。

  • 2021-06-21
  • 阅读135
  • 下载0
  • 8页
  • pdf

大数据时代个人信息侵权及保护问题探索

大数据时代个人信息侵权及保护问题探索

  • 2021-06-21
  • 阅读148
  • 下载0
  • 7页
  • pdf

大数据金融在商业银行客户关系管理中的应用

大数据金融在商业银行客户关系管理中的应用

  • 2021-06-21
  • 阅读151
  • 下载0
  • 5页
  • pdf

物联网创新应用资料

物联网通过射频识别、红外感应器、全球定位系统、激光扫描器等信息传感设备,按约定的协议,把任何物品与互联网连接起来,进行信息交换和通讯,以实现智能化识别、定位、跟踪、监控和管理的-种网络。

  • 2021-06-21
  • 阅读177
  • 下载0
  • 22页
  • pdf

论数字经济时代健康保险业的应对策略

论数字经济时代健康保险业的应对策略,保险业健康发展

  • 2021-06-21
  • 阅读152
  • 下载0
  • 12页
  • pdf

智慧矿山大数据技术分析与平台设计

智慧矿山大数据技术分析与平台设计

  • 2021-06-21
  • 阅读159
  • 下载0
  • 5页
  • pdf
上一页 1 …… 1522415225152261522715228152291523015231152321523315234 …… 16461 下一页 共 131687 条


立即登录

没有账户,需要注册

登录用户可享受以下权益
  • 免费下载方案
  • 服币提现
  • 发布方案得服币
  • 交易分成

精品推荐

2025年车路云一体化系统云控基础平台功能场景参考架构报告2.0

汽车智能化网联化融合发展已经成为全球政府、产业界的发展共识,各国通过升级政策法规、推动测试示范、加速创新应用等方式推动智能网联汽车产业发展。2024年1月,我国启动智能网联汽车“车路云一体化”应用试点,推动车路云一体化从技术验证迈向规模化应用。

  • 阅读121
  • 下载2

2025年中国新锐品牌全球成长白皮书

过去十年,中国消费市场的高速迭代催生了一批极具活力的新锐品牌。它们凭借对消费趋 势的敏锐洞察、柔性灵活的供应链体系以及成熟的数字化运营能力,在国内细分市场中迅 速崛起,创造了一个又一个“爆款神话”。

  • 阅读103
  • 下载2

中服云多模态工业物联网平台介绍

中服云作为国内著名的专业工业物联网平台系列产品提供商,历经十余年深耕发展,已构建起成熟的全系列多层次产品体系,精准适配不同行业、不同规模用户的差异化需求。凭借在工业数据采集、边缘计算、人工智能、数字孪生等领域的深厚技术积累与持续创新,中服云已为海量工业企业提供了稳定可靠的数字化转型解决方案。平台支持云端SaaS在线部署与用户现场私有化部署两种模式,既满足中小企业轻量化、低成本的在线使用需求,也保障大型企业对数据安全、定制化服务的高标准要求。

  • 阅读112
  • 下载0

中服云工业物联网平台数字孪生版技术原理与功能介绍

中服云数字孪生平台以物联网平台+数据中台为坚实基础,以2D/3D/GIS为核心展示形式,致力于打造一个从设备原始数据到孪生应用落地的一站式数智化平台。

  • 阅读160
  • 下载5

最新上线

人工智能赋能教育高质量发展

从知识传授者到引导者:知识哪里获取、如何获取、如何应用AIGC技术使教师从传统的知识传授者转变为学习引导者,更多地关注学生的个性化学习需求。

  • 阅读19
  • 下载1

2025年度低空经济投资策略

市场担心十四五期间国内无人机采购费用增速不及预期。我们认为:无人机是未来战争关键环节,当前我国军用无人机装备处于起步阶段。我们预计十四五未期我国军用无人机采购费用有望快速增加。

  • 阅读27
  • 下载0

数字档案馆标准建设方案

XX数字档案馆项目实施的过程中,将涉及到档案馆多个职能部门、多个立档单位及参与项目建设的其他单位,档案馆应建立力量强大、耶责明晰的项目建设和管理杌构,确保项目实施过程中冬个环节之间能够有条不紊的协调工作,将项目实施风险控制在最低程度。

  • 阅读40
  • 下载0

智慧物流园区信息化趋势

区别于传统消防联网模式,在符合GB50440要求的同时,将互联网思维融入消防信息化管理,将离散在园区各个消防设施实时状态信息有效整合在统一系统上。

  • 阅读81
  • 下载0
  • 关于我们

    电话:029-8838-6725

  • 新闻资讯

    企业简介 新闻动态 品牌实力 代理合作 诚聘英才 联系我们

  • 中服云

  • 工业互联网风向标

  • 在线咨询

西安/北京/南京/重庆/合肥/厦门/甘肃 地址:陕西省西安市雁塔区鱼跃工业园慧康生物科技产业园7楼 电话: 029-8838-6725

版权所有 @ 中服云 陕ICP备11002812号
  • 扫码咨询

    或

    点击立即咨询
  • 客服咨询

  • 用手机扫二维码

    或

    复制当前地址

  • 问题反馈 中服大讲堂 客服电话

方案库赚钱指南