• 首页

  • 方案库

  • 工业品库

  • 招标项目库

  • 专家库

  • 人才库

会员中心
搜索
登录
注册
  • 方案名称

解决方案

数字化转型通用方案行业方案安全方案大数据人工智能物联网行业展望自动控制其他

产品|技术

白皮书产品介绍技术介绍技术创新模型算法

政策|规范

政策规范行动计划

电子书

电子书课件

报告|论文

报告模板论文
  • 全部
  • 人气排行
  • 下载排行
  • 页数排行
  • 最新排行

无线城市物联网展示PPT整合版

根据对TD现网热点话务区域的分析并考虑本次LTE建设覆盖区域的总体定位及未来用户发展情况,本次覆盖区域主要覆盖北京市区,由于规模较大,基本上覆盖了市区三环区域,同时对于四、五环外如亚奥、上地等 综合区域,机场及机场高速等特殊区域及一些VIP等数据热点的综合区域也考虑进行覆盖。

  • 2021-06-21
  • 阅读170
  • 下载0
  • 40页
  • pdf

基于多源大数据的城市公园游憩使用和规划应对研究进展

基于多源大数据的城市公园游憩使用和规划应对研究进展

  • 2021-06-21
  • 阅读162
  • 下载0
  • 7页
  • pdf

物联网车行宝产品介绍(PPT30页)

成e行车辆网服务系统是基于智能手机和车辆网终端,通过移动通讯网络实现人车交互,车车交互、人与呼叫中心交互的信息服务系统,其服务宗旨是安全和节省。

  • 2021-06-21
  • 阅读164
  • 下载0
  • 29页
  • pdf

大数据时代“北斗”卫星导航系统发展研究

大数据时代“北斗”卫星导航系统发展研究,关系着每个人的生活

  • 2021-06-21
  • 阅读140
  • 下载0
  • 12页
  • pdf

一种工业互联网显示大屏表面除灰设备

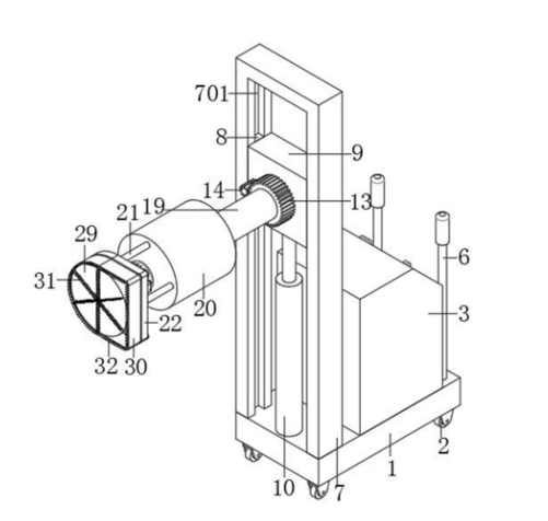
本实用新型涉及工业设备清理设备领域,具 体涉及一种工业互联网显示大屏表面除灰设备, 包括底座、固定杆和电机支架,底座底端四角处 对称设置滚轮,底座顶端中部设置控制箱,控制 箱上端右侧前后分别设置电机开关和液压杆开 关,底座顶端左侧固定安装门型支架,门型支架 前后两侧对称设限位滑槽,限位滑槽内滑动连接 限位滑块,两对称设置的限位滑块内侧端分别固 定连接固定座的前后两侧,固定座底端固定连接 液压杆的伸缩端,液压杆固定端底部固定连接在 底座顶端,固定座左侧中部设圆台型转动槽,本 实用新型通过驱动和调整结构,能够使显示屏的 清灰效果更好,清灰效率也更高,其整体结构简 单合理,操作方便,值得现市场作推广使用。

  • 2021-06-21
  • 阅读142
  • 下载0
  • 11页
  • pdf

某公司互联网接入业务营销策划方案

学生有很强的攀比心理,易受周围环境的影响,到了一定阶段学生拨号市场会顺速膨胀。现在接入商的竞争并不十分激烈,郑州联通有机会占有自己的一席之地。

  • 2021-06-21
  • 阅读190
  • 下载0
  • 55页
  • pdf

构建大数据视阈下的哲学社会科学人才评价机制

哲学社会科学人才评价机制是促进哲学社会科学创新发展的基础性工作。当前,我国哲学社会科学人才评 价机制存在着较多的现实困境。信息技术的高速发展为哲学社科人才评价产生了较大的影响,尤其是大数据有助于 提升人才评价的科学化和规范化、准确性和预测性、透明性和公平性。构建大数据背景下的哲学社会科学人才评价机 制,需要以大数据环境对社会科学人才评价的应用价值为立足点,以多元化的评价主体、客观化的评价标准、公正化的 评价程序为基本内容,重点解决好“谁来评”“评什么”“怎么评”的问题。同时,通过完善人才评价法律法规、建立人 才资源数据开放共享和一体化平台等措施,努力推动人才评价的法治化、科学化、规范化发展。

  • 2021-06-21
  • 阅读282
  • 下载0
  • 6页
  • pdf

一种基于能源互联网的工业园区售用电监控管理装置

本实用新型属于电力领域,尤其是一种基于 能源互联网的工业园区售用电监控管理装置,针 对现有的技术中存在摄像头一般是固定安装的, 所以在使用时,就会存在一定的拍摄盲区的问 题,现提出如下方案,其包括固定板,所述固定板 的底部对称固定安装有两个安装杆,且两个安装 杆上滑动连接有同一个滑杆,所述滑杆上滑动连 接有两个连杆,所述连杆的底端转动连接有转动 杆,且两个转动杆相互远离的一端分别与两个安 装杆相互靠近的一侧底部转动连接,本实用新型 通过向上推动转轴,可以实现对摄像头的固定连 接,同时在驱动马达的作用下可以带动摄像头进 行转动,以此可以实现对充电桩有效的监控,且 可以消除监控盲区,避免充电桩受到人为损坏。

  • 2021-06-21
  • 阅读138
  • 下载0
  • 8页
  • pdf
上一页 1 …… 1522515226152271522815229152301523115232152331523415235 …… 16461 下一页 共 131687 条


立即登录

没有账户,需要注册

登录用户可享受以下权益
  • 免费下载方案
  • 服币提现
  • 发布方案得服币
  • 交易分成

精品推荐

2025年车路云一体化系统云控基础平台功能场景参考架构报告2.0

汽车智能化网联化融合发展已经成为全球政府、产业界的发展共识,各国通过升级政策法规、推动测试示范、加速创新应用等方式推动智能网联汽车产业发展。2024年1月,我国启动智能网联汽车“车路云一体化”应用试点,推动车路云一体化从技术验证迈向规模化应用。

  • 阅读123
  • 下载2

2025年中国新锐品牌全球成长白皮书

过去十年,中国消费市场的高速迭代催生了一批极具活力的新锐品牌。它们凭借对消费趋 势的敏锐洞察、柔性灵活的供应链体系以及成熟的数字化运营能力,在国内细分市场中迅 速崛起,创造了一个又一个“爆款神话”。

  • 阅读105
  • 下载2

中服云多模态工业物联网平台介绍

中服云作为国内著名的专业工业物联网平台系列产品提供商,历经十余年深耕发展,已构建起成熟的全系列多层次产品体系,精准适配不同行业、不同规模用户的差异化需求。凭借在工业数据采集、边缘计算、人工智能、数字孪生等领域的深厚技术积累与持续创新,中服云已为海量工业企业提供了稳定可靠的数字化转型解决方案。平台支持云端SaaS在线部署与用户现场私有化部署两种模式,既满足中小企业轻量化、低成本的在线使用需求,也保障大型企业对数据安全、定制化服务的高标准要求。

  • 阅读114
  • 下载0

中服云工业物联网平台数字孪生版技术原理与功能介绍

中服云数字孪生平台以物联网平台+数据中台为坚实基础,以2D/3D/GIS为核心展示形式,致力于打造一个从设备原始数据到孪生应用落地的一站式数智化平台。

  • 阅读162
  • 下载5

最新上线

人工智能赋能教育高质量发展

从知识传授者到引导者:知识哪里获取、如何获取、如何应用AIGC技术使教师从传统的知识传授者转变为学习引导者,更多地关注学生的个性化学习需求。

  • 阅读24
  • 下载1

2025年度低空经济投资策略

市场担心十四五期间国内无人机采购费用增速不及预期。我们认为:无人机是未来战争关键环节,当前我国军用无人机装备处于起步阶段。我们预计十四五未期我国军用无人机采购费用有望快速增加。

  • 阅读30
  • 下载0

数字档案馆标准建设方案

XX数字档案馆项目实施的过程中,将涉及到档案馆多个职能部门、多个立档单位及参与项目建设的其他单位,档案馆应建立力量强大、耶责明晰的项目建设和管理杌构,确保项目实施过程中冬个环节之间能够有条不紊的协调工作,将项目实施风险控制在最低程度。

  • 阅读44
  • 下载0

智慧物流园区信息化趋势

区别于传统消防联网模式,在符合GB50440要求的同时,将互联网思维融入消防信息化管理,将离散在园区各个消防设施实时状态信息有效整合在统一系统上。

  • 阅读84
  • 下载0
  • 关于我们

    电话:029-8838-6725

  • 新闻资讯

    企业简介 新闻动态 品牌实力 代理合作 诚聘英才 联系我们

  • 中服云

  • 工业互联网风向标

  • 在线咨询

西安/北京/南京/重庆/合肥/厦门/甘肃 地址:陕西省西安市雁塔区鱼跃工业园慧康生物科技产业园7楼 电话: 029-8838-6725

版权所有 @ 中服云 陕ICP备11002812号
  • 扫码咨询

    或

    点击立即咨询
  • 客服咨询

  • 用手机扫二维码

    或

    复制当前地址

  • 问题反馈 中服大讲堂 客服电话

方案库赚钱指南