• 首页

  • 方案库

  • 工业品库

  • 招标项目库

  • 专家库

  • 人才库

会员中心
搜索
登录
注册
  • 方案名称

解决方案

数字化转型通用方案行业方案安全方案大数据人工智能物联网行业展望自动控制其他

产品|技术

白皮书产品介绍技术介绍技术创新模型算法

政策|规范

政策规范行动计划

电子书

电子书课件

报告|论文

报告模板论文
  • 全部
  • 人气排行
  • 下载排行
  • 页数排行
  • 最新排行

基于智能物联网的音视频处理系统

针对社会生产生活中需要处理的大量音视频等数据的问题,开发出嵌入式智能物联网处理系统.建立了以树莓派为核心与STM32辅助控制的DRTU数据终端系统.该控制系统能够实现对数据的采集,传输,显示等功能.利用树莓派接口连接无线技术模块传输大量音视频数据,通过移动基站传送到Mongodb的云数据库中.应用一系列云服务来满足物联网的功能要求,这些服务全部运行在云端的虚拟机中,因此可以随时根据流量需要进行扩充.通过工程师站主界面测试,该系统实现了所设计的音视频数据处理功能.

  • 2021-04-27
  • 阅读168
  • 下载0
  • 5页
  • pdf

楼宇管理系统及其处理方法、装置、设备

本发明实施例公开了一种楼宇管理系统及其处理方法、装置、设备,涉及楼宇智能技术领域,该楼宇管理系统的处理方法,应用于区域网关,包括:依据业务管理需求信息,确定目标区域的各业务子系统;分别依据各业务子系统的类别名称信息,选定各业务子系统的目标成员对象,并分别对各业务子系统的目标成员对象进行划分,得到各业务子系统的业务对象组;依据业务对象组的管理规则信息确定运行模式文件;将运行模式文件发送给终端控制器。本发明实施例实现了对终端控制器运行模式在应用上的动态管理和配置,解决现有楼宇管理系统中管理策略与多业务融合应用灵活性不足的问题。

  • 2021-04-27
  • 阅读288
  • 下载0
  • 25页
  • pdf

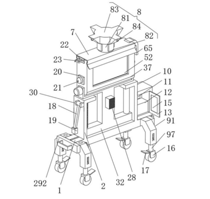
智能楼宇安全指示牌

本发明公开了智能楼宇安全指示牌,包括底板、调节组件、隔板、储存组件、紧固组件、检测组件和减震组件;底板:上侧面上固定有两个相对有的L形固定板;调节组件:包含第一电机、T形移动块、螺纹杆、限位杆、连接框架、第二电机和安装框,所述第一电机安装在底板的下侧面上,所述T形移动块的左侧边部开设有螺纹孔,所述螺纹孔的内部螺纹连接有螺纹杆,所述螺纹杆的下端连接第一电机的输出轴,所述螺纹杆的上端转动连接在左侧的L形固定板内部的下侧面上,能够在用户靠近时自动提醒用户,而且能够非常方便的对指示牌的角度和高度进行调整,并且能够很方便的更换安全指示。

  • 2021-04-27
  • 阅读207
  • 下载0
  • 15页
  • pdf

汽车衡+物联网收费模式及产品形态

本文从各类数据的产权关系,数据特征,数据服务对象和目标客户群体,论证了业务数据的大数据分析不具可行性和健康数据的大数据分析的可行性以及提供数据服务的收费水平和收费规模有限;基于上述分析和判断,本文进一步指出汽车衡+物联网的未来有价值的产品形态,是基于物联网仪表为核心和针对不同目标客户群体运用云服务或局域网技术的智能称重解决方案.

  • 2021-04-27
  • 阅读159
  • 下载0
  • 10页
  • pdf

物联网背景下智能锁具的设计策略研究

在进入物联网时代后,智能化已公认是锁具行业的发展方向之一.通过对智能锁具的市场调查,分析了目前智能锁具的功能构成及阶段性特征.通过问卷,访谈,行为观测等方式的用户调研与分析,最终,明确了智能锁具的设计方向,形成了基于"万物互联"的智能化设计趋势下的智能锁具设计策略:成为家居智能化的终端之一;重视人机交互设计原则;从产品语义学的角度更新外观设计思路;以"通用设计"的理念,实现产品的迭代需求;围绕品牌进行产品的形象设计.

  • 2021-04-27
  • 阅读153
  • 下载0
  • 5页
  • pdf

物联网电气火灾监控系统的建设与运营

电气火灾监控系统是建筑消防的一部分,对早期预防电气火灾的发生具有非常重要的作用。信息和通信技术的目标已经从任何时间、任何地点连接任何人,发展到连接任何物体的阶段,而万物的连接就形成了"物联网"。本文主要探讨如何有效合理地将移动物联技术应用到电气火灾监控系统中来,从而搭建一个完善的电气火灾监控物联网的应用系统。

  • 2021-04-27
  • 阅读168
  • 下载0
  • 12页
  • pdf

物联网,到底有什么玄机?

物联网被普遍认为是继计算机,互联网与移动通信网之后的世界信息产业的第三次浪潮.世界各国如今正大力推动物联网的发展.人们对物联网的研究正如火如茶地进行着.那么到底什么是物联网.它有哪些特点和应用等,正是本文所要探讨的.

  • 2021-04-27
  • 阅读160
  • 下载0
  • 10页
  • pdf

通过语音命令的基于位置的语音识别系统

根据本发明,其目的在于,在包括麦克风在内的多个装置通过传感器网络连接的情况下,容易地识别使用者的语音命令。掌握各装置的相对位置,通过语音命令接入的时间差异来追踪使用者的位置及方向。基于使用者的位置及方向,执行该命令的解析。这种方法作为用于传感器网络(Sensor Network)、物物通信 (Machine toMachine:M2M)、机器类型通讯 (Machine TypeCommunication:MTC)、物联网 (Internet ofThings:IoT)的方法,可以用于智能型服务(智能家庭、智能楼宇等)、数字教育、安保及安全相关服务等。

  • 2021-04-27
  • 阅读322
  • 下载0
  • 18页
  • pdf
上一页 1 …… 19841985198619871988198919901991199219931994 …… 2040 下一页 共 16314 条


立即登录

没有账户,需要注册

登录用户可享受以下权益
  • 免费下载方案
  • 服币提现
  • 发布方案得服币
  • 交易分成

精品推荐

国内重点工业物联网平台四类厂商分类及选型指南

国内重点工业物联网平台四类厂商分类及选型指南

  • 阅读179
  • 下载6

工业物联网平台的典型应用场景深度分析

工业物联网平台发展重点: 一是行业深耕化,从通用型平台向“一米宽、百米深”的行业垂直平台转型,聚焦能源、交通、化工等领域的特定需求,沉淀场景化解决方案与行业Know-how,而非追求“大而全”的覆盖能力。 二是智能融合化,工业大模型与平台深度结合,实现工业知识的智能化重构、应用开发的低代码化升级,以及生产运营的自感知、自决策、自优化闭环管控,AI成为提质增效的核心变量。 三是生态协同化,平台不再是单一技术载体,而是串联产业链上下游的协同中枢,通过跨系统数据融合、产学研用金深度合作,形成“数据-算力-应用”的生态闭环,赋能供应链协同与产业集群升级。 四是部署灵活化,采用“平台化产品+私有化部署”结合的模式,兼顾中小企业轻量化需求与大型集团定制化诉求,支持公有云、私有云、边缘端的混合部署,平衡成本与安全性。

  • 阅读231
  • 下载8

低空基础设施发展研究报告(2025)

当前,世界百年变局加速演进,新一轮科技革命和产业变革?深入发展,低空经济作为新质生产力的重要组成部分,正以前瞻?性、引领性姿态加速崛起,成为推动经济结构优化升级、塑造高?质量发展新动能的关键领域。

  • 阅读390
  • 下载1

华为数字化转型之道

首先从华为的视角总结了企业对于数字化转型的应有的共识,以及从战略角度阐述了华为为何推行数字化转型,然后给出了华为数字化转型的整体框架(方法论),以及企业数字化转型成熟度评估的方法,帮助读者在厘清华为开展数字化转型工作的整体脉络的同时,能快速对自身的数字化水平进行自检,

  • 阅读463
  • 下载4

最新上线

全球数字治理蓝皮书(2025)

全球数字治理蓝皮书(2025)全球数字治理蓝皮书(2025)全球数字治理蓝皮书(2025)全球数字治理蓝皮书(2025)全球数字治理蓝皮书(2025)全球数字治理蓝皮书(2025)

  • 阅读33
  • 下载0

人工智能赋能应用实践指南

当前,人类正处在新一轮科技革命和产业变革的历史关口,人工智能正以前所未有的速度重塑世界,为千行万业注入新动能。从工业制造的智能产线到农业生产的精准种植,从金融服务的智能风控到医疗健康的远程诊断,人工智能推动着生产效率的跃升与产业形态的迭代。正如《指南》所展望的那样,未来,随着网络通信、前沿算法、存储算力等多元技术的深度融合,以及海量数据与前沿知识的双重加持,人工智能将彻底突破单一技术工具的局限,蜕变为贯穿千行万业生产链条的关键枢纽,融入千家万户的日常起居,成为人类社会高效运转不可或缺的底层支撑。

  • 阅读31
  • 下载0

新能源场站无人值班建设方案

新能源场站无人值班建设方案新能源场站无人值班建设方案新能源场站无人值班建设方案新能源场站无人值班建设方案新能源场站无人值班建设方案新能源场站无人值班建设方案

  • 阅读38
  • 下载1

零碳工厂建设与热能高效利用一事一议破局“零碳”技术路线

零碳工厂建设与热能高效利用一事一议破局“零碳”技术路线零碳工厂建设与热能高效利用一事一议破局“零碳”技术路线零碳工厂建设与热能高效利用一事一议破局“零碳”技术路线零碳工厂建设与热能高效利用一事一议破局“零碳”技术路线

  • 阅读39
  • 下载0
  • 关于我们

    电话:029-8838-6725

  • 新闻资讯

    企业简介 新闻动态 品牌实力 代理合作 诚聘英才 联系我们

  • 中服云

  • 工业互联网风向标

  • 在线咨询

西安/北京/南京/重庆/合肥/厦门/甘肃 地址:陕西省西安市雁塔区鱼跃工业园慧康生物科技产业园7楼 电话: 029-8838-6725

版权所有 @ 中服云 陕ICP备11002812号
  • 扫码咨询

    或

    点击立即咨询
  • 客服咨询

  • 用手机扫二维码

    或

    复制当前地址

  • 问题反馈 中服大讲堂 客服电话

方案库赚钱指南