• 首页

  • 方案库

  • 工业品库

  • 招标项目库

  • 专家库

  • 人才库

会员中心
搜索
登录
注册
  • 方案名称

解决方案

数字化转型通用方案行业方案安全方案大数据人工智能物联网行业展望自动控制其他

产品|技术

白皮书产品介绍技术介绍技术创新模型算法

政策|规范

政策规范行动计划

电子书

电子书课件

报告|论文

报告模板论文
  • 全部
  • 人气排行
  • 下载排行
  • 页数排行
  • 最新排行

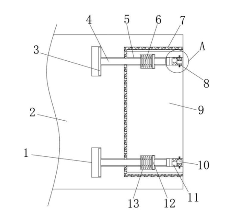
智能楼宇的逃生结构

本发明公开了智能楼宇的逃生结构,包括墙体、载框组件、提升组件和传动组件;墙体:中部设有逃生窗口,所述墙体上设有制动组件,且墙体的内侧面设有启闭组件和喷淋组件;载框组件:包括固定杆、导轨、滑块、篮框、支架、支座、滑轮和钢丝绳,所述固定杆对称设有两组,且两组固定杆均匀固定连接在墙体的侧面,两组固定杆关于逃生窗口的中轴线对称,所述导轨对称设有两个,且两个导轨对称固定连接在两侧的固定杆上,所述滑块对称设有两个且分别滑动连接在两侧的导轨内,本智能楼宇的逃生结构在发生火灾时,可将楼内人员快速送至地面,使其安全逃生,保障了人员的生命安全,实用性较强。

  • 2021-04-27
  • 阅读197
  • 下载0
  • 11页
  • pdf

楼宇公共空间采光调节系统

本实用新型涉及室内智能设备的技术领域,尤其是涉及楼宇公共空间采光调节系统,其包括窗帘本体,以及安装窗帘本体的墙面,墙面上安装有带动窗帘本体收放的第一转轴,第一转轴的一端连接有第一电机,调节系统还包括控制窗帘本体升降的控制系统,所述控制系统安装在墙面上,控制系统包括与第一电机连接的控制器、与控制器连接的用于测量室内光强的光敏电阻传感器以及与控制器连接的测距装置,控制器用于控制第一电机的启停以及正反转,测距装置用于测量窗帘本体底端与窗台或者地面之间的距离。本实用新型具有根据光照的强弱对窗帘的升降进行调节的效果。

  • 2021-04-27
  • 阅读190
  • 下载0
  • 14页
  • pdf

一种多工用编织型电线

本实用新型公开了一种多工用编织型电线,包括两个线芯,所述线芯外表面均固定连接有保护层,所述保护层远离线芯的一侧均固定连接有强化层,所述强化层远离线芯的一侧均设置有辅助芯,所述辅助芯外表面均设置有收缩层,所述收缩层远离强化层的一侧均固定连接有纺织层,所述纺织层远离收缩层的一侧均固定连接有填充层,所述填充层相互靠近的一侧固定连接有隔离层,所述填充层外表面固定连接有绝缘套,所述绝缘套远离填充层的一侧固定连接有防护外套,本实用新型涉及电线技术领域。该装置可有效的进行分流控制,并通过线芯相互编织从而强化电线,有效的保证电流流动顺畅性,并且强化编织,有效的保持电线的使用寿命。

  • 2021-04-27
  • 阅读200
  • 下载0
  • 7页
  • pdf

一种玻璃幕墙综合管理平台

本发明公开了一种玻璃幕墙综合管理平台,包括:角色管理模块,所述角色管理模块提供不同角色的基础操作页面;数据导入模块,所述数据导入模块建立多维数据仓库,从多方面采集历年楼宇建造数据、更新数据、隐患数据、自查数据、巡查结果数据、整改数据、事故发生的数据入库;并构建出玻璃幕墙的风险指数;信息接收模块,所述信息接收模块通过外部输入设备输入玻璃幕墙的所有信息,该所有信息均通过标准格式文件存储于后台数据服务器;智能算法模块,所述智能算法模块通过深度学习,推算出可能存在的玻璃幕墙隐患点,并进行推送展示;若干显示模块,所述显示模块用于显示系统前端以及后端的相关数据信息。本发明提升智能风险识别和推送精准度。

  • 2021-04-27
  • 阅读220
  • 下载0
  • 14页
  • pdf

智能楼宇信息监控方法及系统

本发明提供一种智能楼宇信息监控方法及系统,通过从相同采集位置且设定的采集任务相关联的至少两个楼宇信息采集节点中分别获得对应的楼宇信息采集行为的采集行为特征,然后对任意两个采集行为特征进行特征之间的关联性分析,得到该任意两个采集行为特征之间的特征关联信息,从而根据所有任意两个采集行为特征之间的特征关联信息确定采集任务的监控调整策略。如此,本发明针对楼宇信息采集节点的联动采集过程采集行为的监控,从而能够便于后续确定下发的采集任务在实际联动采集过程中是否能够达到预期合理的效果,并可以通过采集行为特征之间的特征关联信息针对性地针对采集任务进行调整,提高联动采集过程的可靠性。

  • 2021-04-27
  • 阅读176
  • 下载0
  • 30页
  • pdf

模型和数据驱动的暖通空调最优设定温度获取方法及设备

本发明涉及一种模型和数据驱动的暖通空调最优设定温度获取方法及设备,包括以下步骤:结合楼宇物理仿真模型和基于ANN的数据驱动,构建楼宇HVAC动态特性模型;以所述楼宇HVAC动态特性模型作为约束,构建考虑能耗和人员舒适度的设定温度优化模型,采用群体智能算法求解获得暖通空调最优设定温度。与现有技术相比,本发明具有准确度高、方便可靠等优点。

  • 2021-04-27
  • 阅读224
  • 下载0
  • 15页
  • pdf

一种新型智能建筑用楼宇对讲装置

本实用新型属于智慧建筑用对讲装置技术领域,具体涉及一种新型智能建筑用楼宇对讲装置,包括L形安装座和对讲机,L形安装座上侧设有外壳,外壳下侧对称设有横板,两个横板均固定连接有套杆,两个套杆共同滑动装配有一个连接板,连接板下侧设有与对讲机相匹配的保护罩,两个套杆均套设有第一回位弹簧,两个横板与连接板之间均设有压缩气囊,连接板左右两侧均设有与两个压缩气囊连接的第一气道,保护罩内设有与两个第一气道相连通的第二气道,连接板朝向外壳一端设有限位组件,外壳上侧设有与锁销相匹配的锁孔,锁孔处设有与限位组件相匹配的复位组件,本实用新型能够有效的对对讲机进行保护,并且还能够防止对讲机时用户手部受污。

  • 2021-04-27
  • 阅读191
  • 下载0
  • 12页
  • pdf

智能楼宇设备防盗监控器

本发明公开了智能楼宇设备防盗监控器,包括底板、安装板、防盗安装单元和防盗报警单元;底板:上表面的中部与转动座下表面的左侧转动连接,所述转动座内前后侧面的中部与摄像头前后侧面的中部转动连接,所述底板的左侧面与防盗壳右侧面的下侧固定连接;安装板:右侧面的中部与安装壳的左侧面固定连接;防盗安装单元:包括卡块、伸缩杆、限位块和弹簧,所述卡块设有两个,两个卡块分别设在防盗壳内前后侧面的左侧,所述弹簧的两端与两个限位块相对侧面的中部固定连接,本智能楼宇设备防盗监控器,可将安装部位进行密封,防止监控器被直接拆下盗取,并且可在拆下时进行报警,提醒人们,提高监控器的防盗能力。

  • 2021-04-27
  • 阅读200
  • 下载0
  • 12页
  • pdf
上一页 1 …… 27012702270327042705270627072708270927102711 …… 2878 下一页 共 23017 条


立即登录

没有账户,需要注册

登录用户可享受以下权益
  • 免费下载方案
  • 服币提现
  • 发布方案得服币
  • 交易分成

精品推荐

国内重点工业物联网平台四类厂商分类及选型指南

国内重点工业物联网平台四类厂商分类及选型指南

  • 阅读71
  • 下载4

工业物联网平台的典型应用场景深度分析

工业物联网平台发展重点: 一是行业深耕化,从通用型平台向“一米宽、百米深”的行业垂直平台转型,聚焦能源、交通、化工等领域的特定需求,沉淀场景化解决方案与行业Know-how,而非追求“大而全”的覆盖能力。 二是智能融合化,工业大模型与平台深度结合,实现工业知识的智能化重构、应用开发的低代码化升级,以及生产运营的自感知、自决策、自优化闭环管控,AI成为提质增效的核心变量。 三是生态协同化,平台不再是单一技术载体,而是串联产业链上下游的协同中枢,通过跨系统数据融合、产学研用金深度合作,形成“数据-算力-应用”的生态闭环,赋能供应链协同与产业集群升级。 四是部署灵活化,采用“平台化产品+私有化部署”结合的模式,兼顾中小企业轻量化需求与大型集团定制化诉求,支持公有云、私有云、边缘端的混合部署,平衡成本与安全性。

  • 阅读147
  • 下载7

低空基础设施发展研究报告(2025)

当前,世界百年变局加速演进,新一轮科技革命和产业变革?深入发展,低空经济作为新质生产力的重要组成部分,正以前瞻?性、引领性姿态加速崛起,成为推动经济结构优化升级、塑造高?质量发展新动能的关键领域。

  • 阅读311
  • 下载1

华为数字化转型之道

首先从华为的视角总结了企业对于数字化转型的应有的共识,以及从战略角度阐述了华为为何推行数字化转型,然后给出了华为数字化转型的整体框架(方法论),以及企业数字化转型成熟度评估的方法,帮助读者在厘清华为开展数字化转型工作的整体脉络的同时,能快速对自身的数字化水平进行自检,

  • 阅读389
  • 下载4

最新上线

算力互联网体系架构研究报告

算力互联网的发展和演进是一个持续不断的过程,编制组将密切关注国内外算力互联网的发展动态,积极听取产业界的意见与建议,不断完善和优化算力互联网体系架构的研究内容,适时修订并发布报告的新版本,以更好地推动算力互联网发展。

  • 阅读20
  • 下载0

数据智能服务产业发展研究报告

为更好地推动数据智能服务产业发展,本报告从数据智能服务产业定义、要素、载体、产业链、创新模式等方面开展研究工作。第一部分数据智能服务产业概念界定、内涵特征以及全球趋势;第二部分分析数据智能服务产业的核心关键要素;第三部分阐述数据智能服务产业链结构以及产业生态图谱;第四部分阐述数据智能服务的产业载体,第五部分总结了数据智能服务产业的创新模式,最后根据上述研究,从技术、应用、产业、安全等四个方面分析趋势,为我国数据智能服务产业发展提供参考。

  • 阅读22
  • 下载0

人工智能算法与应用场景介绍

通过深度学习嵌入算法可以对离散序列数据一自然语言文本进行计算分析。 主要应用方向是文本信息抽取,包括文本分类、关键实体识别、实体之间关系识别以及事件识别。

  • 阅读20
  • 下载0

医共体信息化整体解决方案

利用人与大数据技术,结合专业的中医疾病、证候/治则知识库、疾病知识图谱等,研发了医用智能处方椎荐系统。它能够无缝植入到医院现有的HIS和医生工作中,不改变医生工作流程,输入患者信息、证候、主诉等信息智能推荐方剂和备用饮片药,医生进行加减化裁即可成方,节省医生诊疗时间,提高工作效率。

  • 阅读20
  • 下载0
  • 关于我们

    电话:029-8838-6725

  • 新闻资讯

    企业简介 新闻动态 品牌实力 代理合作 诚聘英才 联系我们

  • 中服云

  • 工业互联网风向标

  • 在线咨询

西安/北京/南京/重庆/合肥/厦门/甘肃 地址:陕西省西安市雁塔区鱼跃工业园慧康生物科技产业园7楼 电话: 029-8838-6725

版权所有 @ 中服云 陕ICP备11002812号
  • 扫码咨询

    或

    点击立即咨询
  • 客服咨询

  • 用手机扫二维码

    或

    复制当前地址

  • 问题反馈 中服大讲堂 客服电话

方案库赚钱指南