• 首页

  • 方案库

  • 工业品库

  • 招标项目库

  • 专家库

  • 人才库

会员中心
搜索
登录
注册
  • 方案名称

解决方案

数字化转型通用方案行业方案安全方案大数据人工智能物联网行业展望自动控制其他

产品|技术

白皮书产品介绍技术介绍技术创新模型算法

政策|规范

政策规范行动计划

电子书

电子书课件

报告|论文

报告模板论文
  • 全部
  • 人气排行
  • 下载排行
  • 页数排行
  • 最新排行

智能楼宇设备防盗监控器

本发明公开了智能楼宇设备防盗监控器,包括底板、安装板、防盗安装单元和防盗报警单元;底板:上表面的中部与转动座下表面的左侧转动连接,所述转动座内前后侧面的中部与摄像头前后侧面的中部转动连接,所述底板的左侧面与防盗壳右侧面的下侧固定连接;安装板:右侧面的中部与安装壳的左侧面固定连接;防盗安装单元:包括卡块、伸缩杆、限位块和弹簧,所述卡块设有两个,两个卡块分别设在防盗壳内前后侧面的左侧,所述弹簧的两端与两个限位块相对侧面的中部固定连接,本智能楼宇设备防盗监控器,可将安装部位进行密封,防止监控器被直接拆下盗取,并且可在拆下时进行报警,提醒人们,提高监控器的防盗能力。

  • 2021-04-27
  • 阅读187
  • 下载0
  • 12页
  • pdf

一种智能楼宇——高层楼宇水箱储水问题解决方法

本发明公开了一种智能楼宇,包括楼体,楼体的底层设有供水室,楼体的高层中设有若干个储水室,供水室中设有供水系统,储水室中设有水箱系统,所述供水系统包括稳流罐、稳压罐和水泵,所述稳流罐的顶部设有进水管,稳流罐的底部设有出水管,进水管与市政供水管路连接,出水管与水箱系统连接,出水管上设有一稳压罐,位于稳流罐与稳压罐之间的出水管上设有水泵,所述水箱系统包括一储水箱、一污水箱和一排污阀,所述污水箱内设有一气囊,所述储水箱的底部设有一排污机构。本发明提供了一种智能楼宇,包含了楼宇内的供水系统和水箱系统,能够将高层楼宇中水箱内的储水进行排污处理,保障水质,且在遇火灾时,能够将污水二次利用,节省水资源。

  • 2021-04-27
  • 阅读186
  • 下载0
  • 19页
  • pdf

希亚思课堂智能评测系统的应用介绍

2017年7月20日,国务院印发了《新一代人工智能发展规划》。规划中明确指出:“人工智能在教育等领域广泛应用,将极大提高公共服务精准化水平,全面提升人民生活品质。”在众多的人工智能技术中,我们选用了新颖的、基于心理学理论依据的生物识别人工智能技——微表情识别AI,研究开发出了国内唯一拥有独立计算机软件著作权(软著登字第2595372号)的希亚思课堂智能评测系统。

  • 2021-04-27
  • 阅读332
  • 下载0
  • 17页
  • pdf

具有节能照明功能的智能楼宇

本发明公开了具有节能照明功能的智能楼宇,包括楼宇本体、转动单元和落叶清理单元;楼宇本体:上表面与斜屋顶的下表面固定连接,所述斜屋顶的上表面的左右两侧与安装座两端的下表面固定连接,所述楼宇本体内的顶部设有四个LED照明灯;转动单元:包括太阳能电池板、转动电机、皮带轮、转盘和皮带,所述皮带轮设有两个,两个皮带轮分别与斜楼顶上表面的左右两侧转动连接,两个皮带轮之间通过皮带连接,所述转盘下表面的中部与左侧的皮带轮的上表面固定连接,本具有节能照明功能的智能楼宇,可提高太阳能电池板的发电效率,能快速的为楼宇补充纯净的电能节约能源,并且可及时将楼顶的树叶进行清理。

  • 2021-04-27
  • 阅读177
  • 下载0
  • 12页
  • pdf

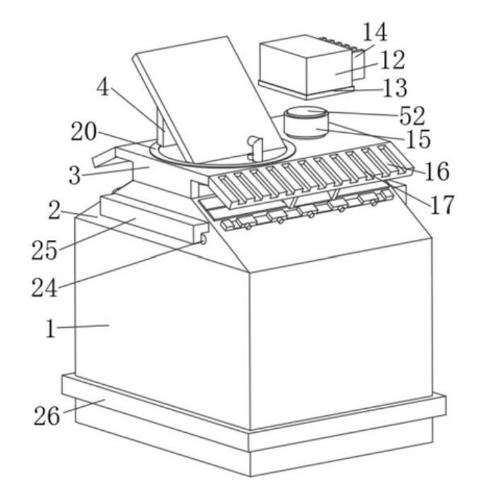
一种智能楼宇安防监控装置

本申请涉及一种智能楼宇安防监控装置,包括固定墙板、滑杆、滑杆安装机构、安装块、探头本体,所述固定墙板固定连接在墙体上,所述滑杆一端铰接在固定墙板远离墙体的一侧,所述滑杆另一端铰接在滑杆安装机构上,所述滑杆安装机构固定连接在安装块靠近固定墙板的端面上,所述安装块远离滑杆一端开设有第二滑槽,所述探头本体靠近安装块一端固定连接有连接杆,所述连接杆远离探头本体一端固定连接有第二滑块,所述第二滑块滑动连接于第二滑槽,所述安装块远离滑杆一侧固定连接有抵接于第二滑块以用于限制第二滑块位置的密封块。本申请具有方便调节监控角度的效果。

  • 2021-04-27
  • 阅读172
  • 下载0
  • 17页
  • pdf

一种智能楼宇触发分贝可调的声控开关

本实用新型公开了一种智能楼宇触发分贝可调的声控开关,涉及开关装置领域,针对现有的声控开关因触发音量大小并非完全适用且不可自行调整,从而导致出现轻微响动就会触发开关或需要用力发出声响才能启动的问题,现提出如下方案,其包括外壳,所述外壳内安装有定位装置,且所述定位装置包括滑座、线圈和磁铁,所述定位装置的内部套接有遮蔽装置,且所述遮蔽装置包括挡板、外套环和内套环,所述外壳的内部开设有腔体,且所述滑座和线圈均位于腔体内,所述外壳的一端开设有圆孔,且所述圆孔贯穿于外壳的侧壁与腔体连通。本实用新型结构新颖,且该装置结构简单、操作便捷且简单有效,同时降低了研发成本。

  • 2021-04-27
  • 阅读198
  • 下载0
  • 8页
  • pdf

一种基于人工智能的物联网智能中控系统及控制方法

本申请涉及一种基于人工智能的物联网智能中控系统及控制方法,涉及楼宇照明技术领域,解决了照明灯的光亮程度调节为固定设置,不同的住户对光亮程度有不同的需求,无法满足大部分住户的需求的问题,其包括:获取当前所处时间段;确定符合更多人意愿的灯光亮度;定时发送灯光亮度情况给到楼层单元号负责人;获取楼层单元号负责人对灯光亮度的调节需求信息;若未接收到楼层单元号负责人对灯光亮度的调节需求信息,则楼层楼道的照明灯基于符合更多人意愿的灯光亮度作调节;反之,楼层灯光基于楼层单元号负责人所发送的调节需求信息作相应调节。本申请具有改善存在有楼层的照明灯光亮强度无法满足大部分住户需求的缺陷的效果。

  • 2021-04-27
  • 阅读184
  • 下载0
  • 15页
  • pdf

智能楼宇泛前台服务系统

本发明公开了泛前台服务系统,包括通行记录模块、监控模块、客户关怀日历模块、访客接待提醒模块、客户问候提醒模块;所述通行记录模块用于将通行数据,与前台终端设备实现数据通信,实时展示出通行者的姓名,公司信息;所述监控模块为安装办公楼内的摄像头,用于通过调用摄像头视频流地址,获取摄像头实时捕捉的视频影像,并在前台终端设备播放;所述客户关怀日历模块用于通过调用人员数据库的数据,在日历展现时计算标记出每天的过生日人员,入驻周年企业;该系统以物联网实现楼宇摄像头,楼宇人员管理后台,前台智能设备的互联互通,进而利用视频模式识别技术,面部特征比对技术作为基础功能性支撑,可以在接待和客服方面实现各种功能。

  • 2021-04-27
  • 阅读192
  • 下载0
  • 12页
  • pdf
上一页 1 …… 27002701270227032704270527062707270827092710 …… 2876 下一页 共 23002 条


立即登录

没有账户,需要注册

登录用户可享受以下权益
  • 免费下载方案
  • 服币提现
  • 发布方案得服币
  • 交易分成

精品推荐

2025年车路云一体化系统云控基础平台功能场景参考架构报告2.0

汽车智能化网联化融合发展已经成为全球政府、产业界的发展共识,各国通过升级政策法规、推动测试示范、加速创新应用等方式推动智能网联汽车产业发展。2024年1月,我国启动智能网联汽车“车路云一体化”应用试点,推动车路云一体化从技术验证迈向规模化应用。

  • 阅读123
  • 下载2

2025年中国新锐品牌全球成长白皮书

过去十年,中国消费市场的高速迭代催生了一批极具活力的新锐品牌。它们凭借对消费趋 势的敏锐洞察、柔性灵活的供应链体系以及成熟的数字化运营能力,在国内细分市场中迅 速崛起,创造了一个又一个“爆款神话”。

  • 阅读105
  • 下载2

中服云多模态工业物联网平台介绍

中服云作为国内著名的专业工业物联网平台系列产品提供商,历经十余年深耕发展,已构建起成熟的全系列多层次产品体系,精准适配不同行业、不同规模用户的差异化需求。凭借在工业数据采集、边缘计算、人工智能、数字孪生等领域的深厚技术积累与持续创新,中服云已为海量工业企业提供了稳定可靠的数字化转型解决方案。平台支持云端SaaS在线部署与用户现场私有化部署两种模式,既满足中小企业轻量化、低成本的在线使用需求,也保障大型企业对数据安全、定制化服务的高标准要求。

  • 阅读114
  • 下载0

中服云工业物联网平台数字孪生版技术原理与功能介绍

中服云数字孪生平台以物联网平台+数据中台为坚实基础,以2D/3D/GIS为核心展示形式,致力于打造一个从设备原始数据到孪生应用落地的一站式数智化平台。

  • 阅读162
  • 下载5

最新上线

人工智能赋能教育高质量发展

从知识传授者到引导者:知识哪里获取、如何获取、如何应用AIGC技术使教师从传统的知识传授者转变为学习引导者,更多地关注学生的个性化学习需求。

  • 阅读24
  • 下载1

2025年度低空经济投资策略

市场担心十四五期间国内无人机采购费用增速不及预期。我们认为:无人机是未来战争关键环节,当前我国军用无人机装备处于起步阶段。我们预计十四五未期我国军用无人机采购费用有望快速增加。

  • 阅读30
  • 下载0

数字档案馆标准建设方案

XX数字档案馆项目实施的过程中,将涉及到档案馆多个职能部门、多个立档单位及参与项目建设的其他单位,档案馆应建立力量强大、耶责明晰的项目建设和管理杌构,确保项目实施过程中冬个环节之间能够有条不紊的协调工作,将项目实施风险控制在最低程度。

  • 阅读43
  • 下载0

智慧物流园区信息化趋势

区别于传统消防联网模式,在符合GB50440要求的同时,将互联网思维融入消防信息化管理,将离散在园区各个消防设施实时状态信息有效整合在统一系统上。

  • 阅读84
  • 下载0
  • 关于我们

    电话:029-8838-6725

  • 新闻资讯

    企业简介 新闻动态 品牌实力 代理合作 诚聘英才 联系我们

  • 中服云

  • 工业互联网风向标

  • 在线咨询

西安/北京/南京/重庆/合肥/厦门/甘肃 地址:陕西省西安市雁塔区鱼跃工业园慧康生物科技产业园7楼 电话: 029-8838-6725

版权所有 @ 中服云 陕ICP备11002812号
  • 扫码咨询

    或

    点击立即咨询
  • 客服咨询

  • 用手机扫二维码

    或

    复制当前地址

  • 问题反馈 中服大讲堂 客服电话

方案库赚钱指南