• 首页

  • 方案库

  • 工业品库

  • 招标项目库

  • 专家库

  • 人才库

会员中心
搜索
登录
注册
  • 方案名称

解决方案

数字化转型通用方案行业方案安全方案大数据人工智能物联网行业展望自动控制其他

产品|技术

白皮书产品介绍技术介绍技术创新模型算法

政策|规范

政策规范行动计划

电子书

电子书课件

报告|论文

报告模板论文
  • 全部
  • 人气排行
  • 下载排行
  • 页数排行
  • 最新排行

基于云平台的智能楼宇信息监控方法及智能楼宇系统

本发明提供一种基于云平台的智能楼宇信息监控方法及智能楼宇系统,通过从相同采集位置且设定的采集任务相关联的至少两个楼宇信息采集节点中分别获得对应的楼宇信息采集行为的采集行为特征,然后对任意两个采集行为特征进行特征之间的关联性分析,得到该任意两个采集行为特征之间的特征关联信息,从而根据所有任意两个采集行为特征之间的特征关联信息确定采集任务的监控调整策略。如此,本发明针对楼宇信息采集节点的联动采集过程采集行为的监控,从而能够便于后续确定下发的采集任务在实际联动采集过程中是否能够达到预期合理的效果,并可以通过采集行为特征之间的特征关联信息针对性地针对采集任务进行调整,提高联动采集过程的可靠性。

  • 2021-04-27
  • 阅读183
  • 下载0
  • 26页
  • pdf

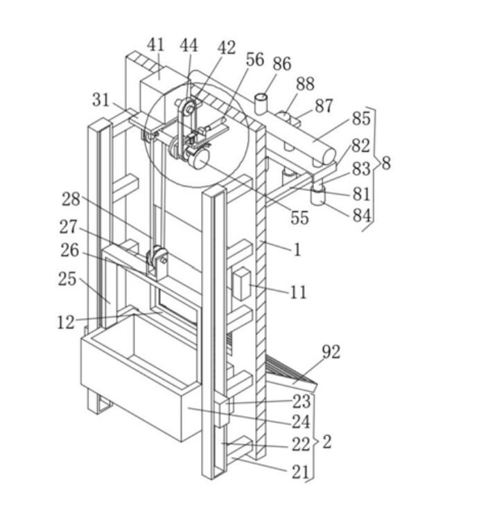
智能楼宇的逃生结构

本发明公开了智能楼宇的逃生结构,包括墙体、载框组件、提升组件和传动组件;墙体:中部设有逃生窗口,所述墙体上设有制动组件,且墙体的内侧面设有启闭组件和喷淋组件;载框组件:包括固定杆、导轨、滑块、篮框、支架、支座、滑轮和钢丝绳,所述固定杆对称设有两组,且两组固定杆均匀固定连接在墙体的侧面,两组固定杆关于逃生窗口的中轴线对称,所述导轨对称设有两个,且两个导轨对称固定连接在两侧的固定杆上,所述滑块对称设有两个且分别滑动连接在两侧的导轨内,本智能楼宇的逃生结构在发生火灾时,可将楼内人员快速送至地面,使其安全逃生,保障了人员的生命安全,实用性较强。

  • 2021-04-27
  • 阅读189
  • 下载0
  • 11页
  • pdf

楼宇公共空间采光调节系统

本实用新型涉及室内智能设备的技术领域,尤其是涉及楼宇公共空间采光调节系统,其包括窗帘本体,以及安装窗帘本体的墙面,墙面上安装有带动窗帘本体收放的第一转轴,第一转轴的一端连接有第一电机,调节系统还包括控制窗帘本体升降的控制系统,所述控制系统安装在墙面上,控制系统包括与第一电机连接的控制器、与控制器连接的用于测量室内光强的光敏电阻传感器以及与控制器连接的测距装置,控制器用于控制第一电机的启停以及正反转,测距装置用于测量窗帘本体底端与窗台或者地面之间的距离。本实用新型具有根据光照的强弱对窗帘的升降进行调节的效果。

  • 2021-04-27
  • 阅读181
  • 下载0
  • 14页
  • pdf

一种多工用编织型电线

本实用新型公开了一种多工用编织型电线,包括两个线芯,所述线芯外表面均固定连接有保护层,所述保护层远离线芯的一侧均固定连接有强化层,所述强化层远离线芯的一侧均设置有辅助芯,所述辅助芯外表面均设置有收缩层,所述收缩层远离强化层的一侧均固定连接有纺织层,所述纺织层远离收缩层的一侧均固定连接有填充层,所述填充层相互靠近的一侧固定连接有隔离层,所述填充层外表面固定连接有绝缘套,所述绝缘套远离填充层的一侧固定连接有防护外套,本实用新型涉及电线技术领域。该装置可有效的进行分流控制,并通过线芯相互编织从而强化电线,有效的保证电流流动顺畅性,并且强化编织,有效的保持电线的使用寿命。

  • 2021-04-27
  • 阅读183
  • 下载0
  • 7页
  • pdf

一种玻璃幕墙综合管理平台

本发明公开了一种玻璃幕墙综合管理平台,包括:角色管理模块,所述角色管理模块提供不同角色的基础操作页面;数据导入模块,所述数据导入模块建立多维数据仓库,从多方面采集历年楼宇建造数据、更新数据、隐患数据、自查数据、巡查结果数据、整改数据、事故发生的数据入库;并构建出玻璃幕墙的风险指数;信息接收模块,所述信息接收模块通过外部输入设备输入玻璃幕墙的所有信息,该所有信息均通过标准格式文件存储于后台数据服务器;智能算法模块,所述智能算法模块通过深度学习,推算出可能存在的玻璃幕墙隐患点,并进行推送展示;若干显示模块,所述显示模块用于显示系统前端以及后端的相关数据信息。本发明提升智能风险识别和推送精准度。

  • 2021-04-27
  • 阅读204
  • 下载0
  • 14页
  • pdf

智能楼宇信息监控方法及系统

本发明提供一种智能楼宇信息监控方法及系统,通过从相同采集位置且设定的采集任务相关联的至少两个楼宇信息采集节点中分别获得对应的楼宇信息采集行为的采集行为特征,然后对任意两个采集行为特征进行特征之间的关联性分析,得到该任意两个采集行为特征之间的特征关联信息,从而根据所有任意两个采集行为特征之间的特征关联信息确定采集任务的监控调整策略。如此,本发明针对楼宇信息采集节点的联动采集过程采集行为的监控,从而能够便于后续确定下发的采集任务在实际联动采集过程中是否能够达到预期合理的效果,并可以通过采集行为特征之间的特征关联信息针对性地针对采集任务进行调整,提高联动采集过程的可靠性。

  • 2021-04-27
  • 阅读165
  • 下载0
  • 30页
  • pdf

模型和数据驱动的暖通空调最优设定温度获取方法及设备

本发明涉及一种模型和数据驱动的暖通空调最优设定温度获取方法及设备,包括以下步骤:结合楼宇物理仿真模型和基于ANN的数据驱动,构建楼宇HVAC动态特性模型;以所述楼宇HVAC动态特性模型作为约束,构建考虑能耗和人员舒适度的设定温度优化模型,采用群体智能算法求解获得暖通空调最优设定温度。与现有技术相比,本发明具有准确度高、方便可靠等优点。

  • 2021-04-27
  • 阅读214
  • 下载0
  • 15页
  • pdf

一种新型智能建筑用楼宇对讲装置

本实用新型属于智慧建筑用对讲装置技术领域,具体涉及一种新型智能建筑用楼宇对讲装置,包括L形安装座和对讲机,L形安装座上侧设有外壳,外壳下侧对称设有横板,两个横板均固定连接有套杆,两个套杆共同滑动装配有一个连接板,连接板下侧设有与对讲机相匹配的保护罩,两个套杆均套设有第一回位弹簧,两个横板与连接板之间均设有压缩气囊,连接板左右两侧均设有与两个压缩气囊连接的第一气道,保护罩内设有与两个第一气道相连通的第二气道,连接板朝向外壳一端设有限位组件,外壳上侧设有与锁销相匹配的锁孔,锁孔处设有与限位组件相匹配的复位组件,本实用新型能够有效的对对讲机进行保护,并且还能够防止对讲机时用户手部受污。

  • 2021-04-27
  • 阅读175
  • 下载0
  • 12页
  • pdf
上一页 1 …… 26992700270127022703270427052706270727082709 …… 2876 下一页 共 23002 条


立即登录

没有账户,需要注册

登录用户可享受以下权益
  • 免费下载方案
  • 服币提现
  • 发布方案得服币
  • 交易分成

精品推荐

2025年车路云一体化系统云控基础平台功能场景参考架构报告2.0

汽车智能化网联化融合发展已经成为全球政府、产业界的发展共识,各国通过升级政策法规、推动测试示范、加速创新应用等方式推动智能网联汽车产业发展。2024年1月,我国启动智能网联汽车“车路云一体化”应用试点,推动车路云一体化从技术验证迈向规模化应用。

  • 阅读123
  • 下载2

2025年中国新锐品牌全球成长白皮书

过去十年,中国消费市场的高速迭代催生了一批极具活力的新锐品牌。它们凭借对消费趋 势的敏锐洞察、柔性灵活的供应链体系以及成熟的数字化运营能力,在国内细分市场中迅 速崛起,创造了一个又一个“爆款神话”。

  • 阅读105
  • 下载2

中服云多模态工业物联网平台介绍

中服云作为国内著名的专业工业物联网平台系列产品提供商,历经十余年深耕发展,已构建起成熟的全系列多层次产品体系,精准适配不同行业、不同规模用户的差异化需求。凭借在工业数据采集、边缘计算、人工智能、数字孪生等领域的深厚技术积累与持续创新,中服云已为海量工业企业提供了稳定可靠的数字化转型解决方案。平台支持云端SaaS在线部署与用户现场私有化部署两种模式,既满足中小企业轻量化、低成本的在线使用需求,也保障大型企业对数据安全、定制化服务的高标准要求。

  • 阅读114
  • 下载0

中服云工业物联网平台数字孪生版技术原理与功能介绍

中服云数字孪生平台以物联网平台+数据中台为坚实基础,以2D/3D/GIS为核心展示形式,致力于打造一个从设备原始数据到孪生应用落地的一站式数智化平台。

  • 阅读162
  • 下载5

最新上线

人工智能赋能教育高质量发展

从知识传授者到引导者:知识哪里获取、如何获取、如何应用AIGC技术使教师从传统的知识传授者转变为学习引导者,更多地关注学生的个性化学习需求。

  • 阅读24
  • 下载1

2025年度低空经济投资策略

市场担心十四五期间国内无人机采购费用增速不及预期。我们认为:无人机是未来战争关键环节,当前我国军用无人机装备处于起步阶段。我们预计十四五未期我国军用无人机采购费用有望快速增加。

  • 阅读30
  • 下载0

数字档案馆标准建设方案

XX数字档案馆项目实施的过程中,将涉及到档案馆多个职能部门、多个立档单位及参与项目建设的其他单位,档案馆应建立力量强大、耶责明晰的项目建设和管理杌构,确保项目实施过程中冬个环节之间能够有条不紊的协调工作,将项目实施风险控制在最低程度。

  • 阅读43
  • 下载0

智慧物流园区信息化趋势

区别于传统消防联网模式,在符合GB50440要求的同时,将互联网思维融入消防信息化管理,将离散在园区各个消防设施实时状态信息有效整合在统一系统上。

  • 阅读84
  • 下载0
  • 关于我们

    电话:029-8838-6725

  • 新闻资讯

    企业简介 新闻动态 品牌实力 代理合作 诚聘英才 联系我们

  • 中服云

  • 工业互联网风向标

  • 在线咨询

西安/北京/南京/重庆/合肥/厦门/甘肃 地址:陕西省西安市雁塔区鱼跃工业园慧康生物科技产业园7楼 电话: 029-8838-6725

版权所有 @ 中服云 陕ICP备11002812号
  • 扫码咨询

    或

    点击立即咨询
  • 客服咨询

  • 用手机扫二维码

    或

    复制当前地址

  • 问题反馈 中服大讲堂 客服电话

方案库赚钱指南