• 首页

  • 方案库

  • 工业品库

  • 招标项目库

  • 专家库

  • 人才库

会员中心
搜索
登录
注册
  • 方案名称

解决方案

数字化转型通用方案行业方案安全方案大数据人工智能物联网行业展望自动控制其他

产品|技术

白皮书产品介绍技术介绍技术创新模型算法

政策|规范

政策规范行动计划

电子书

电子书课件

报告|论文

报告模板论文
  • 全部
  • 人气排行
  • 下载排行
  • 页数排行
  • 最新排行

简要JUC常识概念总结

临界区, 原子性、可见性、有序性, 同步异步, 并发并行, 死锁、饥饿、活锁

  • 2021-05-07
  • 阅读128
  • 下载0
  • 9页
  • docx

推荐系统解构

1、推荐概述;2、关键因素建模;3、推荐流程拆解;4、系统&全局生态。

  • 2021-05-07
  • 阅读125
  • 下载0
  • 11页
  • docx

用于自动软件供应的技术

描述了用于执行自动软件供应的技术。一种装置可以包括供应数据库、客户机供应模块和网络接.口。供应服务器可用于存储针对不同的分组电话设备的软件更新包。客户 机供应模块可用于响应于来自该分组电话设备的供应请求来自动供应分组电话设备。例如,客户机供应模块可以接收关于分组电话设备的设备配置信息,并基于该设备配置信息从供应数据库中取得软件更新包。网络接口可以代表客户机供应模块将软件更新包发送给分组电话设备。描述并要求 保护其他实施例。

  • 2021-05-07
  • 阅读154
  • 下载0
  • 23页
  • pdf

数字孪生白皮书

德勤:数字孪生是以数字化的形式对某一物理实体过去和目前的行为或流程进行动态呈现。 埃森哲:数字孪生是指物理产品在虚拟空间中的数字模型,包含了从产品构思到产品退市全生命周期的产品信息。 美国国防采办大学:数字孪生是充分利用物理模型、传感器更新、运行历史等数据,集成多学科、多物理量、多尺度、多概率的仿真过程,在虚拟空间中完成映射,从而反映相对应的实体装备的全生命周期过程。 密歇根大学:数字孪生是基于传感器所建立的某一物理实体的数字化模型,可模拟显示世界中的具体事物。

  • 2021-05-07
  • 阅读1539
  • 下载25
  • 12页
  • docx

一种基于虚拟化技术的潜在恶意软件分析方法及相关装置

本申请公开了--种基于虚拟化技术的潜在恶意软件分析方法及相关装置,该方法包括:当运行在虛拟化环境中的程序出现异常中断时,判断异常中断是否为挂钩异常中断;若是,则确定挂钩异常中断的异常行为类型;当异常行为类型为读写权限异常时,将挂钩异常中断对应的EPT项替换为正常代码页,以便对正常代码页进行完整性检查;当异常行为类型为执行异常时,根据挂钩代码页的目标函数执行对应的代理函数得到程序数据,以便根据程序数据进行恶意软件分析。通过挂钩异常中断的类型将正常代码页替换回挂钩代码页,以便通过完整性检查,当执行挂钩代码页对应的代理函数时获取到程序数据,在完整性检查下实现了恶意软件分析,提高了分析效率。

  • 2021-05-07
  • 阅读162
  • 下载0
  • 16页
  • pdf

BIM设计软件安全存储和流转追溯监控技术、系统及装置

本发明公开了一种BIM设计软件安全存储和流转追溯监控技术、系统及装置,通过在BIM软件中嵌入DES模块,用于监控用户的即时存储请求,发现存储请求后启动数据加密和存储能力,构建数据体,存储格式为cim ,利用cim格式中模型数据与参数数据隔离的原理,保证用户数据的安全性和用户后期流转过程中的追溯,负载均衡模块适用于处理并发请求,提高处理量速度,多级弹性存储服务基于关系型数据库与非关系型数据库,横向扩展出无限的存储能力的概念。

  • 2021-05-07
  • 阅读153
  • 下载0
  • 10页
  • pdf

针对用于检测恶意软件的深度强化学习技术的训练技术

用于训练基于强化学习模型来检测恶意软件的系统的技术。这样的已训练系统检测文件是恶意文件还是良性文件,并且确定在这种检测中停止文件执行的最佳时间。强化学习模型与事件分类器和文件分类器相结合可以学习到是在已观察到足够的状态信息之后停止执行,还是在需要更多事件来做出高置信的确定时继续执行。所公开的算法允许系统基于每个文件来决定何时停止。

  • 2021-05-07
  • 阅读154
  • 下载0
  • 31页
  • pdf

风电锁紧盘参数化设计软件的开发应用技术

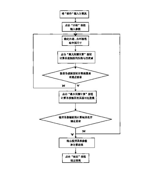
一种风电锁紧盘参数化设计软件的开发应用技术,属于风力发电机械设计技术领域,它是对《风电锁紧盘参数化设计软件》开发应用技术,其特征在于实施步骤为:①将软件装入计算机;②点击“开始”,进入计算界面,输入参数;③计算确定外环、内环圆锥结合面的尺寸;④点击“最大间隙计算”按钮,计算压强与过盈量;⑤审核最大间隙计算结果是否满足要求,如果不满足,返回步骤②修改参数再计算;⑥点击“最小间隙计算”按钮,计算压强与过盈量;⑦审核最小间隙计算的结果是否满足要求,如果不满足,返回步骤②修改参数再计算;⑧得到模型的具体参数和计算结果;⑨结束。本发明技术具有方便、快捷、准确的优点,并且提高锁紧盘的设计水平和可靠性。

  • 2021-05-07
  • 阅读150
  • 下载0
  • 11页
  • pdf
上一页 1 …… 20592060206120622063206420652066206720682069 …… 2191 下一页 共 17527 条


立即登录

没有账户,需要注册

登录用户可享受以下权益
  • 免费下载方案
  • 服币提现
  • 发布方案得服币
  • 交易分成

精品推荐

2025年车路云一体化系统云控基础平台功能场景参考架构报告2.0

汽车智能化网联化融合发展已经成为全球政府、产业界的发展共识,各国通过升级政策法规、推动测试示范、加速创新应用等方式推动智能网联汽车产业发展。2024年1月,我国启动智能网联汽车“车路云一体化”应用试点,推动车路云一体化从技术验证迈向规模化应用。

  • 阅读127
  • 下载2

2025年中国新锐品牌全球成长白皮书

过去十年,中国消费市场的高速迭代催生了一批极具活力的新锐品牌。它们凭借对消费趋 势的敏锐洞察、柔性灵活的供应链体系以及成熟的数字化运营能力,在国内细分市场中迅 速崛起,创造了一个又一个“爆款神话”。

  • 阅读109
  • 下载2

中服云多模态工业物联网平台介绍

中服云作为国内著名的专业工业物联网平台系列产品提供商,历经十余年深耕发展,已构建起成熟的全系列多层次产品体系,精准适配不同行业、不同规模用户的差异化需求。凭借在工业数据采集、边缘计算、人工智能、数字孪生等领域的深厚技术积累与持续创新,中服云已为海量工业企业提供了稳定可靠的数字化转型解决方案。平台支持云端SaaS在线部署与用户现场私有化部署两种模式,既满足中小企业轻量化、低成本的在线使用需求,也保障大型企业对数据安全、定制化服务的高标准要求。

  • 阅读118
  • 下载0

中服云工业物联网平台数字孪生版技术原理与功能介绍

中服云数字孪生平台以物联网平台+数据中台为坚实基础,以2D/3D/GIS为核心展示形式,致力于打造一个从设备原始数据到孪生应用落地的一站式数智化平台。

  • 阅读166
  • 下载5

最新上线

人工智能赋能教育高质量发展

从知识传授者到引导者:知识哪里获取、如何获取、如何应用AIGC技术使教师从传统的知识传授者转变为学习引导者,更多地关注学生的个性化学习需求。

  • 阅读28
  • 下载1

2025年度低空经济投资策略

市场担心十四五期间国内无人机采购费用增速不及预期。我们认为:无人机是未来战争关键环节,当前我国军用无人机装备处于起步阶段。我们预计十四五未期我国军用无人机采购费用有望快速增加。

  • 阅读36
  • 下载0

数字档案馆标准建设方案

XX数字档案馆项目实施的过程中,将涉及到档案馆多个职能部门、多个立档单位及参与项目建设的其他单位,档案馆应建立力量强大、耶责明晰的项目建设和管理杌构,确保项目实施过程中冬个环节之间能够有条不紊的协调工作,将项目实施风险控制在最低程度。

  • 阅读48
  • 下载0

智慧物流园区信息化趋势

区别于传统消防联网模式,在符合GB50440要求的同时,将互联网思维融入消防信息化管理,将离散在园区各个消防设施实时状态信息有效整合在统一系统上。

  • 阅读88
  • 下载0
  • 关于我们

    电话:029-8838-6725

  • 新闻资讯

    企业简介 新闻动态 品牌实力 代理合作 诚聘英才 联系我们

  • 中服云

  • 工业互联网风向标

  • 在线咨询

西安/北京/南京/重庆/合肥/厦门/甘肃 地址:陕西省西安市雁塔区鱼跃工业园慧康生物科技产业园7楼 电话: 029-8838-6725

版权所有 @ 中服云 陕ICP备11002812号
  • 扫码咨询

    或

    点击立即咨询
  • 客服咨询

  • 用手机扫二维码

    或

    复制当前地址

  • 问题反馈 中服大讲堂 客服电话

方案库赚钱指南